Kanlux EVALO EL Wall and Ceiling Lighting Fitting

Product Information
The EVALO EL is a lighting fixture designed for indoor use with a maximum power output of 10W. It is available in four different models: EVALO EL-1I, EVALO EL-2I, EVALO EL-3I, and EVALO EL-4O. The fixture has a GU10 socket and is compatible with PAR16 LED bulbs. It is designed with IP20 protection against solid objects larger than 12mm and has a rated voltage of 220-240V~ and a frequency of 50Hz.
Product Usage Instructions
Before using the EVALO EL lighting fixture, make sure that the installation space is free from harmful conditions such as dust, water, moisture, vibrations, explosive atmospheres, chemical fumes, etc.
The following symbols and labels are used in the product:
- P1: Rated voltage and frequency
- P2: Maximum power output of the light source
- P3: LED light source
- P4: Socket/flange
- P5: Product complies with European Union (EU) directive requirements
- P6: Protection against solid objects larger than 12mm
To install the EVALO EL lighting fixture, follow these steps:
- Turn off the power supply before installation.
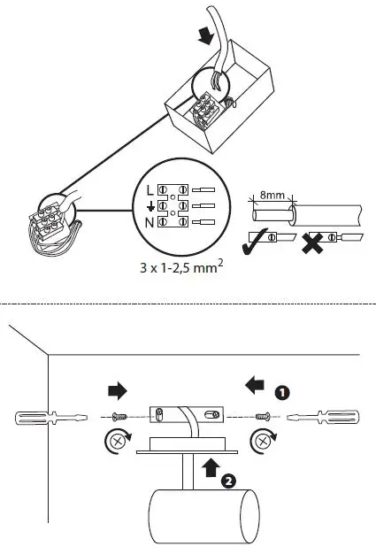
- Connect the fixture to the power supply using a 3 x 1-2.5mm2 cable.
- Insert the PAR16 LED bulb into the GU10 socket.
- Mount the fixture onto the desired surface using the flange.
- Turn on the power supply and test the fixture.
Refer to the user manual for more detailed instructions and safety information.
INTENDED USE/APPLICATION
Product designed to be used in the home and for other similar general applications.
MOUNTING
The product has a protective contact/terminal. Failure to connect the protective lead may lead to electric shock. Technical changes reserved. Read the manual before mounting. Mounting should be performed by an appropriately qualified person. Any activities to be done with disconnected power supply. Exercise particular caution. Mounting diagram: see pictures. Check for proper mechanical fastening and connection to electrical power prior to first use. The product can be connected to a supply network that meets energy quality standards as prescribed by law. Do not touch the lamp with bare hands. The product must be mounted out of reach.
FUNCTIONAL CHARACTERISTICS
Product for indoor use. Energy-efficient light sources can be used in this product.
USAGE GUIDELINES/MAINTENANCE
Any maintenance work must be performed when the power supply is cut off and the product has cooled down. Clean only with soft and dry cloths. Do not use chemical detergents. Do not cover the product. The product may heat up to a higher temperature. Adjustment of lighting direction and/or replacement of the light source must be done when the product has cooled down. The product must not be used in unfavorable conditions, e.g. dust, water, moisture, vibrations, explosive air atmosphere, fumes, or chemical fumes, etc.
EXPLANATIONS OF SYMBOLS USED

- P1: Rated voltage, and frequency.
- P2: Maximum power of the light source.
- P3: LED lamp.
- P4: Base/holder.
- P5: The product meets the requirements of EU directives.
- P6: Protection against solid foreign objects bigger than 12mm provided.
- P7: Class I. A product in which protection against electric shock is provided not only by means of basic insulation but also through additional safety measures, i.e. extra protective circuit to which a protective conductor of the fixed feeding installation needs to be connected.
- P8: Use only indoors.
- P9: The symbol describes the minimal distance of a light fixture (its light source) from the spots and objects that it’s illuminating.
- P10: Certificate of Conformity confirming the quality of production in accordance with approved standards on the territory of the Customs Union.
- P11: The product is compliant with all relevant United Kingdom regulations.
- P12: The product meets the requirements of technical regulations applicable in Ukraine.
INSTALLATION




ENVIRONMENTAL PROTECTION
Keep your environment clean. Segregation of post-packaging waste is recommended.
P13: This labeling indicates the requirement to selectively collect waste electronic and electrical equipment. Products labeled in this way must not be disposed of in the same way as other waste under the threat of a fine. These products may be harmful to the natural environment and health, and require a special form of recycling/neutralizing. Information on collection centers is provided by local authorities or sellers of such goods. Used items can also be returned to the seller when a new product is purchased, in quantity no larger than the purchased item of the same type. The above rules regard the EU area. In the case of other countries, regulations in force in a given country must be applied. Contacting the distributor of our products in a given area is recommended.
COMMENTS/GUIDELINES
Failure to follow these instructions may result in e.g. fire, burns, electrical shock, physical injury, and other material and non-material damage. For more information about Kanlux products visit www.kanlux.com. Kanlux SA shall not be responsible for any damage resulting from the failure to follow these instructions. Kanlux SA reserves the right to make changes in the manual – the current version can be downloaded at www.kanlux.com.


















