episode Radiance Outdoor Audio and Lighting 
Product Information
The Episode Radiance is a speaker and light system that provides high-quality audio and lighting for outdoor spaces. The system includes Radiance speakers, Radiance subwoofers, and Radiance lights that must be used with a 70V amplifier and wired in parallel. The system also includes a Light Transformer, MB1, DSP, and Bridge Amplifier. The MB1 has a total audio load rating of 500W and a total lighting load rating of 300W. The system uses burial-rated wire for all outdoor installations and requires users to leave at least 100W of headroom for the audio load rating and at least 60W of headroom for the lighting load rating.
Product Usage Instructions
Installation Guide
To install the Episode Radiance system, follow these steps:
- Install at least one 8 Radiance subwoofer for optimal audio quality.
- Wire the system according to the System Wiring Overview diagram provided in the user manual.
- Use the Tap Setting Speaker Qty. chart to determine the total watts needed for your system, and plan to leave at least 100W of headroom for the audio load rating.
- Use the Light Setting chart to determine the total watts needed for your system, and plan to leave at least 60W of headroom for the
lighting load rating. - Choose the correct wire gauge based on the distance between components.
- Set the speaker tap settings on the bottom of the device to 2, 4, 8, or 16W.
- Set the light settings using the switch on the bottom of the device to choose between Ring light, Both, or Spot light options.
- Assemble the system by placing the Radiance speakers, lights, and mounts together using the connection method described in the
user manual. - Mount the Radiance products to the surface or wall using the appropriate mount.
Caution
Do not install Radiance devices next to sprinklers.
Introduction to Episode Radiance
The Episode Radiance system combines audio and lighting onto a single two-conductor wire using the MB1. Designed for use with a standard DSP amplifier and low voltage light transformer, the Episode Radiance system delivers exceptional audio and lighting performance in a single system through simplified wiring, thanks to ACE technology by SWARM technology. Using a DSP amplifier like the Episode Hybrid Amplifier with built in presets allows for EQ optimization specific to Radiance speakers and the accompanying 8Ω subwoofer.
Pro Tip: Always install at least one 8Ω Radiance subwoofer so the audio quality really shines!

Example of Radiance speakers and light placement around a back yard.
System Wiring Overview

70V Wiring for Speakers and Lights
All Radiance speakers and lights must be used with a 70V amplifier and wired in parallel.
Note: The subwoofer is 8Ω, and not included in this calculation. Use burial-rated wire for all outdoor installations. The MB1 has a total audio load rating of 500W. Plan to leave at least 100W of headroom.

| Tap Setting |
| 2W |
| 4W |
| 8W |
| 16W |
| 20% Headroom |
| Total |
Calculating Low-Voltage Lighting Power
The chart to the right shows the available light switch settings. Use this chart to calculate the total load being used. The total number of connected lights is determined by the light transformer’s power. As the number of lights increases, the available power decreases. The MB1 has a total lighting load rating of 300W. Plan to leave at least 60W of headroom.
Light
Setting Light Qty. Total Watts
- Spot Light (6W)
- Ring Light (6W)
- Both (12W)
- 20% Headroom
- Total
Caution: Leave 20% headroom, using only 80% of the rated power of the amplifier and light transformer to reduce strain on the equipment and avoid unwanted compression.
Choosing the correct wire gauge
40ft 80ft 120ft 160ft 200ft 240ft
- 40W 14-gauge 14-gauge 14-gauge 14-gauge 14-gauge 14-gauge
- 80W 14-gauge 14-gauge 14-gauge 12-gauge 12-gauge 10-gauge
- 120W 14-gauge 14-gauge 12-gauge 10-gauge 10-gauge 8-gauge
- 160W 14-gauge 12-gauge 10-gauge 8-gauge 8-gauge n/a
- 200W 12-gauge 10-gauge 8-gauge n/a n/a n/a
- 240W 10-gauge 8-gauge n/a n/a n/a n/a
Speaker Tap Settings

The speaker’s tap settings are on the bottom of the device. The speakers are 70V only, and can be set to 2, 4, 8, or 16W.
Light SETTING
Use the switch on the bottom to set the light.

ASSEMBLY
All Radiance speakers, lights, and mounts use the same connection method, providing the ability to use any Radiance mount with any Radiance light or speaker.
To make a connection, place the speaker or light into the mount and turn the device clockwise.
To remove a device from a connection, push down and turn the device counterclockwise. The speaker cap is removable and provides a connection point for a light to add further flexibility.

Speaker and Light Mounting
Radiance products have an IP66 weather rating. Mounts include carefully planned drainage holes.
Caution: Do not install Radiance devices next to sprinklers.
Surface Mount

Connect the 70V wire run to the mount’s pigtail using the included silicon wire nuts. Attach the mount to the surface.

- Set speaker tap and/or light settings, located on the bottom of the device.
- Attach the speaker to the mount.
Wall Mount
ES-RAD-MNT-WALL
- Connect the 70V wire run to the mount’s pigtail using the included silicon wire nuts.
- Attach the mount to the surface.

- Set speaker tap and/or light settings, located on the bottom of the device.
- Attach the speaker to the mount.
Stake Mount
ES-RAD-MNT-STAKE

- Using a rubber mallet, hammer the stake into place
- using the included cap with built-in bubble level.
- Connect the 70V wire run to the mount’s pigtail using the included silicon wire nuts.
- Set speaker tap and/or light settings, located on the bottom of the device.
- Attach the speaker to the mount.
Pendant Mount
ES-RAD-MNT-PND

- Attach the bracket to a junction box or flat to the ceiling.
- Slide the ceiling plate, collet nut, and lock nut over the mount cable. Make sure the threaded sides of the collet and lock nut face the ceiling plate.
- Pull the cable through the bracket so the mount hangs at the desired height.

- Loop the cable under the clip, then swing the latch closed to secure the mount’s height. Screw it into place by hand. Do not use a power drill.
- Connect 70V wire run to the mount’s pigtail using the included silicon wire nuts.
- Attach the silver hanger cable to a secondary mounting point for extra support.

- Slide the plate into place to cover the bracket and any extraneous cable. Use the lock nut to secure the plate.
- Set speaker tap and/or light settings.
- Attach the speaker to the mount
Subwoofer Wiring
Connect the subwoofer to the 8Ω output of the amplifier. Use burial-rated wire for all outdoor installations. Maximum performance can be achieved using the following recommendations:
- For wire runs up to 30 meters (100 feet), 16-gauge wire or larger.
- For wire runs up to 60 meters (200 feet), 14-gauge wire or larger.
- For wire runs up to 90 meters (300 feet), 12-gauge wire or larger.

Pro Tip: Using smaller wire gauges reduces overall performance. The chart below shows the wire length and the amount of signal loss you can expect on a wire run.

Subwoofer Mounting
ES-RAD-SUB

Connect the subwoofer to the amplifier’s 8Ω output. Bolt the subwoofer to a surface, or bury it, leaving two inches between the ground and grille.
MB1
The MB1 is a passive device that combines the signal from a lighting transformer and amplifier along a single wire to carry both signals to Radiance speakers and lights.

- FUSE SET — Button pops out during an over-current event. Press the button back in to reset the fuse.
- INPUT: LIGHT POWER — Wire terminal for the light transformer input.
- INPUT: AUDIO 70V — Wire terminal for the 70V DSP amplifier input.
- OUTPUT — Wire terminal for the 70V wire run to Radiance speakers and lights.
- LIGHT ACTIVE LED — Illuminates when the MB1 senses a signal on the LIGHT POWER input.
- AUDIO ACTIVE LED — Illuminates when the MB1 senses a signal on the AUDIO 70V input.
- FAULT ERROR LED — Illuminates when the MB1 experiences an over-current event, or the temperature is too hot.
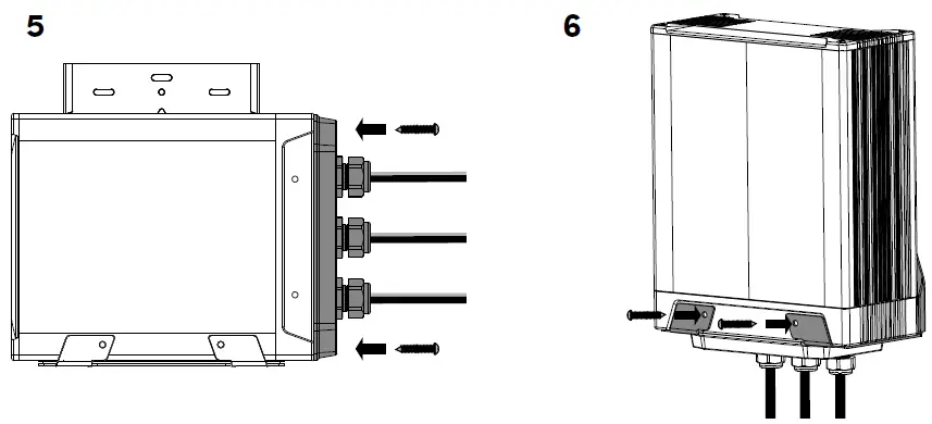
Mounting
Place the MB1 into the mount, sideways, to hold it in place as you connect the wires.
Connections
Caution: Verify the light transformer and amplifier are powered off when making connections.
Loosen the gland nuts to pull the wire through the MB1’s water-tight cap before connecting the amplifier, light transformer, and Radiance wire run.
- Connect the low-voltage lighting transformer to the LIGHT POWER input.
- Connect the 70V DSP amplifier signal to the AUDIO 70V input.
- Connect your Radiance device wire run to the OUTPUT.

Pro Tip: For the best results, use the lighting transformer’s tap setting with the highest output. No less than 12V and no more than 15V. The higher the voltage, the less heat is generated and the more efficient the Radiance system performs.

- Slide the MB1 cap into place, tighten the gland nuts, then tighten the screws by hand.
- Rotate the MB1 so it stands vertically in the mount, allowing the wires to hang down. Screw the MB1 into the mount by hand.
Limitations
- The MB1 has a maximum audio load rating of 500W. Plan for 400W to allow for 20% headroom.
- The MB1 has a maximum lighting load rating of 300W. Plan for 240W to allow for 20% headroom.
- The MB1 is only compatible with Radiance lights and speakers.
- Radiance lights cannot be dimmed.
- Radiance lights do not support color modifications.
DSP Settings
A DSP amplifier must be used for the Radiance system to work as intended. DSP settings for the Episode Hybrid amplifier can be found on the support tab of SnapAV.com.
Troubleshooting
Symptom : Troubleshooting
- Lighting transformer and amplifier have power, but the Radiance system isn’t illuminating or playing audio. : Possible surge event. Press the circuit breaker button on the MB1.
- No audio. : Verify the AUDIO ACTIVE LED is illuminated. If it isn’t, verify the amplifier is powered on.
- No lights. : Verify the LIGHT ACTIVE LED is illuminated. If it isn’t, verify the light transformer is powered on and working properly.
Technical Support
For chat and telephone, visit snp1.co/techsupport
Email: [email protected] Visit snp1.co/tc for discussions, instructional videos, news, and more.
Warranty and Legal Notices
Find details of the product’s Limited Warranty and other safety, patent, and legal resources at snapone.com/legal or request a paper copy from Customer Service at 866.424.4489. Copyright ©2022, Snap One, LLC. All rights reserved. Snap One and its respective logos are registered trademarks or trademarks of Snap One, LLC (formerly known as Wirepath Home Systems, LLC), in the United States and/or other countries. 4Store, 4Sight, Control4, Control4 My Home, Snap AV, and Episode are also registered trademarks or trademarks of Snap One, LLC. Other names and brands may be claimed as the property of their respective owners. Snap One makes no claim that the information contained herein covers all installation scenarios and contingencies, or product use risks. Information within this specification subject to change without notice.




















