MAXIM LIGHTING 46440004 CounterMax MX-L-120-3K Basic 2700-4000K LED Under Cabinet

Please consult a qualified electrician for hanging fixture and wiring.
Before Getting Started
- Read the instructions carefully prior to assembling the product.
- When you open the package with a sharp tool like a cutter knife, be careful not to damage the components inside.
- Carefully remove all packaging materials and retain for future use.
- Keep all hardware parts and packaging out of reach of small children.
- Choose a clean, level, spacious assembly area. Avoid hard surfaces that may damage the product.
- Ensure that you have all required contents for complete assembly.
- Take care when lifting. Assemble the product in close proximity to where you intend to position the item.
- Do not over tighten the screws and bolts as this may damage the threads.
- Do not let children play with this product.
⚠ Risk of suffocation!
Keep anypackaging materials away from children.
Lamp Care Instructions
- Carefully read through the instruction sheet before assembly and using the product.
- Caution there is a risk of shock. Disconnect from power source before assembling or cleaning.
- Switch off, unplug and allow bulb to cool before replacing bulb or cleaning.
- Only use the recommended bulb type and do not exceed the maximum wattage as it could cause fire.
- Do not plug the product in if cord is torn or frayed
Cleaning & Maintenance
- On polished finishes, often using talc powder reduces the appearance of fingerprints and other smudges.
- For respective shade surfaces, use the appropriate cleansers, i.e. glass cleaner, acrylic polish, and wood polish.
- Clean with soft cloth and a mild detergent. DO not use abrasive cleaner.
- Periodically (every 90 days) make sure that the screws are fully tightened.
- Prolonged exposure to heat sources may cause glazing, melting and scorching, or even cause color to fade
Packga Contents
A |
| x1 |
B |
| x1 |
C |
| x2 |
D |
| x1 |
- Fix the fixture to the unit using 2 fixing screws

- Connect the multiple fixtures by snapping the End to End Connetcor or Jumper Connector.

- Finally wire the power cord to 120v mains supply.

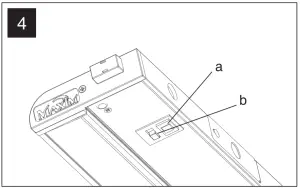
- By flipping the switch (a) select between one of the 3 modes (Lo, Off, Hi ).
Switch (b) is used to change the color temperature of light delivered 2700K, 3000K & 4000K CCT respectively.
Hardwire Installation
- Remove the kock-out by hammering

- Disengage adapter plate by loosening screw.

- Insert romex connector into the housing open hole on the adapter plate. Secure it with the nut.

- Pull 3 wires out of the fixture to allow connection to the branch circuit.
Inserting wires into the open hole in the push-in wire connector
- Connect the Green ground input supply wire to the fixture Green ground wire.
Connect the White input supply wire to the fixture White wire.
Connect the Black input supply wire to the fixture Black wire.
**Do not mix wires or change polarity
- Feed wires back into fixture, reattach adapter plate tighten screw, and attach the fixture to the base of the cabinet, with screws

Romex Connection Ki
SCREW
LINKING CABLES (SOLD SEPERATELY)



















