ROKSAN MA120201 Integrated Amplifier User Manual

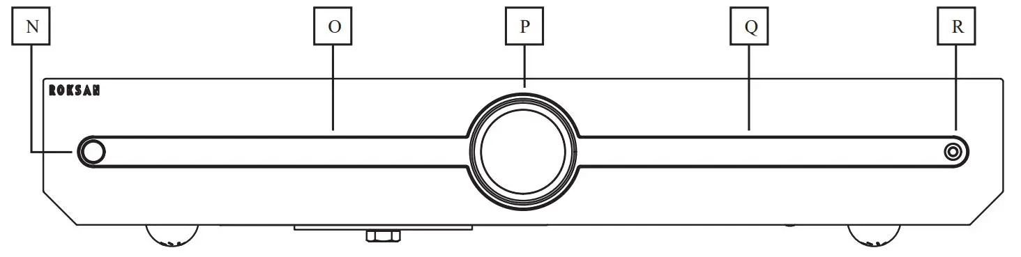
FRONT CONTROLS

- Power Button
Used to wake the amp from standby and return it to standby when not in use.
LED’s will illuminate different colours to show different status. - Screen
This displays the input. The selected input will be displayed on the screen. When changing inputs, all other inputs will illuminate as they are scrolled through. - Volume / Input Selection Dial
This dial will adjust the volume, or when pressed and held will scroll through the inputs depending on the direction the dial is turned. - Volume LED’s
These will illuminate showing the volume level of the amp. When at max volume level the haptics will vibrate and the volume bar will flash. When at minimum volume level the haptics will vibrate and the Mute icon will be displayed. - Headphone Jack
3.5mm jack for connecting headphones. The speaker output will mute along with the preamp outputs.
REAR CONNECTIONS

- Loudspeaker Outputs
Connect loudspeaker cables to these connections. Positive to positive and negative to negative - Turntable Grounding Post
Used to ground the tone arm attached to the turntable - Phono Input
Connect the output from the turn table to the Attessa Streaming Amplifier - Analogue 1 Input
Connect and analogue source - Analogue 2 Input (music sense)
Connect a second analogue input. WHAT IS MUSIC SENSE?? - Pre-Out/ Subwoofer
Connect to a power amplifier or subwoofer. - Coax/Optical SPDIF Inputs
Connect digital sources by eaither coaxial or optical connection - 12V Trigger Input/Output
Used to connect a 12v trigger input and output to control (output) or be controlled (input) using the 12v trigger. - IR In
- AC Power Socket
Connect using the supplied mains cable. Fuse also located here in drawer.
REMOTE

Remote feedback: All actions have the remote LED flash on and off.
OLED DISPLAY
The inputs available on the amp are scrolled through using the encoder or remote and are displayed using the following default icons:
SET UP OPERATION
- Standby
A single press of the power button or single press of the standby/power button on the remote and RGB LED goes solid red. - Power
A single press of the power button or single press of the standby/power button on the remote and RGB LED goes a solid orange colour. - Load/warm up phase
Roksan logo to appear when product goes into power mode. - BLE pairing mode:
During set up mode via the app the BLE passkey appears on the screen.
VOLUME CONTROL
Controls
- Rotary dial
- Remote
Process & Indicators
- Incremental increase: clockwise turn of rotary dial or single press of remote + button. LED strip will illuminate more coloured bars.
- Incremental decrease: anti-clockwise turn of rotary dial or single press of remote – button. Illuminated LED bars will reduce.
- Muting: A single press of the ‘mute’ button on the remote or incremental rotation until the step 0.
- Unmuting: A single press of the ‘mute’ button on the remote. Incremental increase of volume can be used to unmute. LED bar will return to previous volume state
- Volume maximum: When all LED bars are illuminated.
- Headphones connected: mutes attached speakers; volume output goes to ‘safe’ headphone level. LED strip display changes to new volume level.

INPUT SELECTION
Controls
- Rotary dial
- Remote
Process & Indicators
- Selecting input: Rotary dial is pressed and held while user rotates either clockwise & anti-clockwise when selecting. When using the remote the input arrow buttons change the input. OLED will highlight the icon for that selected input.
- Connected to input: OLED will display a solid icon for the selected input.
- Bluetooth pairing:
- Bluetooth disconnected: OLED will display disconnected status.
TRACK FUNCTIONS
Applicable for Bluetooth Input only
Control
- Manual buttons
- Remote
Process & Indicators
Track functions are only applicable for the Bluetooth input.
- Pause:
a single press of the play/pause button (remote or manual button) and the dual LED’s to flash on. - Play:
a single press of the play/pause button (remote or manual button) and the dual LED’s to flash on. - Stop state:
a single press of the SOC button to access the stop state or a single press of the stop button on the remote.
OLED to show the stop icon. - Track forward:
a single press of the track forward button (remote or manual button) and the right dual LED to flash on. - Track restart:
a single press of the track back button (remote or manual button) and the left dual LED to flash on. - Track back:
a double press of the track back button (remote or manual button) and the left dual LED to flash on. - Seek forward:
holding of the track forward button and right dual LED to be on for duration of command. - Seek back:
holding of the track back button and left dual LED to be on for duration of command. - Shuffle:
single press of SRR remote button. OLED to display shuffle icon. - Repeat all:
double press of SRR remote button. OLED to display repeat all icon. - Repeat once:
triple press of SRR remote button. OLED to display repeat once icon.
Note: If the first action is to press track forward or track back this will automatically complete the function and then play the track all in one step.
OLED DISPLAY LIFE EXTENSION
This is controlled using the remote control
Process & Indicators
- Display On/Off:
a single press of the disp. button on the remote. - Display saver mode:
no command for 30 seconds, icons to appear dimmer on the OLED. - Display inactive:
no command after 60 seconds, the OLED will clear all of icons. - Display active:
a single press of any command will bring icons back to full brightness, this single press does not change the current state of the CD transport.
SPECIFICATIONS
Power Amplifier
Power output into 8 Ohm: 75 WRMS, Both Channels Driven THD+N <0.1%
Power output into 4 Ohm: 150 WRMS Single Channel Driven THD+N<0.1%
THD+N: <0.01% (1 kHz, 2 channels, 1 W @ 8 Ohms)
Amplifier Type: Class AB
Gain: 29 dB
Channel Separation: > 90 dB @ 1 kHz & > 60 dB @ 10 kHz
Channel Matching: Better than 0.5 dB
Signal to Noise Ratio: 90 dB
Frequency Response: 10 Hz to 50 kHz (-3 dB)
Mains transformer rating: 250 VA
Pre-Amplifier
Volume Channel Matching: Better than 0.25 dB
THD+N: 0.002% (1 kHz, 2 Vrms at Pre-Out)
Signal to Noise Ratio: 100 dB
RIAA: 47k/56p loading; gain settings suitable for 12 mV, 6 mV, 3 mV output cartridges
Bluetooth
Bluetooth: A2DP Audio profile
Bluetooth Codecs: SBC, aptX & AAC
Bluetooth Range: 15m (typ.)
Digital Inputs
Digital Coax Input: up to 24 bit/192 kHz
Digital Optical Input: up to 24 bit / 96 kHz
DAC
Format Support: PCM
Sampling Rate: up to 192 kHz/24 bit
THD+N: 0.001% (1 kHz, 2 Vrms at Pre-Out)
Signal to Noise Ratio: 106 dB (A-Wtg)


Designed and built in Great Britain.
Roksan.com
[email protected]
Version 1. 2020
Roksan
24 Brook Road,
Rayleigh, Essex
SS6 7XJ, UK
+44 (0)1268 798900
[email protected]
roksan.com
SET UP OPERATION

















