tibuta E100 MasterPad 10.1 Inch WiFi Tablet User Manual
Important safety instructions
- This equipment should be used in an environment where the ambient tempera-ture is between 5 ° C (41 °F) and 35 ° C (95 ° F).
- Do not expose the unit to rain or moisture and keep it away from liquids. In case of splashing water or other liquid on the device, switch off the device immediate-ly and wait for it to be completely dry before turning it on again.
- Do not expose the device to direct sunlight
- Do not use strong solvents, liquid detergents, or other chemicals on or near the surface of the machine to prevent corrosion or damage to the surface of the machine.
- Do not expose the unit to a dusty environment.
- Do not use the appliance during a gas leak. Do not expose the unit to strong magnetic or electric fields.
- You can route the device to airport X-ray detectors. However, it is recommended that you do not route your device through magnetic sensing gantries or expose it to portable detectors.
- Do not place objects on the device.
- Do not place the device on an uneven or unstable surface.
- Be sure to protect the device from falling or other shock that may damage it.
- Do not leave the device on or in charge on the knees or other body parts to avoid the risk of heat-related injury.
- Switch off the appliance before transporting it or covering it with a material that does not allow for optimal air circulation.
- Do not use power cords, accessories, or other damaged devices with your device. We recommend the exclusive use of accessories (power supply, cables …) supplied with the device.
- Use only original batteries. Replacing the battery with an incorrect battery may result in a risk of explosion
- Do not disassemble, modify, or repair the unit yourself, as this may void the warranty.
- Please save your important content regularly to avoid data loss.
- Our company rejects any resposability in the event of loss or deletion of items contained in the device due to improper use of the hardware or software, lack of maintenance or any other accidental event.
WARNING
NOTICE
RISK OF ELECTRIC SHOCK. DO NOT OPEN
CAUTON:TO AVOID THE RISK OF FIRE AND SHOCK ELECTRICAL, DO NOT REMOVE COVER OR HOOD BACK OF PRODUCT. IF THE UNIT MUST BE REPAIRED, ADDRESS EXCLUSIVELY QUALIFIED PERSONNEL
The lightning flash with arrowhead symbol within an equilateral triangle is intended to alert the user to the presence of an uninsulated “dangerous test” inside the product which is of sufficient magnitude to constitute a risk of electric shock.
In the documentation supplied with the device, the exclamation point within an equilateral triangle is intended to alert the user to the presence of important instructions regarding use and maintenance.
At full volume, prolonged listening to the portable audio device can damage the user’s hearing.
Legal notice and copyright notice
This product has been manufactured and sold under the responsibility of TIBUTA.
All other trademarks and logos are property of their respective owners. Made in RPC
FCC Statement
FCC ID:2AXUI-E100
This device complies with Part 15 of the FCC Rules. Operation is subject to the following two conditions:
(1) this device may not cause harmful interference, and (2) this device must accept any interference received, including interference that may cause undesired operation.
changes or modifications not expressly approved by the party responsible for compliance could void the user’s authority to operate the equipment.
NOTE: This equipment has been tested and found to comply with the limits for a Class B digital device, pursuant to Part 15 of the FCC Rules. These limits are designed to provide reasonable protection against harmful interference in a residential installation. This equipment generates, uses and can radiate radio frequency energy and, if not installed and used in accordance with the instructions, may cause harmful interference to radio communications. However, there is no guarantee that interference will not occur in a particular installation.
If this equipment does cause harmful interference to radio or television reception, which can be determined by turning the equipment off and on, the user is encouraged to try to correct the interference by one or more of the following measures:
- Reorient or relocate the receiving antenna.
- Increase the separation between the equipment and receiver.
- Connect the equipment into an outlet on a circuit different from that to which the receiver is connected.
- Consult the dealer or an experienced radio/TV technician for help.
Package contents


- 1 x Tablet TIBUTA
- 1 x charger
- 1 x documentation kit
- 1 x USB
Presentation of the Device


Getting started
Charge the battery of your device
- Connect the AC adapter to a grounded electrical outlet.
Note: Charge your TIBUTA device before using it for the first time.
WARNING!
Read the following instructions carefully about the battery of your TIBUTA device:
- Only a technician authorized by TIBUTA is allowed to remove and handle the battery
- The battery in your TIBUTA device may present a fire or burn hazard if removed or disassembled
- Respect the information on the warning labels of the device to avoid any risk of injury
- There is a risk of explosion if the battery is replaced by an incorrect model
- Do not dispose of the battery in a fire
- Do not attempt to short-circuit the TIBUTA battery.
- Do not attempt to disassemble the battery or reassemble the battery
- Stop using the battery if it is leaking
- The battery and its components must be recycled or disposed of properly.
- Keep the battery and its components out of reach of children
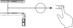
Turn on /turn off your device
Turn on your device by pressing and holding the power button.

Turn off your device:
- Open the Start menu
- Press the Stop button.
WARRANTY CARD
Model Nme: MasterPad E 100
Product Serieal No:_________________IMEI NO./MEID NO.___________
Date of purchase : dd_______ mm_________ yy________
Customers Details
Name_______________________________________________
Address in full ____________________________________________
Telephone No______________________________________________
Dealer Name& ____________________________________________
Customer Signature & Date:




















