Nylex Digital Weather station PRO User Manual

OVERVIEW

LCD Monitor
- SNOOZE / LIGHT button
- HISTORY button
- MAX/MIN button
- RAINFALL button
- BARO button
- WIND button
- INDEX button
- CLOCK button
- ALARM button
- ALERT button
- DOWN button
- UP button
- °C/°F slide switch
- SCAN button
- RESET button
- Battery compartment
- Alert LED indicator
- LCD display with backlight
- Table stand
Wireless Sensor

- Rain collector
- Balance indicator
- Antenna
- Wind cups
- Mounting pole
- Radiation shield
- Wind vane
- Mounting base
- Mounting claim
- Red LED indicator
- RESET button
- Battery door
- Screws
Rain gauge

- Rain collector
- Tipping bucket
- Rain sensor
- Drain holes
Temperature and humidity sensor

- Radiation shield
- Sensor casing (Temperature and humidity sensor)
Wind sensor

- Wind cups (anemometer)
- Wind vane
LCD MONITOR
Normal time and calendar / Moon phase

- Max/Min/Previous indicator
- Low battery indicator for main unit
- Time
- Ice pre-alert on
- Moon phase
- Day of the week
- Alarm icon
- Date
- Month
Indoor temperature and humidity

- Comfort/cold/hot icon
- Indoor indicator
- Indoor humidity
- Hi / Lo Alert and Alarm
- Indoor temperature
Outdoor temperature and humidity

- Outdoor signal strength indicator
- Outdoor indicator
- Outdoor humidity
- Hi / Lo Alert and Alarm
- Outdoor temperature
- Low battery indicator for sensor
12+ Hour forecast

- Weather forecast indicator
- Weather forecast icon
Barometer

- Barometer indicator
- Histogram
- Absolute/Relative indicator
- Barometer measurement unit (HPA / inHg / mmHg)
- Barometer reading
- Hourly records indicator
Rainfall

- Rainfall indicator
- Time range record indicator
- Day records indicator
- Histogram
- Hi Alert and Alarm
- Current rainfall rate
- Rainfall unit (in / mm)
Wind direction/Wind speed

- Wind direction indicator
- Wind direction indicator(s) during last hour
- Current wind direction indicator
- Wind speed indicator
- Wind levels and indicator
- Beaufort scale reading
- Current wind direction reading
- Average/Gust wind indicator
- Wind speed unit (mph / m/s / km/h / knot)
- Hi Alert and Alarm
Wind chill/ Heat index/ Indoor dewpoint

- Wind chill/ Heat index/ Indoor dewpoint indicator
- Wind chill/ Heat index/ Indoor dewpoint reading
INSTALLATION
Wireless Sensor
Your wireless sensor measures wind-speed, wind-direction, rainfall, temperature and humidity for you. It’s fully assembled and calibrated for your easy installation.
Battery and installation

Unscrew the battery door at bottom of unit and insert the batteries according to the “+/-“polarity indicated. Screw the battery door compartment on tightly.
Note:
- Ensure the water tight O-ring is properly aligned in place to ensure water resistant.
- The red LED will begin flashing every 12 seconds.
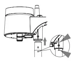
ASSEMBLE THE STAND AND POLE
Step 1

Insert the top side of the pole to the square hole of the weather sensor.
Note: Ensure the pole and sensor’s indicator align.
Step 2

Place the nut in the hexagon hole on the sensor, then insert the screw in other side and tighten it by the screw driver.
Step 3

Insert the other side of the pole to the square hole of the plastic stand. Note: Ensure the pole and stand’s indicator align.
Step 4

Place the nut in the hexagon hole of the stand, then insert the screw in other side and then tighten it by the screw driver.
Install the wireless sensor in an open location with no obstructions above and around the sensor for accurate rain and wind measurement. Install the sensor with the smaller end facing the North to properly orient the wind direction vane (or south if located in the Southern Hemisphere). Secure the mounting stand and bracket (included) to a post or pole, and allow minimum 1.5m off the ground.

Mounting guidelines:
- Install the wireless sensor at least 1.5m off the ground for better and more accurate wind measurements.
- Choose an open area within 150 meters from the LCD display Main Unit.
- Install the wireless sensor as level as possible to achieve accurate rain and wind measurements. A bubble level device is provided to ensure a level installation.
- Mount the wireless sensor with the wind meter end pointing to the North to correctly orient direction of the wind vane (or South if located in the Southern Hemisphere).

LCD MONITOR
Stand and batteries installation
The unit is designed for desktop or wall mount for easy viewing.

- Remove the battery door of the main unit.
- Insert 3 new AA size batteries according to the “+/-” polarity mark on the battery compartment.
- Replace the battery door.
- Once the batteries are inserted, all the segments of the LCD will be shown briefly.
Note:
1. If no display appears on the LCD after inserting the batteries, press the RESET button by using a pointed object.
Pairing of Wireless Sensor with LCD Monitor
After insertion of batteries, the Display Main Unit will automatically search and connect the wireless 5-in-1 sensor (antenna blinking). Once the connection is successful, antenna mark and readings for outdoor temperature, humidity, wind speed, wind direction, and rainfall will appear on the display.
Changing batteries and manual pairing of sensor
Whenever you changed the batteries of the wireless 5-in-1 sensor, pairing must be done manually.
- Change the batteries to new ones.
- Press and hold the [SCAN] button for 2 seconds.
- Press the [RESET] button on the sensor.
Note:
1. Pressing [RESET] button at bottom of wireless 5-in-1 sensor will generate a new code for pairing purpose.
2. Always dispose old batteries in an environmental safe manner.
To manually set the clock
- Press and hold [ CLOCK] button for 2 seconds until “12 or 24Hr” flashes.
- Use [UP]/[DOWN] button to adjust, and press [CLOCK] button to proceed to the next setting.
- Repeat 2 above for setting of HOUR, MINUTE, SECOND, YEAR, MONTH, DATE, HOUR OFFSET, LANGUAGE and DST.
Note:
- The unit will automatically exit setting mode if no button was pressed in 60 seconds.
- Range of hour offset is between -23 and +23 hours.
- The language options are English (EN), French (FR), German (DE), Spanish (ES), and Italian (IT).
- For above mentioned “DST” setting, the actual product does not have this feature, as it is Non-RC version.
To turn on/off alarm clock (with ice-alert function)
- Press the [ALARM] button anytime to show the alarm time.
- Press [ALARM] button to activate the alarm.
- Press again to activate alarm with ice-alert function.
- To disable the alarm, press until the alarm icon disappears.

To set the alarm time
- Press and hold [ALARM] button for 2 seconds to enter alarm setting mode. HOUR will begin to flash.
- Use [UP]/[DOWN] button to adjust HOUR, and press [ALARM] button to proceed to set MINUTE.
- Repeat 2 above to set MINUTE, then press [ALARM] button to exit.
Note: Pressing the [ALARM] button twice when alarm time is being displayed will activate the temperature-adjusted pre-alarm. The alarm will sound 30 minutes earlier if it detects outside temperature is below -3°C.
WEATHER FORECAST
The device contains sensitive pressure sensor built-in with sophisticated and proven software that predicts weather for the next 12 ~ 24 hours within a 30 to 50km (19-31 miles) radius.

Note:
- The accuracy of a general pressure-based weather forecast is about 70% to 75%.
- The weather forecast is meant for the next 12 hours, it may not necessarily reflect the current situation.
- The “Snowy” weather forecast is not based on the atmospheric pressure, but based on the outdoor temperature. When the outdoor temperature is below -3°C (26°F), the “Snowy” weather indicator will be displayed on the LCD.
BAROMETRIC / ATMOSPHERIC PRESSURE
Atmospheric Pressure is the pressure at any location of the Earth caused by the weight of the column of air above it. One atmospheric pressure refers to the average pressure and gradually decreases as altitude increases. Meteorologists use barometers to measure atmospheric pressure. Since variation in atmospheric pressure greatly affected by weather, it is possible to forecast the weather by measuring the changes in pressure.
To select the display mode:
Press and hold [BARO] button for 2 seconds to toggle between:
- ABSOLUTE the absolute atmospheric pressure of your location
- RELATIVE the relative atmospheric pressure based on the sea level
To set relative atmospheric pressure value:
- Get the atmospheric pressure data of the sea level (it is also the relative atmospheric pressure data of your home area) through the local weather service, internet and other channels.
- Press and hold [BARO] button for 2 seconds until “ABSOLUTE” or “RELATIVE” icon flashes.
- Press [UP]/[DOWN] button to switch to “RELATIVE” mode.
- Press [BARO] button once again until the “RELATIVE” atmospheric pressure digit flashes.
- Press [UP]/[DOWN] button to change its value.
- Press [BARO] button to save and exit the setting mode.
Note:
- The default relative atmospheric pressure value is 1013 MB/HPA (29.91 inHg), which refers to the average atmospheric pressure.
- When you change the relative atmospheric pressure value, the weather indicators will change along with it.
- The built-in barometer can notice the environmental absolute atmospheric pressure changes. Based on the data collected, it can predict the weather conditions in the forthcoming 12 hours. Therefore, the weather indicators will change according to detected absolute atmospheric pressure after you operate the clock for 1 hour.
- The relative atmospheric pressure is based on the sea level, but it will change with the absolute atmospheric pressure Chan after operating the clock for 1 hour.
To select the measurement unit for the barometer:
- Press the [BARO] button to enter unit setting mode.
- Use the [BARO] button to change the unit between inHg (inches of mercury) / mmHg (millimeter of mercury) / MB (millibars per hectopascal) /HPA. 3
- Press [BARO] button to confirm.
RAINFALL
To select the rainfall display mode:
The device displays how many mm / inches of rain are accumulated in a one hour time period, based on current rainfall rate.
Press [RAINFALL] button to toggle between:
- RATE — Current rainfall rate in past an hour
- DAILY — The DAILY display indicate the total rainfall from midnight
- WEEKLY — The WEEKLY display indicate the total rainfall from the current week
- MONTHLY — The MONTHLY display indicate the total rainfall from the current calendar month

Note: Rain rate is updated every 6 minutes, at every hour on the hour, and at 6, 12, 18, 24, 30, 36, 42, 48, 54 minute past the hour.
To select the measurement unit for the rainfall:
- Press and hold [RAINFALL] button 2 seconds to enter unit setting mode.
- Use [UP] / [DOWN] button to toggle between mm (millimeter) and in (inch).
- Press [RAINFALL] button to confirm and exit.
WIND SPEED / DIRECTION
To read the wind direction:

To select the wind display mode:
Press [WIND] button to toggle between:
- AVERAGE The AVERAGE wind speed will display the average of all wind speed numbers recorded in the previous 30 seconds
- GUST The GUST wind speed will display the highest wind speed recorded from last reading

To select wind speed unit:
- Press and hold [WIND] button for 2 seconds to enter unit setting mode.
- Use the [UP] / [DOWN] button to change the unit between mph (miles per hour) / m/s (meter per second) / km/h (kilometer per hour) / knots.
- Press [WIND] button to confirm and exit.
BEAUFORT SCALE
Beaufort scale is an international scale of wind velocities from 0 (calm) to 12 (Hurricane force).


WIND CHILL / HEAT INDEX / DEW-POINT
To view Wind Chill:
Press the [INDEX] button repeatedly until WINDCHILL displays. Note: The wind chill factor is based on the combined effects of temperature and wind speed. The wind chill displayed is calculated solely from temperature and humidity measured from the 5-in-1 sensor.
To view Heat Index:
Press the [INDEX] button repeatedly until HEAT INDEX displays.

To view Dew-Point (Indoor)
Press the [INDEX] button repeatedly until DEWPOINT displays.
Note: The dew point is the temperature below which the water vapor in air at constant barometric pressure condenses into liquid water at the same rate at which it evaporates. The condensed water is called dew when it forms on a solid surface. The dewpoint temperature is calculated from the indoor temperature and humidity measured at the Main Unit.
HISTORY DATA (ALL RECORDS IN THE PAST 24 HOURS )
The Display main unit automatically record and display data of past 24 hours on the hour. To check all the history data in the past 24 hours, press the [HISTORY] button. E.g. Current time 7:25 am, Mach 28 Press [HISTORY] button repeatedly to view past readings at 7:00am, 6:00am, 5:00am, …, 5:00am (Mar 27), 6:00am (Mar 27), 7:00am (Mar 27) The LCD will display the past indoor and outdoor temperature & humidity, value of air pressure, wind chill, wind speed, rainfall and their time and date.
MAXIMUM / MINIMUM MEMORY FUNCTION
- Press [MAX/MIN] button to check the maximum/minimum records. The checking orders will be: Outdoor max temperature → Outdoor min temperature→ Outdoor max humidity → Outdoor min humidity→ Indoor max temperature→ Indoor min temperature →Indoor max humidity→ Indoor min humidity →Outdoor max wind chill→ Outdoor min wind chill→ Outdoor max heat index →Outdoor min heat index→ Indoor max dewpoint →Indoor min dewpoint →Max pressure→ Min pressure→ Max average→ Max gust→ Max rainfall.
- Press and hold [MAX/MIN] button for 2 seconds to reset the maximum and minimum records. Note: When maximum or minimum reading is displayed, the corresponding timestamp will be shown.
HI / LO ALERT
HI/LO alert are used to alert you of certain weather conditions. Once activated, the alarm will turn on and amber LED starts flashing when a certain criterion is met. The following are areas and type of alert provided:

Note: Daily rainfall since midnight.
To set the HI / LO alert
- Press the [ALERT] button until the desired area is selected.
- Use [UP] / [DOWN] buttons to adjust the setting.
- Press [ALERT] button to confirm and continue to next setting.

To enable/disable the HI / LO alert
- Press [ALERT] button until the desired area is selected.
- Press [ALARM] button to turn the alert on or off.
- Press [ALERT] button to continue to next setting.

Note:
- The unit will automatically exit setting mode in 5 seconds if no button is pressed.
- When ALERT alarm is on, the area and type of alarm that triggered the alarm will be flashing and the alarm will sound for 2 minutes.
- To silence the Alert alarm beeping, press the [SNOOZE / LIGHT] / [ALARM] button, or let the beeping alarm automatically turn off after 2 minutes.
WIRELESS SIGNAL RECEPTION

The sensor is capable of transmitting data wirelessly over an approximate operating of 150m range (line of sight). Occasionally, due to intermittent physical obstructions or other environmental interference, the signal may be weaken or lost. In the case that the sensor signal is lost completely, you will need to relocate the Display main unit or the wireless sensor.
TEMPERATURE & HUMIDITY
Comfort Indication
The comfort indication is a pictorial indication based on indoor air temperature and humidity in an attempt to determine comfort level.

Note:
- Comfort indication can vary under the same temperature, depending on the humidity.
- There is no comfort Indication when temperature is below 0°C (32°F) or over 60°C (140°F).
DATA CLEARING
During installation of the wireless sensor, the sensors were likely to be triggered, resulting in erroneous rainfall and wind measurements. After the installation, user may clear out all the erroneous data from the Display Main Unit, without needing to reset the clock and re-establish pairing. Simply press and hold the [HISTORY] button for 10 seconds. This will clear out any data recorded before.
POINTING SENSOR TO THE SOUTH
The outdoor sensor is calibrated to be pointing to North by default. However, in some cases, users may wish to install the product with the arrow pointing towards the South, especially for people living in the Southern hemisphere (e.g. Australia, New Zealand).
- First install the outdoor sensor with its arrow pointing to the South. (Please refer to Installation session for mounting details)
- On the Display main unit, press and hold [WIND] button for 8 seconds until the upper part (Northern Hemisphere) of the compass lights up and blinking.
- Use [UP] / [DOWN] to change to lower part (Southern Hemisphere).

- Press [WIND] button to confirm and exit. Note: Changing from hemisphere setting will automatically switch the direction of the moon phase on the display.
ABOUT THE MOON PHASE
In the Northern hemisphere, the moon waxes (the part of the moon we see that glows after the New Moon) from the right. Hence the sun-lit area of the moon moves from right to left in the Northern Hemisphere, while in the Southern Hemisphere, it moves from left to right. Below are the 2 tables which illustrate how the moon will appear on the main unit. Northern hemisphere:

MAINTENANCE
To clean the rain collector

- Rotate the rain collector by 30° anticlockwise.
- Gently remove the rain collector.
- Clean and remove any debris or insects.
- Install all the parts when they are fully clean and dried.
To clean the Thermo / Hygro sensor

- Unscrew the 2 screws at the bottom of the radiation shield.
- Gently pull out the shield.
- Remove carefully any dirt or insects inside the sensor casing (Do not let the sensors inside get wet).
- Clean the shield with water and remove any dirt or insects.
- Install all the parts back when they are fully clean and dried.
TROUBLESHOOTING

SPECIFICATIONS




GUARANTEE
Ames Australasia warrants that this product will be free from defects in workmanship and materials for 2 years. If a defect in material or workmanship becomes evident during that period, Ames Australasia will, at its option, either; repair the product (or pay for the costs of repair of the product); replace the product; or refund to the customer the purchase price paid by the customer for the product. In the event of such a defect, the product should be returned to the place of purchase, together with proof of purchase for repair, replacement or refund. Any handling and transportation (and other expenses incurred in claiming under this guarantee) are not covered by this guarantee and will not be borne by Ames Australasia. The obligation of Ames Australasia under this guarantee is limited to the circumstances set out about and is subject to; the customer being able to evidence the acquisition of the product, the purchase price paid for the product and the relevant defect in materials or workmanship; the product not having been altered, tampered with or otherwise dealt with by any person in a manner other than as intended in respect of the relevant product; and the product not having been used or applied in a manner that is contrary to customary usage or application for the relevant product or contrary to any stated instructions or specification of Ames Australasia. Our goods come with guarantees that cannot be excluded under the Australian Consumer Law. You are entitled to a replacement or refund for a major failure and for compensation for any other reasonably foreseeable loss or damage. You are also entitled to have the goods repaired or replaced if the goods fail to be of acceptable quality and the failure does not amount to a major failure. The benefits given by this guarantee are in addition to the other rights and remedies which might be available to the customer under any law in relation to goods or services to which this guarantee relates.
For further information contact us on
Australia Free Call: 1800 335 019 New Zealand: 09 427 6042
AMES Australasia
ABN 89 169 427 061
Level 1, 660 Don caster Road, Don caster,
Victoria 3108. Australia
www.nylex.com.au




















