BRANDSON 304632 Weather Station

Thank you for choosing a BRANDSON product. Please read the following user ma-nual carefully so as to get the most from the product you have purchased. Before using the product, first check that the delivered item is complete, accurate and undamaged.
Scope of delivery
- weather station
- User manual
Technical data
| Power supply | • Main unit: 1 DC 5V, min. 500mA coaxial power adapter (3.5 mm / 1.25 mm) /// polarity: – — (o — + or three 1.5V AAA batteries • Sensor: Two 1.5 AA batteries |
| Temperature range | • Main unit: -5°C to 50°C • Sensor: -40°C to +60°C |
| Barometer range | • 540 to 1100 hPa • 405 to 825 mmHg • 15.95 to 32.49 inHg |
| Temperature reso- lution | 0.1°C |
| External sensor protec- tion class | IPX4 |
| Transmitting power | • Main unit: 0 dBm • Sensor: -10.83 dBm |
| Frequency range | 433 MHz |
Additional information about this device
Please do not use the device if it is damaged. Do not expose the main unit to moisture and also direct sunlight. The outdoor sensor is splash-proof and should not be exposed to continuous and direct rain. The outdoor sensor is splash-proof and should not be exposed to continuous and direct rain. The ideal location is co-vered and in the shade. Before using the product, ensure that the available supply voltage corresponds to the operating voltage indicated on the specification plate.
Before using it, make sure that the cables are not damaged. The device has to be connected to an easily accessible socket so that it can be disconnected in case of an emergency. This product is suitable for use only with a 5V DC mains adapter. Please refer to the technical data under point 2 in the previous page for the polarity and connector size. The device is intended only for private use and not for medical purposes or for public information.
Caution!
Keep the batteries and the device out of the reach of children. Batteries contain harmful acids. Weak batteries should be replaced as soon as possible to prevent leakage! Never use new and old batteries or batteries of different types together. Never throw batteries into the fire and do not short-circuit them. Never recharge the batteries and do not take them apart. There is a risk of explosion!
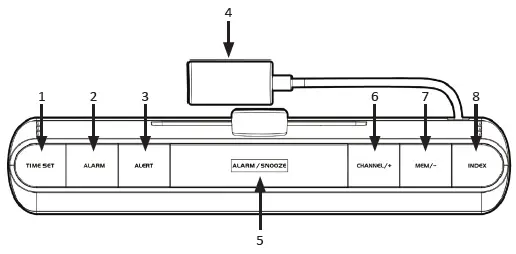
Product details
| No. | Button |
| 1 | “TIME SET” button |
| 2 | “ALARM” button |
| 3 | “ALERT” button |
| 4 | Power port |
| 5 | “ALARM / SNOOZE” button |
| 6 | “CHANNEL / +” button |
| 7 | “MEM/-” button |
| 8 | “INDEX” button |

| No. | Description |
| 9 | Backlight switch |
| 10 | “HISTORY” button |
| 11 | “SENSOR” button |
| 12 | “BARO” button |
| 13 | “°C / °F” button |
| 14 | “RESET” button |
| 15 | Wall bracket |

| No. | Description |
| 1 | Outdoor temperature / humidity |
| 2 | Barometer |
| 3 | Weather forecast |
| 4 | Indoor temperature / humidity |
| 5 | Time / Alarm time / Date |
| 6 | Heat Index / Dew Point |

Initial use
- Take the product out of the package and remove all the packaging material. Open the battery compartment of the outdoor sensor and insert two 1.5V AA batteries. Pay attention to the correct polarity of the contacts.
- Open the battery compartment on the weather station and insert three 1.5V AAA batteries. Pay attention to the correct polarity of the contacts. Alter-nately, connect the provided 5V DC coaxial power adapter to the weather station.
- Connect the power adapter to a properly installed socket.
Note: If the weather station is only used with 1.5V AAA batteries, the backlight is not permanently switched on. Press the “ALARM/SNOOZE” button to briefly turn on the backlight.
Connection with the outdoor sensor
- Select the desired channel using the “Channel” button in the battery com-partment of the outdoor sensor.
- After being switched on, the weather station attempts to connect with the outdoor sensor. Ensure that both devices are within each other’s range. The connection icon ” ” starts flashing in the “Outdoor temperature” display of the main unit. To start scanning automatically, press the “Sensor” button on the back of the device.
If the main unit cannot establish a connection with the outdoor sensor within 2 minutes, then it stops searching. The connection icon stops flashing and the tem-perature display shows “–%” and “–.°C” on the display. If a connection cannot be established, then this could be, for example, due to thick walls, or to a long distance of the sensor from the main unit. In this case, positi-on the sensor and the main unit closer to each other. To restart scanning, press and hold the “Sensor” button on the back of the main unit for 2 seconds until the connection symbol in the display starts flashing. If the outdoor sensor signal is interrupted and the connection cannot be restored within an hour, then the display shows “Er” (error) in the temperature and humi-dity display. If the signal is still not available after 48 hours, the display shows “Er” permanently. Press the “Sensor” button on the back of the device to reconnect the device.
Basic settings
Note: When the backlight is switched off (“backlight” switch in Off position), the backlight can be turned on for approximately 5 seconds by pressing the large “SNOOZE / LIGHT” button at the top of the housing. Press and hold the “TIME SET” button for about 3 seconds to modify the basic settings. With the “CHANNEL/+” and “MEM / _” buttons you can change the values accordingly. By briefly pressing the “TIME SET” button, you can confirm the entry and proceed to the next option. In this way, you can change and customise the following settings in the sequence mentioned below:
- 12/24 hour format
- Hour
- Minute
- Second
- Year
- Month / Day format
- Month
- Day
- Time zone – Note: If you set the time zone, for example, to + 01 and the weath-er station is actuated using the DCF-signal, then the clock displays one hour later than the DCF-signal.
- Language setting – To set the day on the display. The following codes can be configured and selected using the “UP” and “DOWN” buttons: EN (English), RU (Russian), NL (Dutch), IT (Italian), ES (Spanish), DE (German), FR (French)
- RC – Enable or disable the DCF signal function.
- DST – Enable or disable automatic switching to daylight saving time.
Alarm setting
Setting the alarm time
Press the “ALARM” button once briefly to display the alarm time. Then press and hold the button for about 2 seconds until the alarm time starts to flash. You can make the desired settings using the “CHANNEL/+” and “MEMORY/-” buttons. Confirm your entry by pressing the “ALARM” button. Then press the “ALARM” button again to save the alarm setting. The alarm is enabled automatically after setting the alarm time.
Turning the alarm on / off
Press the “ALARM” button once briefly to display the alarm time. Press the button again, while the alarm time is being displayed, to turn the alarm on or off. The alarm is enabled when the bell symbol is shown in the alarm display.
Switching off the alarm
When the alarm is activated at the configured time, the backlight also turns on automatically. The alarm is active for 2 minutes before it turns off automatically. Press the “SNOOZE/LIGHT” button to cancel the alarm. If the bell symbol flashes in the display, this means that the snooze function is enabled and the alarm will go off again in 5 minutes. To turn off the alarm, press the “ALARM” button when the alarm goes off.
Press and hold the “Snooze/Light” button till the bell symbol stops flashing. The alarm will go off again on the next day at the same time.
Backlight
Move the “Backlight” switch to the desired position:
- AUTO = automatic backlight (brightness level adjusts automatically depending on the light conditions)
- LO = Backlight level 1
- HI = Backlight level 2
If the device is used without the power adapter and exclusively with batteries, the backlight is activated only when you press the “ALARM / SNOOZE” button. The backlight turns off again after 5 seconds.
DCF signal
You can enable (auto) or disable (off) this function as the penultimate item in the basic settings. The DCF signal is a time signal which is sent out by one of the most accurate clocks in the world. It is located near Frankfurt am Main. Under ideal conditions, your weather station can receive the signal from a distance of up to 1500 km. If the weather station has detected the signal, then it displays the current Central Eu-ropean Time, the date, and the day of the week depending on the basic settings. The DCF symbol ” ” is then shown on the display. The weather station scans for a signal and attempts to synchronise every day at 02:00 and 17:00 hrs. You can start the signal scan automatically by pressing the “RCC” button in the battery compartment of the outdoor sensor.Once the attempt to receive a signal fails, the weather station stops scanning after about 5 minutes. The DCF symbol disappears from the display.
Caution! Remember that some devices may be sources of interference for recei-ving the signal, such as televisions, computers, etc. You may have problems in receiving the signal in closed areas such as airports, factories, cellars etc.
Display
Time display:
The time can be displayed in a 12-hour or 24-hour format. The desired format can be selected in the basic settings.
Date and day:
The weather station has a date and day display. The day is marked with “D” and the month with “M”.
Weather forecast:
The weather station calculates a weather forecast for about 12 hours, which is based on the air pressure trend. As expected, this forecast can not be compared with satellites or high-performance computers. The forecast only shows an appro-ximation of the current trend.

Barometer:
The weather station comes with a barometer. You can select the unit of the barometer from “hPa”, “inHg” and “mmHg” using the “BARO” button on the back of the weather station. You can choose between absolute and relative air pressure. Press and hold the “BARO” button at the back of the device for about 2 seconds until “REL” or “ABS” starts flashing in the barometer display. You can choose between the two setting options using the “CHANNEL/ +” and “MEM/ -” buttons. Confirm your entry using the “BARO” button.
Dew point
The “DEW POINT” is the temperature at which dew forms depending on the humidity. The more humidity in the air, the higher is the dew point temperature.Press the “INDEX” button to change between the dew point and the “heat index” display.
Heat Index
The “HEAT INDEX” indicates the perceived temperature based on the actual air temperature and relative humidity measured. Press the “INDEX” button to change between the dew point and the “Heat Index” display.
DCF symbol:
The weather station synchronises the time every night. The symbol begins flash-ing during synchronisation. If the time has been successfully received, then the symbol glows continuously until the next synchronisation.
Indoor temperature display:
The indoor temperature is measured by the base station and is shown to an ac-curacy of one tenth of a degree. The configured temperature unit is displayed to the right of the measured value. The temperature unit can be changed between °C and °F. Slide the °C / °F switch on the back of the weather station to the desi-red position. The display shows “HI” when the measured temperature exceeds the maximum value. The display shows “Lo” if the value falls below the minimum.
Press the “°C / °F” button to shift between Celsius and Fahrenheit.
Low battery status
If the battery symbol appears, then the inserted batteries are discharged and should be replaced with new batteries as soon as possible. This applies to the outdoor sensor as well as to the base station. If the empty battery icon appears next to the inside temperature, the battery of the weather station is empty.
Outdoor temperature display:
The outdoor temperature is measured by the outdoor sensor and shown to an accuracy of one tenth of a degree. The configured temperature unit is shown to the right of the measured value. The temperature unit can be changed between °C and °F. To do this, slide the °C / °F switch on the back of the weather station to the desired position. The display shows “HI” when the measured temperature exceeds the maximum value. The display shows “Lo” if the value falls below the minimum.
Press the “°C / °F” button to shift between Celsius and Fahrenheit.
Channel display
The weather station receives the signal of the outdoor sensor automatically. You can switch between the different channels using the “CHANNEL/+” button. Select the same channel, which you select for the outdoor sensor. The channels of the outdoor sensor can be selected on the device directly using a toggle switch. For automatic channel scrolling, press and hold the „CHANNEL/+“ key for approx. 3 seconds. Receiving the outdoor sensor signal The outdoor sensor sends a signal twice a minute, which is automatically received by the base station. You can also manually enable the signal reception. To do this, press the “Sensor” button on the back of the device until the connection icon starts flashing. Once the signal has been successfully received, the symbol stops flashing and the received temperature and humidity are shown on the display of the weather station.
Frost icon
When the temperature falls below the 3°C mark in the outdoor display, the display shows a ” ” symbol.
Advanced settings
Determining the relative air pressure
You have the option to adjust the relative air pressure according to the weather report for your current location. To do this, press and hold for the “BARO” button for about 2 seconds until “ABS” or “REL” flashes on the barometer display. Navigate to the relative (REL) air pressure using the “CHANNEL / +” and “MEM / -” buttons and confirm with the “BARO” button. The air pressure value starts flashing now. You can adjust it using the “CHANNEL / + ” and “MEM / -” buttons. Confirm and save your setting using the “BARO” button.
Temperature trend
The temperature trend shows the possible weather changes as a trend.
- indicates “rising”
- indicates “constant”
- indicates “falling”
RECORDING MAX / MIN TEMPERATURE
The main unit stores the MAX / MIN temperatures recorded since the last manual reset.
- Press the “MEM / -” button once In time mode to display the maximum tempe-rature measured in the current channel
- Press the “MEM / -” button repeatedly to display the MAX / MIN value in the following sequence: The maximum temperature of the current channel -> The minimum temperature of the current channel -> The maximum humidity -> The minimum humidity -> The maximum indoor temperature -> The minimum indoor temperature -> The maximum humidity -> The minimum humidity -> The maxi-mum air pressure -> The minimum air pressure.
- When the MAX / MIN readings are displayed, the display returns back to normal mode after 5 seconds.
- To clear the MAX / MIN indoor readings or that of the current channel, press and hold the “MEM / -” button for 2 seconds once the device is switched on and is in the MAX/MIN display.
Temperature/ Humidity alarm setting
The device can set a HIGH / LOW alarm for indoors and up to 8 outdoor channels.
- Press and hold the “ALERT” button for about 3 seconds in time mode to access the alarm settings. The “IN” symbol starts flashing.
- By pressing “CHANNEL / +” or “MEM / -” button you can select the channel to be adjusted. Start adjusting the channel using the “ALERT” button.
- Press the “CHANNEL / +” button or the “MEM / -” button to change the value. Press the “ALERT” button to confirm this setting and to go to the next menu item. The setting sequence is as follows: Temperature “HIGH” -> Temperature “LOW” -> Humidity “HIGH” -> Humidity “LOW” -> Channel selection.
- To set the alarm value, press the “ALARM” button at the top of the weather station to turn the temperature alarm on or off. A ” ” symbol is displayed next to the corresponding temperature alarm, if it is enabled.\
- Once you complete this process, press and hold the “ALERT” button for about 3 seconds. The display changes back to the time mode. Alternatively, the device automatically returns to the time mode after about 60 seconds after the last button is pressed.
When the alarm is activated, it can be heard audibly and the icon flashes on the display. Press the “ALARM / SNOOOZE”, “ALARM” or “ALARM” button to stop the alarm. If you ignore the alarm, it is stopped after 2 minutes.
Note: You cannot enter contradictory HIGH / LOW values in the setting. If the HIGH temperature value, for example, is 40° C, you cannot set the LOW alarm to more than 39.9 °C, etc. When an alarm is activated in Auto Cycle mode, the display switches to the corresponding channel. You can press “ALARM / SNOOZE”, “ALARM” or “ALERT”. Alternatively, the alarm stops automatically if you do not use the device for 2 minutes. The display returns to Auto Cycle mode.
History
The main unit stores all the measured values of the last 24 hours. Press the “HISTORY” button on the back of the device to see the history. The time at which the displayed values were measured and the values are displayed instead of the current time. Press the “HISTORY” button again to switch between the last 24 hours of the history.
Safety instructions and disclaimer
Never try to open the device to repair or make modifications. Avoid contact with the mains voltage. Do not short-circuit the product. The device is not waterproof, hence please use it only in dry surroundings. Protect it from high humidity, water and snow. Keep the device away from high temperatures. Do not expose the de-vice to sudden changes in temperature or strong vibrations, as this could damage the electronic components. Check the device for any damage before using it. Thedevice should not be used if it was subject to impact or has been damaged in some other manner. Please comply with the local regulations and restrictions. Do not use the device for purposes other than those described in the user manual. This pro-duct is not a toy. Keep it out of the reach of children or mentally disabled persons. Any repair or modifications to the device, which is not carried out by the original supplier will void any warranty and guarantee claims. The device should only be used by those who have read and understood this user manual. The specifications of the device may be changed without prior intimation.
Disposal instructions
In line with the European WEEE directive, electrical and electronic devices should not be disposed of along with domestic waste. Their components have to be sepa-rately sent for recycling or disposal, because improper disposal of toxic and dan-gerous components may permanently damage the environment. According to the Electrical and Electronic Equipment Act (ElektroG), you are obliged (as a consumer) to return (free of charge) all electrical and electronic devices to the manufacturer, the point of sale, or public collection points at the end of their service life. The relevant local laws regulate the details in this regard. The symbol displayed on the product, in the user manual or/and on the packaging refers to these regulations. With this manner of sorting, recycling and disposal of used devices, you make an important contribution towards protecting our environment.
Instructions for battery disposal
In conjunction with the sale of batteries along with the supply of devices that in-clude batteries, the supplier is obliged to point out the following to the customer: The customer is legally obliged to return used batteries. He can return used bat-teries which the supplier offers or has offered as new batteries in his assortment free of charge to the supplier’s dispatch warehouse (shipping address). The sym-bols shown on the batteries indicate the following: Pb = battery contains more than 0.004 percent lead by weight, Cd = battery contains more than 0.002 percent cadmium by weight, Hg = battery contains more than 0.0005 percent mercury by weight.
The symbol of the crossed-out dustbin means that the battery may not be disposed of in household waste.
WEEE directive 2012/19/EU WEEE Register no.: DE 67896761
The company WD Plus GmbH hereby certifies that the device 304632complies with the fun-damental requirements and all other relevant stipulations of the guideline 2014/53/EC. A complete conformity statement can be obtained from: WD Plus GmbH, Wohlenbergstraße 16, 30179 Hannover, https://downloads.ganzeinfach.de/305420




















