INSTALLATION INSTRUCTIONS
FRONT CONTROL ELECTRIC RANGES
IMPORTANT:
Save for local electrical inspector’s use.
W10842010A
RANGE SAFETY
Your safety and the safety of others are very important.
We have provided many important safety messages in this manual and on your appliance. Always read and obey all safety messages.
This is the safety alert symbol.
This symbol alerts you to potential hazards that can kill or hurt you and others.
All safety messages will follow the safety alert symbol and either the word “DANGER” or “WARNING.” These words mean:
You can be killed or seriously injured if you don’t immediately follow instructions.
You can be killed or seriously injured if you don’t follow instructions.
All safety messages will tell you what the potential hazard is, tell you how to reduce the chance of injury, and tell you what can happen if the instructions are not followed.
![]()
Tip Over Hazard
A child or adult can tip the range and be killed. Install anti-tip bracket to floor or wall per installation instructions. Slide range back so rear range foot is engaged in the slot of the anti-tip bracket. Re-engage anti-tip bracket if range is moved. Do not operate range without anti-tip bracket installed and engaged. Failure to follow these instructions can result in death or serious burns to children and adults.
To verify the anti-tip bracket is installed and engaged:
- Slide range forward.
- Look for the anti-tip bracket securely attached to floor or wall.
- Slide range back so rear range foot is under anti-tip bracket.
- See installation instructions for details.
INSTALLATION REQUIREMENTS
Tools and Parts
Gather the required tools and parts before starting installation. Read and follow the instructions provided with any tools listed here.
Tools Needed
| ■ Tape measure ■ Flat-blade screwdriver ■ Phillips screwdriver ■ Level ■ Hand or electric drill ■ Wrench or pliers ■ Marker or pencil | ■ Masking tape ■ ¼” (6.4 mm) drive ratchet ■ ¼” (6.4 mm) nut driver ■ ³⁄8″ (9.5 mm) and 5 ⁄16″ (8 mm) nut driver ■ ¹⁄8″ (3.2 mm) drill bit (for wood floors) ■ Tin snips or large wire cutters (for cutting ground strap if necessary) |
Parts Needed
If using a power supply cord kit:
■ A UL listed power supply cord kit marked for use with ranges. The cord should be rated at 250 volts minimum, 40 amps or 50 amps that is marked for use with nominal 1³/8″ (3.5 cm) diameter connection opening and must end in ring terminals or open-end spade terminals with upturned ends.
■A UL listed strain relief.
Check local codes. Check existing electrical supply. See the appropriate “Electrical Requirements” section.
It is recommended that all electrical connections be made by a licensed, qualified electrical installer.
Location Requirements
IMPORTANT: Observe all governing codes and ordinances.
■ It is the installer’s responsibility to comply with installation clearances specified on the model/serial/rating plate. The model/serial/rating plate is located behind the oven door on the top right-hand side of the oven frame.
■ The range should be located for convenient use in the kitchen.
■ Recessed installations must provide complete enclosure of the sides and rear of the range.
■ To eliminate the risk of burns or fire by reaching over the heated surface units, cabinet storage space located above the surface units should be avoided. If cabinet storage is to be provided, the risk can be reduced by installing a range hood or microwave hood combination that projects horizontally a minimum of 5″ (12.7 cm) beyond the bottom of the cabinets.
■ All openings in the wall or floor where range is to be installed must be sealed.
■ Cabinet opening dimensions that are shown must be used. Given dimensions are minimum clearances.
■ The anti-tip bracket must be installed. To install the anti-tip bracket shipped with the range, see “Install Anti-Tip Bracket” section.
■ Grounded electrical supply is required. See the appropriate “Electrical Requirements” section.
■ Contact a qualified floor covering installer to check that the floor covering can withstand at least 200°F (93°C).
■ Use an insulated pad or ¼” (0.64 cm) plywood under range if installing range over carpeting.
IMPORTANT: To avoid damage to your cabinets, check with your builder or cabinet supplier to make sure that the materials used will not discolor, delaminate or sustain other damage. This oven has been designed in accordance with the requirements of UL and CSA International and complies with the maximum allowable wood cabinet temperatures of 194°F (90°C).
Mobile Home – Additional Installation Requirements
The installation of this range must conform to the Manufactured Home Construction and Safety Standard, Title 24 CFR, Part 3280 (formerly the Federal Standard for Mobile Home Construction and Safety, Title 24, HUD Part 280). When such standard is not applicable, use the Standard for Manufactured Home Installations, ANSI A225.1/NFPA 501A or with local codes.
In Canada, the installation of this range must conform with the current standards CAN/CSA-A240-latest edition, or with local codes.
Mobile Home Installations Require:
■ When this range is installed in a mobile home, it must be secured to the floor during transit. Any method of securing the range is adequate as long as it conforms to the standards listed above.
■ Four-wire power supply cord or cable must be used in a mobile home installation. The appliance wiring will need to be revised. See “Electrical Connection – U.S.A. Only” section.
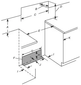
Product Dimensions
This manual covers several models. Your model may appear different from the models depicted. Dimensions given are maximum dimensions across all models.
| A. 1³⁄16″ (3.0 cm) height from cooktop to top of vent B. 29 7⁄8″ (75.9 cm) C. Model/serial/rating plate (located behind the oven door on the top right-hand side of the oven frame) | D. 36″ (91.4 cm) height to top of cooktop edge with leveling legs screwed all the way in* E. 28 25⁄64″ (72.1 cm) max. depth from front of console to back of range F. 29 1⁄64″ (73.7 cm) max. depth from handle to back of range |
IMPORTANT: Range must be level after installation. Follow the instructions in the “Level Range” section. Using the cooktop as a reference for leveling the range is not recommended.
Cabinet Dimensions
Cabinet opening dimensions shown are for 25″ (64.0 cm) countertop depth, 24″ (61.0 cm) base cabinet depth and 36″ (91.4 cm) countertop height.
IMPORTANT: If installing a range hood or microwave hood combination above the range, follow the range hood or microwave hood combination installation instructions for dimensional clearances above the cooktop surface.
Range may be installed next to combustible walls with zero clearance.
| A. 18″ (45.7 cm) upper side cabinet to countertop B. 13″ (33 cm) max. upper cabinet depth C. 30″ (76.2 cm) min. opening width D. For minimum clearance to top of cooktop, see NOTE*. E. 30″ (76.2 cm) min. opening width | F. The shaded area is recommended for installation of grounded outlet. G. 13¹/8″ (33.3 cm) H. 7¹¹/16″ (19.5 cm) I. 4¹³/16″ (12.2 cm) J. 3¹¹/16″ (9.4 cm) K. Cabinet door or hinges should not extend into the cutout. |
* NOTE: 24″ (61.0 cm) minimum when bottom of wood or metal cabinet is shielded by not less than ¹/4″ (0.64 cm) flame retardant millboard covered with not less than No. 28 MSG sheet steel, 0.015″ (0.4 mm) stainless steel, 0.024″ (0.6 mm) aluminum or 0.020″ (0.5 mm) copper. 30″ (76.2 cm) minimum clearance between the top of the cooking platform and the bottom of an uncovered wood or metal cabinet.
Electrical Requirements – U.S.A. Only
If codes permit and a separate ground wire is used, it is recommended that a qualified electrical installer determine that the ground path and wire gauge are in accordance with local codes.
Do not use an extension cord.
Be sure that the electrical connection and wire size are adequate and in conformance with the National Electrical Code, ANSI/ NFPA 70-latest edition and all local codes and ordinances.
A copy of the above code standards can be obtained from:
National Fire Protection Association
1 Batterymarch Park
Quincy, MA 02169-7471
WARNING: Improper connection of the equipment-grounding conductor can result in a risk of electric shock. Check with a qualified electrician or service technician if you are in doubt as to whether the appliance is properly grounded. Do not modify the power supply cord plug. If it will not fit the outlet, have a proper outlet installed by a qualified electrician.
Electrical Connection
To properly install your range, you must determine the type of electrical connection you will be using and follow the instructions provided for it here.
■ Range must be connected to the proper electrical voltage and frequency as specified on the model/serial/rating plate. The model/serial/rating plate is located behind the oven door on the top right-hand side of the oven frame.
■ This range is manufactured with the neutral terminal connected to the cabinet. Use a 3-wire, UL listed, 40- or 50-amp power supply cord (pigtail). See the following Range Rating chart. If local codes do not permit ground through the neutral, use a 4-wire power supply cord rated at 250 volts, 40- or 50-amps and investigated for use with ranges.
Range Rating* Specified Rating of Power Supply Cord Kit and Circuit Protection 120/240 Volts 120/208 Volts Amps 8.8 – 16.5 KW 7.8 – 12.5 KW 40 or 50** 16.6 – 22.5 KW 12.6 – 18.5 KW 50
* The NEC calculated load is less than the total connected load listed on the model/serial/rating plate.
** If connecting to a 50-amp circuit, use a 50-amp rated cord with kit. For 50-amp rated cord kits, use kits that specify use with a nominal 1³⁄8″ (3.5 cm) diameter connection opening.
■ A circuit breaker is recommended.
■ The range can be connected directly to the circuit breaker box (or fused disconnect) through flexible or nonmetallic sheathed, copper or aluminum cable. See the “Electrical Connection – U.S.A. Only” section.
■ Allow at least 6 ft (1.8 m) of slack in the line so that the range can be moved if servicing is ever necessary.
■ A UL listed conduit connector must be provided at each end of the power supply cable (at the range and at the junction box).
■ Wire sizes and connections must conform with the rating of the range.
■ The tech sheet and wiring diagram are located on the back of the range in a plastic bag.
If Connecting to a 3-Wire System:
Local codes may permit the use of a UL listed, 3-wire, 250volt, 40- or 50-amp range power supply cord (pigtail). This cord contains 3 copper conductors with ring terminals or open-end spade terminals with upturned ends, terminating in a NEMA Type 10-50P plug on the supply end. Connectors on the appliance end must be provided at the point the power supply cord enters the appliance. This uses a 3-wire receptacle of NEMA Type 1050R.
If Connecting to a 4-Wire System:
This range is manufactured with the ground connected to the neutral by a link. The ground must be revised so the green ground wire of the 4-wire power supply cord is connected to the cabinet. See “Electrical Connection – U.S.A. Only” section. Grounding through the neutral conductor is prohibited for new branch-circuit installations (1996 NEC); mobile homes; and recreational vehicles, or an area where local codes prohibit grounding through the neutral conductor.
When a 4-wire receptacle of NEMA Type 14-50R is used, a matching UL listed, 4-wire, 250-volt, 40- or 50-amp, range power supply cord (pigtail) must be used. This cord contains 4 copper conductors with ring terminals or open-end spade terminals with upturned ends, terminating in a NEMA Type 1450P plug on the supply end. The fourth (grounding) conductor must be identified by a green or green/yellow cover and the neutral conductor by a white cover. Cord should be Type SRD or SRDT with a UL listed strain relief and be at least 4 ft (1.22 m) long.
The minimum conductor sized for the copper 4-wire power cord are:
40-amp circuit
2 No.-8 conductors
1 No.-10 white neutral
1 No.-10 green grounding
INSTALLATION INSTRUCTIONS
Unpack Range
![]()
Excessive Weight Hazard
Use two or more people to move and install range.
Failure to do so can result in back or other injury.
- Remove shipping materials, tape and film from the range. Keep cardboard bottom under range. Do not dispose of anything until the installation is complete.
- Remove oven racks and parts package from oven and shipping materials.
- To remove cardboard bottom, first take 4 cardboard corners from the carton. Stack one cardboard corner on top of another. Repeat with the other 2 corners. Place them lengthwise on the floor behind the range to support the range when it is laid on its back.
- Using 2 or more people, firmly grasp the range and gently lay it on its back on the cardboard corners.
- Remove cardboard bottom.
The leveling legs can be adjusted while the range is on its back. See the “Adjust Leveling Legs” section.
NOTE: To place range back up into a standing position, put a sheet of cardboard or hardboard on the floor in front of range to protect the flooring. Using 2 or more people, stand range back up onto the cardboard or hardboard.
Install Anti-Tip Bracket
![]()

Tip Over Hazard
A child or adult can tip the range and be killed.
Install anti-tip bracket to floor or wall per installation instructions.
Slide range back so rear range foot is engaged in the slot of the anti-tip bracket.
Re-engage anti-tip bracket if range is moved.
Do not operate range without anti-tip bracket installed and engaged.
Failure to follow these instructions can result in death or serious burns to children and adults.
- Remove the anti-tip bracket from the inside of the oven.
- Determine which mounting method to use: floor or wall.
If you have a stone or masonry floor, you can use the wall mounting method. If you are installing the range in a mobile home, you must secure the range to the floor. This anti-tip bracket and screws can be used with wood or metal studs. - Determine and mark centerline of the cutout space. The mounting bracket can be installed on either the left-hand or right-hand side of the cutout. Position mounting bracket against the wall in the cutout so that the V-notch of the bracket is 12½” (31.8 cm) from centerline as shown.

- Drill two ¹/8″ (3 mm) holes that correspond to the bracket holes of the determined mounting method. See the following illustrations.
Floor Mounting
- Using the two #10 x 15/8″ (4.1 cm) Phillips-head screws provided, mount anti-tip bracket to the wall or floor.
- Move range close enough to opening to allow for final electrical connections. Remove shipping base, cardboard, or hardboard from under range.
- Move range into its final location, making sure rear leveling leg slides into anti-tip bracket.

- Move range forward onto shipping base, cardboard, or hardboard to continue installing the range, using the following installation instructions.
Adjust Leveling Legs
- If range height adjustment is necessary, use a wrench or pliers to loosen the 4 leveling legs.
This may be done with the range on its back or with the range supported on 2 legs after the range has been placed back to a standing position.
NOTE: To place range back up into a standing position, put a sheet of cardboard or hardboard in front of range. Using 2 or more people, stand range back up onto the cardboard or hardboard.

Tip Over Hazard
A child or adult can tip the range and be killed.
Install anti-tip bracket to floor or wall per installation instructions.
Slide range back so rear range foot is engaged in the slot of the anti-tip bracket.
Re-engage anti-tip bracket if range is moved.
Do not operate range without anti-tip bracket installed and engaged.
Failure to follow these instructions can result in death or serious burns to children and adults. - Measure the distance from the top of the counter to the floor.
- Measure the distance from the top of the cooktop to the bottom of the leveling legs. This distance should be the same. If it is not, adjust the leveling legs to the correct height. The leveling legs can be loosened to add up to a maximum of 1″ (2.5 cm). A minimum of ³/16″ (5 mm) is needed to engage the anti-tip bracket.
NOTE: If height adjustment is made when range is standing, tilt the range back to adjust the front legs, and then tilt forward to adjust the rear legs. - When the range is at the correct height, check that there is adequate clearance under the range for the anti-tip bracket. Before sliding range into its final location, check that the antitip bracket will slide under the range and onto the rear leveling leg prior to anti-tip bracket installation. NOTE: If a Trim Kit will be used, the top of the cooktop should be higher than the counter. See the Installation Instructions included with the Trim Kit for the correct height.
Level Range
- Place level on the oven bottom, as indicated in one of the two figures below, depending on the size of the level. Check with the level side-to-side and front to back.

- If range is not level, use a wrench or pliers to adjust leveling legs up or down until the range is level.
NOTE: Range must be level for satisfactory baking performance and best cleaning results using AquaLift® Self-Clean Technology.
Electrical Connection – U.S.A. Only
If your home has a 3- or 4-wire receptacle, continue with “Install Using a Power Supply Cord.” If your home has a 3- or 4-wire direct connection, go to “Install Using Direct Wire.”
Install Using a Power Supply Cord![]()
![]()
Electrical Shock Hazard
Disconnect power before servicing.
Use a new 40 amp power supply cord.
Plug into a grounded outlet.
Failure to follow these instructions can result in death, fire, or electrical shock.
Power Supply Cord Strain Relief
- Disconnect power.
- Remove the lower access cover screws located on the back of the range. Pull the bottom of the cover toward you and out to remove cover from range.
A. Mounting tabs (3)
B. Lower access cover
C. Screws (2) - Remove plastic tag holding three 10-32 hex nuts from the middle post of the terminal block.

- Assemble a UL listed strain relief in the opening.

- Complete installation following instructions for your type of electrical connection:
4-wire (recommended)
3-wire (if 4-wire is not available)
Electrical Connection Options
| If your home has: | And you will be connecting to: | Go to Section: |
| 3-wire receptacle (NEMA type 10-50R) | A UL listed, 250-volt minimum, 40- or 50-amp, range power supply cord | 3-Wire Connection: Power Supply Cord |
| 4-wire receptacle (NEMA type 14-50R) | A UL listed, 250-volt minimum, 40- or 50-amp, range power supply cord | 4-Wire Connection: Power Supply Cord |
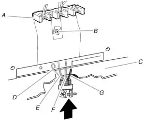
3-Wire Connection: Power Supply Cord
Use this method only if local codes permit connecting chassis ground conductor to neutral wire of power supply cord.
- Feed the power supply cord through the strain relief on the cord/conduit plate on bottom of range. Allow enough slack to easily attach the wiring to the terminal block.
A. Terminal block
B. Ground-link screw
C. UL listed strain relief
D. Power supply cord wires – large opening - Use ³⁄8″ (1.0 cm) nut driver to connect the neutral (white) wire to the center terminal block post with one of the 10-32 hex nuts.

- Connect line 2 (red) and line 1 (black) wires to the outer terminal block posts with 10-32 hex nuts.
- Firmly tighten hex nuts.
NOTE: For power supply cord replacement, use only a power cord rated at 250 volts minimum, 40- or 50-amps that is marked for use with nominal 1³/8″ (3.5 cm) diameter connection opening, with ring terminals and marked for use with ranges. - Tighten strain relief screws.
IMPORTANT: Verify the tightness of the hex nuts. - Replace lower access cover.
4-Wire Connection: Power Supply Cord
Use this method for:
■ New branch-circuit installations (1996 NEC)
■ Mobile homes
■ Recreational vehicles
■ In an area where local codes prohibit grounding through the neutral
- Cut out and remove part of metal ground strap, as shown.
A. Metal ground strap
B. Discard
C. Ground-link screw - Use a Phillips screwdriver to remove the ground-link screw from the back of the range. Save the ground-link screw and the end of the ground link under the screw.
- Feed the power supply cord through the strain relief on the cord/conduit plate on bottom of range. Allow enough slack to easily attach the wiring to the terminal block.
A. Terminal block
B. Ground-link screw
C. UL listed strain relief
D. Power supply cord wires - Use a Phillips screwdriver to connect the green ground wire from the power supply cord to the range with the groundlink screw and ground-link section. The ground wire must be attached over the ground-link section.
- Use ³/8″ (1.0 cm) nut driver to connect the neutral (white) wire to the center terminal block post with one of the 10-32 hex nuts.

A. 10–32 hex nut
B. Ground-link screw
C. Line 2 (red) wireD. Green ground wire
E. Neutral (white) wire
F. Line 1 (black) wire - Connect line 2 (red) and line 1 (black) wires to the outer terminal block posts with 10-32 hex nuts.
- Firmly tighten hex nuts.
NOTE: For power supply cord replacement, use only a power cord rated at 250 volts minimum, 40- or 50-amps that is marked for use with nominal 1³/8″ (3.5 cm) diameter connection opening, with ring terminals and marked for use with ranges. - Tighten strain relief screws.
IMPORTANT: Verify the tightness of the hex nuts. - Replace lower access cover.
Install Using Direct Wire
![]()
![]()
Electrical Shock Hazard
Disconnect power before servicing.
Use 8 gauge copper or 6 gauge aluminum wire.
Electrically ground range.
Failure to follow these instructions can result in death, fire, or electrical shock.
Direct Wire Strain Relief
- Disconnect power.
- Remove the lower access cover screws located on the back of the range. Pull the bottom of the cover toward you and out to remove cover from range.
A. Mounting tabs (3)
B. Lower access cover
C. Screws (2) - Remove plastic tag holding three 10-32 hex nuts from the middle post of the terminal block.

- Assemble a UL listed conduit connector in the opening.

- Tighten strain relief screw against the flexible conduit.

Direct Wire Installation: Copper or Aluminum Wire
This range may be connected directly to the fuse disconnect or circuit breaker box. Depending on your electrical supply, make the required 3-wire or 4-wire connection.
- Strip outer covering back 3″ (7.6 cm) to expose wires. Strip the insulation back ³⁄8″ (1.0 cm) from the end of each wire.

- Allow enough slack in the wire to easily attach the wiring terminal block.
- Complete installation following instructions for your type of electrical connection:
4-wire (recommended)
3-wire (if 4-wire is not available)
Electrical Connection OptionsIf your home has: And you will be connecting to: Go to Section: 3-wire direct 
A circuit breaker box or fused
disconnect3-Wire Connection:
Direct Wire4-wire direct 
A circuit breaker box or fused
disconnect4-Wire Connection:
Direct Wire
3-Wire Connection: Direct Wire
Use this method only if local codes permit connecting ground conductor to neutral supply wire.
- Pull the wires through the conduit on cord/conduit plate on bottom of range. Allow enough slack to easily attach the wiring to the terminal block.

A. Terminal block
B. Ground-link screw
C. Cord/conduit plateD. Line 2 (red) wire
E. Bare (green) ground wire
F. Line 1 (black) wire - Attach terminal lugs to line 2 (red), bare (green) ground, and line 1 (black) wires. Loosen (do not remove) the setscrew on the front of the terminal lug and insert exposed wire end through bottom of terminal lugs. Securely tighten setscrew to torque as shown in the following Bare Wire Torque Specifications chart.
Bare Wire Torque Specifications
Attaching terminal lugs to the terminal block – 20 lbs-in. (2.3 N-m)Wire Awg Torque 8 gauge copper 25 lbs-in. (2.8 N-m) 6 gauge aluminum 35 lbs-in. (4.0 N-m) - Use ³/8″ (1.0 cm) nut driver to connect the bare (green) ground wire to the center terminal block post with one of the 10-32 hex nuts.

A. 10–32 hex nut
B. Line 2 (red) wire
C. Ground-link screwD. Bare (green) ground wire
E. Line 1 (black) wire
F. Terminal lug - Connect line 2 (red) and line 1 (black) wires to the outer terminal block posts with 10-32 hex nuts.
- Firmly tighten hex nuts.
IMPORTANT: Verify the tightness of the hex nuts. - Replace lower access cover.
4-Wire Connection: Direct Wire
Use this method for:
■ New branch-circuit installations (1996 NEC)
■ Mobile homes
■ Recreational vehicles
■ In an area where local codes prohibit grounding through the neutral
- Cut out and remove part of metal ground strap, as shown.

- Use a Phillips screwdriver to remove the ground-link screw from the back of the range. Save the ground-link screw and the end of the ground link under the screw.
- Pull the wires through the strain relief on bottom of range. Allow enough slack to easily attach wiring to the terminal block.

A. Terminal block
B. Ground-link screw
C. Cord/conduit plate
D. Bare (green) ground wireE. Line 2 (red) wire
F. Neutral (white) wire
G. Line 1 (black) wire - Attach terminal lugs to line 1 (black), neutral (white), and line 2 (red) wires. Loosen (do not remove) the setscrew on the front of the terminal lug and insert exposed wire end through bottom of terminal lugs. Securely tighten setscrew to torque as shown in the following Bare Wire Torque Specifications chart.

A. Terminal lug
B. Setscrew
C. Line 2 (red) wireD. Neutral (white) wire
E. Line 1 (black) wireBare Wire Torque Specifications
Attaching terminal lugs to the terminal block – 20 lbs-in. (2.3 N-m)Wire Awg Torque 8 gauge copper 25 lbs-in. (2.8 N-m) 6 gauge aluminum 35 lbs-in. (4.0 N-m) - Use a hex or Phillips screwdriver to connect the bare (green) ground wire to the range with the ground-link screw and ground-link section. The ground wire must be attached over the ground-link section and must not contact any other terminal.
- Use ³/8″ (1.0 cm) nut driver to connect the neutral (white) wire to the center terminal block post with one of the 10-32 hex nuts.

A. 10–32 hex nut
B. Line 2 (red) wire
C. Bare (green) ground wire
D. Ground-link screwE. Neutral (white) wire
F. Line 1 (black) wire
G. Terminal lug - Connect line 2 (red) and line 1 (black) wires to the outer terminal block posts with 10-32 hex nuts.
- Firmly tighten hex nuts. IMPORTANT: Verify the tightness of the hex nuts.
- Replace lower access cover.
Verify Anti-Tip Bracket Is Installed and Engaged
On Ranges Equipped with a Premium Storage Drawer:
- Slide range into final location, making sure rear leveling leg slides into anti-tip bracket.
- Remove the premium storage drawer. See the “Remove/ Replace Drawer” section.
- Use a flashlight to look underneath the bottom of the range.
- Visually check that the rear range foot is inserted into the slot of the anti-tip bracket.
On Ranges Equipped with a Warming Drawer or Baking Drawer:
- Slide range into final location, making sure rear leveling leg slides into anti-tip bracket. Leave a 1″ (2.5 cm) gap between the back of the range and the back wall.
- Place the outside of your foot against the bottom front of the warming drawer or baking drawer to keep the range from moving, and then grasp the back of the range as shown.

- Slowly attempt to tilt the range forward. If you encounter immediate resistance, the range foot is engaged in the anti-tip bracket. Go to Step 8.
- If the rear of the range lifts more than ½” (1.3 cm) off the floor without resistance, stop tilting the range and lower it gently back to the floor. The range foot is not engaged in the antitip bracket.
IMPORTANT: If there is a snapping or popping sound when lifting the range, the range may not be fully engaged in the bracket. Check to see if there are obstructions keeping the range from sliding to the wall or keeping the range foot from sliding into the bracket. Verify that the bracket is held securely in place by the mounting screws. - Slide the range forward, and verify that the anti-tip bracket is securely attached to the floor or wall.
- Slide range back so the rear range foot is inserted into the slot of the anti-tip bracket.
- Repeat steps 1 and 2 to ensure that the range foot is engaged in the anti-tip bracket.
If the rear of the range lifts more than ½” (1.3 cm) off the floor without resistance, the anti-tip bracket may not be installed correctly. Do not operate the range without anti-tip bracket installed and engaged. Please reference the “Warranty” section of the User Guide to contact service. - Move the range into its final location. Check that the range is level by placing a level on the oven bottom. See the “Level Range” section.
IMPORTANT: If the range is moved to adjust the leveling legs, verify that the anti-tip bracket is engaged by repeating steps 1 to 8.
Remove/Replace Drawer
Remove all items from inside the baking drawer, warming drawer or premium storage drawer, and then allow the range to cool completely before attempting to remove the drawer.
To Remove:
- Open the drawer to its fully open position.
- Raise the front edge, and then lift out.
To Replace:
- Align the forward drawer notches with the notches in the drawer rails on both sides. Place the rear alignment tabs into the drawer rails on both sides.
- Push the drawer in all the way.
- Gently open and close the drawer to ensure it is seated properly on the rails on both sides.
Oven Door
For normal range use, it is not suggested to remove the oven door. However, if removal is necessary, make sure the oven is off and cool. Then, follow these instructions. The oven door is heavy.
To Remove:
- Open oven door all the way.
- Pinch the hinge latch between two fingers and pull forward. Repeat on other side of oven door.

- Close the oven door as far as it will shut.
- Lift the oven door while holding both sides.
Continue to push the oven door closed and pull it away from the oven doorframe.
To Replace:
- Insert both hanger arms into the door. Be sure that the hinge notches are engaged in the oven doorframe.

- Open the oven door. The door should be able to open all the way.
- Move the hinge levers back to the locked position. Check that the door is free to open and close and is level while closed. If it is not, repeat the removal and installation procedures.
Complete Installation
- Check that all parts are now installed. If there is an extra part, go back through the steps to see which step was skipped.
- Check that you have all of your tools.
- Check that you have all of the range accessories, especially oven racks. These accessories may be in the range packaging.
- Dispose of/recycle all packaging materials.
- Check that the range is level. See the “Level Range” section.
- Use a mild solution of liquid household cleaner and warm water to remove waxy residue caused by shipping material. Dry thoroughly with a soft cloth. For more information, see the “Range Care” section of the User Guide.
- Read the User Guide.
- Plug power cord into a grounded outlet. Turn power on.
- Turn on surface elements and oven. See the User Guide for specific instructions on range operation.
NOTE: Odors and smoke are normal when the oven is used the first few times.
If Range Does Not Operate, Check the Following:
■ Household fuse is intact and tight; or circuit breaker has not tripped.
■ Range is plugged into a grounded outlet.
■ Electrical supply is connected.
IMPORTANT: If the range control displays an “F9” or “F9, E0” error code, the electrical outlet in the home may be miswired. Disconnect power and contact a qualified electrician to verify the electrical supply. - When the range has been on for 5 minutes, check for heat. If the range is cold, turn off the range and contact a qualified electrician.
If You Need Assistance or Service:
Please reference the “Warranty” section of the User Guide to contact service.
W10842010A
®/TM © 2016. All rights reserved.




A. Mounting tabs (3)

A. Terminal block
A. Metal ground strap
A. Mounting tabs (3)




Bare Wire Torque Specifications






















