Whirlpool W11169656B Freestanding Electric Ranges

IMPORTANT: Save for local electrical inspector’s use.
RANGE SAFETY
- Your safety and the safety of others are very important.
- We have provided many important safety messages in this manual and on your appliance. Always read and obey all safety messageS.
- This is the safety alert symbol.
- This symbol alerts you to potential hazards that can kill or hurt you and others.
- All safety messages will follow the safety alert symbol and either the word “DANGER” or “WARNING.”
- These words mean:
- DANGER
- You can be killed or seriously injured if you don’t immediately follow instructions.
- WARNING
- You can be killed or seriously injured if you don’t follow instructions. All safety messages will tell you what the potential hazard is, tell you how to reduce the chance of injury, and tell you what can happen if the instructions are not followed.
| WARNING | |||
| Tip Over Hazard A child or adult can tip the range and be killed. Install anti-tip bracket to floor or wall per installation instructions. Slide range back so rear range foot is engaged in the slot of the anti-tip bracket. Re-engage anti-tip bracket if range is moved. Do not operate range without anti-tip bracket installed and engaged. Failure to follow these instructions can result in death or serious burns to children and adults. | |||
![]() To verify the anti-tip bracket is installed and engaged: • Slide range forward. • Look for the anti-tip bracket securely attached to floor or wall. Anti-Tip • Slide range back so rear range foot is under anti-tip bracket. Range Foot Bracket • See installation instructions for details. | |||
INSTALLATION REQUIREMENTS
Tools and Parts
Gather the required tools and parts before starting installation. Read and follow the instructions provided with any tools listed here.
Tools needed
- Tape measure
- Flat-blade screwdriver
- Phillips screwdriver
- Level
- Hammer
- Hand or electric drill
- Wrench or pliers
- Marker or pencil
- Masking tape
- 3/8″ (1 cm) and 5/16″ (7.9 mm) nut driver
- 1/8″ (3.2 mm) drill bit (for wood floors)
Parts Supplied
- Check that all parts are included.

- A. Anti-tip bracket
- B. #12 x 1″ screws (2)
- C. Plastic Anchors (2)
- Anti-tip bracket must be securely mounted to floor or wall. Thickness of flooring may require longer screws to anchor bracket to floor.
Parts needed
- If using a power supply cord kit:
- A UL listed power supply cord kit marked for use with ranges. The cord should be rated at 250 V minimum, 40 A or 50 A that is marked for use with nominal 1³⁄8″ (3.5 cm) diameter connection opening and must end in ring terminals or open-end spade terminals with upturned ends.
- A UL listed strain relief.
- Check local codes. Check existing electrical supply. See “Electrical Requirements” section.
- It is recommended that all electrical connections be made by a licensed, qualified electrical installer.
Location Requirements
IMPORTANT: Observe all governing codes and ordinances.
- It is the installer’s responsibility to comply with the installation clearances specified in this installation instructions. The model/serial/rating plate is located under the storage drawer. See the installation instructions on instructions on how to remove the storage drawer.
- Cabinet opening dimensions that are shown must be used. Given dimensions are minimum clearances.
- The anti-tip bracket must be installed. To install the anti-tip bracket shipped with the range, see “Install Anti-Tip Bracket” section.
- Grounded electrical supply is required. See “Electrical Requirements” section.
- IMPORTANT: To avoid damage to your cabinets, check with your builder or cabinet supplier to make sure that the materials used will not discolor, delaminate or sustain other damage. This oven has been designed in accordance with the requirements of UL and CSA International and complies with the maximum allowable wood cabinet temperatures of 194°F (90°C).
Mobile Home – Additional Installation Requirements
- The installation of this range must conform to the Manufactured Home Construction and Safety Standard, Title 24 CFR, Part 3280 (formerly the Federal Standard for
- Mobile Home Construction and Safety, Title 24, HUD Part 280). When such standard is not applicable, use the Standard for Manufactured Home Installations, ANSI A225.1/NFPA 501A or with local codes.
- In Canada, the installation of this range must conform with the current standards CAN/CSA-Z240-latest edition, or with local codes.
Mobile home installations require: - When this range is installed in a mobile home, it must be secured according to the instructions in this document.
- Four-wire power supply cord or cable must be used in a mobile home installation. The appliance wiring will need to be revised. See “Electrical Connection – U.S.A. Only” section.
Product Dimensions
- A. 28″ (71.1 cm) maximum depth with handle
- B. 377/8″ (96.2 cm) overall height (maximum) with leveling legs screwed all the way in*
- C. 36″ (91.4 cm) cooktop height (maximum) with leveling legs screwed all the way in*
- D. 24″ (60.9 cm) width
- E. 253/8″ (64.4 cm) depth – back of range to front of cooktop**
- F. Model/serial/rating plate is located under the storage drawer
IMPORTANT: Range must be level after installation. Follow the instructions in the “Level Range” section. Using the cooktop as a reference for leveling the range is not recommended.
- The range can be raised approximately 3/4″ (1.9 cm) by adjusting the leveling legs.
- Front of door and drawer may extend further forward depending on styling.
Cabinet Dimensions
- Cabinet opening dimensions shown are for 25″ (64.0 cm) countertop depth, 24″ (61.0 cm) base cabinet depth and 36″ (91.4 cm) countertop height.
- A freestanding range may be installed next to combustible walls with zero clearance.

- A. 13″ (33.0 cm) maximum upper cabinet depth
- B. 24″ (61.0 cm) minimum opening width
- C. For minimum clearance to top of cooktop, see NOTE*
- D. 243/16″ (61.5 cm) minimum opening width
- E. Outlet – 3″ (7.6 cm) from either cabinet, 8″ (20.3 cm) maximum from floor.
- F. Cabinet door or hinges should not extend into the cutout.
NOTE: 24″ (61.0 cm) minimum when bottom of wood or metal cabinet is covered by not less than 1/4″ (0.64 cm) flame retardant millboard covered with not less than No. 28 MSG sheet steel, 0.015″ (0.4 mm) stainless steel, 0.024″ (0.6 mm) aluminum or 0.020″ (0.5 mm) copper. 30″ (76.2 cm) minimum clearance between the top of the cooking platform and the bottom of an uncovered wood or metal cabinet.
Electrical Requirements
Electrical Requirements – U.S.A. Only
- If codes permit and a separate ground wire is used, it is recommended that a qualified electrical installer determine that the ground path and wire gauge are in accordance with local codes.
- Do not use an extension cord.
- Be sure that the electrical connection and wire size are adequate and in conformance with the National Electrical Code, ANSI/ NFPA 70-latest edition, and all local codes and ordinances.
- A copy of the above code standards can be obtained from:
- National Fire Protection Association 1 Batterymarch Park Quincy, MA 02169-7471
- WARNING: Improper connection of the equipment-grounding conductor can result in a risk of electric shock. Check with a qualified electrician or service technician if you are in doubt as to whether the appliance is properly grounded. Do not modify the power supply cord plug. If it will not fit the outlet, have a proper outlet installed by a qualified electrician.
Electrical Connection
- To properly install your range, you must determine the type of electrical connection you will be using and follow the instructions provided for it here.
- Range must be connected to the proper electrical voltage and frequency as specified on the model/serial rating plate. The model/serial rating plate is located under the storage drawer. See the installation instructions on how to remove the storage drawer. Refer to the figures in “Product Dimensions” in the “Location Requirements” section.
- This range is manufactured with the neutral terminal connected to the cabinet. Use a 3-wire, UL listed, 40 or 50 A power supply cord (pigtail) (see the following Range Rating chart). If local codes do not permit ground through the neutral, use a 4-wire power supply cord rated at 250 V, 40 or 50 A and investigated for use with ranges.
| Range Rating* | Specified Rating of Power Supply Cord Kit and Circuit Protection | |
| 120/240 V | 120/208 V | A |
| 8.8 – 16.5 kW 16.6 – 22.5 kW | 7.8 – 12.5 kW 12.6 – 18.5 kW | 40 or 50** 50 |
- The NEC calculated load is less than the total connected load listed on the model/serial rating plate.
- If connecting to a 50 A circuit, use a 50 A rated cord with kit. For 50 A rated cord kits, use kits that specify use with a nominal 1³⁄8″ (34.9 mm) diameter connection opening.
- A circuit breaker is recommended.
- The range can be connected directly to the circuit breaker box (or fused disconnect) through flexible or nonmetallic sheathed, copper or aluminum cable. See the “Electrical Connection – U.S.A. Only” section.
- Allow 2 to 3 ft (61.0 cm to 91.4 cm) of slack in the line so that the range can be moved if servicing is ever necessary.
- A UL listed conduit connector must be provided at each end of the power supply cable (at the range and at the junction box).
- Wire sizes and connections must conform with the rating of the range.
- The wiring diagram is located on the back of the range.
If connecting to a 4-wire system:
- This range is manufactured with the ground connected to the neutral by a link. The ground must be revised so the green ground wire of the 4-wire power supply cord is connected to the cabinet. See “Electrical Connection – U.S.A. Only” section.
- Grounding through the neutral conductor is prohibited for new branch-circuit installations (1996 NEC); mobile homes; and recreational vehicles, or an area where local codes prohibit grounding through the neutral conductor.
- When a 4-wire receptacle of NEMA Type 14-50R is used, a matching UL listed, 4-wire, 250 V, 40 or 50 A, range power supply cord (pigtail) must be used. This cord contains 4 copper conductors with ring terminals or open-end spade terminals with upturned ends, terminating in a NEMA Type 14-50P plug on the supply end.
- The fourth (grounding) conductor must be identified by a green or green/yellow cover and the neutral conductor by a white cover. Cord should be Type SRD or SRDT with a UL listed strain relief and be at least 4 ft (1.22 m) long.

- The minimum conductor size for the copper 4-wire power cord are:

- 40 A circuit
- 2 No.-8 conductors
- 1 No.-10 white neutral
- 1 No.-8 green grounding
- If connecting to a 3-wire system:
- Local codes may permit the use of a UL-listed, 3-wire, 250 V, 40 or 50 A range power supply cord (pigtail).
- This cord contains 3 copper conductors with ring terminals or open-end spade terminals with upturned ends, terminating in a NEMA Type 10-50P plug on the supply end. Connectors on the appliance end must be provided at the point the power supply cord enters the appliance. This uses a 3-wire receptacle of NEMA Type 10-50R.
Electrical Requirements – Canada Only
| WARNING | ||
| Electrical Shock Hazard Electrically ground range. Failure to do so can result in death, fire, or electrical shock. |
- If codes permit and a separate ground wire is used, it is recommended that a qualified electrical installer determine that the ground path is adequate and wire gauge are in accordance with local codes.
- Be sure that the electrical connection and wire size are adequate and in conformance with CSA Standard C22.1, Canadian Electrical Code, Part 1 – latest edition, and all local codes and ordinances.
- A copy of the above code standards can be obtained from:
- Canadian Standards Association
- 178 Rexdale Blvd.
- Toronto, ON M9W 1R3 CANADA
- Check with a qualified electrical installer if you are not sure the range is properly grounded.
| Range Rating* | Specified Rating of Power Supply Cord Kit and Circuit Protection | |
| 120/240 V | 120/208 V | A |
| 8.8 – 16.5 kW 16.6 – 22.5 kW | 7.8 – 12.5 kW 12.6 – 18.5 kW | 40 or 50** 50 |
- The NEC calculated load is less than the total connected load listed on the model/serial/rating plate.
- If connecting to a 50 A circuit, use a 50 A rated cord with kit. For 50 A rated cord kits, use kits that specify use with a nominal 13/8″ (34.9 mm) diameter connection opening.
- A time-delay fuse or circuit breaker is recommended.
- This range is equipped with a CSA International Certified Power Cord intended to be plugged into a standard 14-50R wall receptacle. Be sure the wall receptacle is within reach of range’s final location

- Do not use an extension cord.
INSTALLATION INSTRUCTIONS
Unpack Range
WARNING
- Excessive Weight Hazard
- Use two or more people to move and install range. Failure to do so can result in back or other injury.
- Remove shipping materials, tape and film from range.
- Remove oven racks and parts package from inside oven and on top of range.
- Do not remove the shipping base at this time.

Remove the storage drawer. See the “Storage Drawer” section. Use a wrench or pliers to lower front leveling legs one-half turn.
Backguard Assembly
Tools Required:
- Phillips Screwdriver
Parts Supplied:
- (2)Assembly Screws# lOA x1/2 Phillips Pan Hd Screw
- Lower Backguard down while guiding the Backguard slotsdown between the range top and the locking nuts.
- Use the two assembly screws to attach the back corners ofthe Backguard to the side panels.

Install Anti-Tip Bracket
| WARNING | ||
| Tip Over Hazard A child or adult can tip the range and be killed. Install anti-tip bracket to floor or wall per installation instructions. Slide range back so rear range foot is engaged in the slot of the anti-tip bracket. Re-engage anti-tip bracket if range is moved. Do not operate range without anti-tip bracket installed and engaged. Failure to follow these instructions can result in death or serious burns to children and adults. |
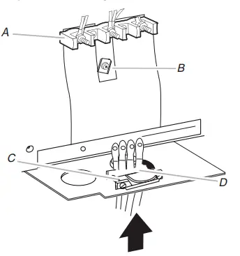
- Remove the anti-tip bracket from inside the literature bag assembly located in the oven.
- Determine which mounting method to use: floor or wall.
If you have a stone or masonry floor, you can use the wall mounting method. If you are installing the range in a mobile home, you must secure the range to the floor. - It is necessary to determine the final location of the range before you can locate the anti-tip bracket. If the range is going to be located between cabinets, place the bracket so that Edge A sits flat against the rear wall. Edge B should just touch the side of the cabinet sitting to the right side of the range.
If there are no adjacent cabinets, align Edge B of the bracket with the edge of the range side. After the bracket has been placed mark the hole locations with a marker. - The anti-tip bracket can be attached to the floor or the wall. For wall mount application use Location C. When using location C, the screws must penetrate the wall sill plate located within the wall. For floor mount application use Location D or E. One screw on each side of the bracket is sufficient.
- To mount anchor bracket to concrete or ceramic floor, use a drill with a 3/16″ masonry bit to drill the two holes. Tap plastic anchor into mounting holes in floor with a hammer. Line up holes in anti-tip bracket to holes in floor. Use the two screws provided to fasten anti-tip bracket to floor.
- Unscrew the rear leg levelers approximately 1/2″ so that the rear leg levelers will slide in under the anti-tip bracket. Slide range into the final position after completing the gas and electrical connections to the range.
Power Supply Cord
| WARNING | WARNING | |||
| Electrical Shock Hazard Disconnect power before servicing. Use a new 40 A power supply cord. Plug into a grounded outlet. Failure to follow these instructions can result in death, fire, or electrical shock. | Electrical Shock Hazard Disconnect power before servicing. Use 8 gauge copper or 6 gauge aluminum wire. Electrically ground range. Failure to follow these instructions can result in death, fire, or electrical shock. |
- Disconnect power.
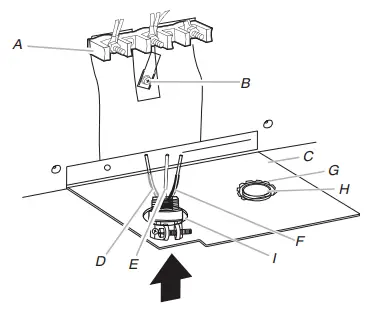
- Remove the terminal block cover screws located on the back of the range.
Remove the top 10-31 hex nuts and lugs from each of the 3 terminal blocks and set aside.
- Add strain relief.
Style 1: Power supply cord strain relief
- Assemble a UL listed strain relief in the opening that is centered beneath the conduit bracket.

- A. UL listed strain relief
- Tighten strain relief screw against the power supply cord.

- Style 2: Direct wire strain relief
- When direct wiring, relocate the conduit bracket so the left hole is centered beneath the terminal block.
- Assemble a UL-listedconduit connector in the opening.

- A. Removable retaining nut
- B. Conduit
- C. Conduit bracket
- D. Direct wire strain relief
- E. Power cord strain relief
NOTE : When direct wiring, use the hole on the left.
- Tighten strain relief screw against the flexible conduit.

- Complete installation following instructions for your type of electrical connection:
- 4-wire (recommended)
- 3-wire (if 4-wire is not available)
Electrical Connection Options
4-wire connection: Power Supply Cord
Use this method for:
- New branch-circuit installations (1996 NEC)
- Mobile homes
- Recreational vehicles
- In an area where local codes prohibit grounding through the neutral
- Part of the metal ground strap must be cut out and removed.

- Use a 5/16″ (7.9 mm) nut driver to remove the ground-link screw from the back of the range. Save the ground-link screw and the end of the ground link under the screw.
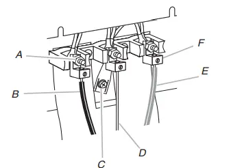
- Feed the power supply cord through the strain relief on the cord/conduit plate on bottom of range. Allow enough slack to easily attach the wiring to the terminal block.
A. Terminal block
B. Ground-link screw
C. UL listed strain relief
D. Power supply cord wires - Use a 5/16″ (7.9 mm) nut driver to connect the green ground wire from the power supply cord to the range with the ground-link screw and ground-link section. The ground wire must be attached first.
- Use 3/8″ (1.0 cm) nut driver to connect the neutral (white) wire to the center terminal block post with one of the 10–32 hex nuts.
A. 10–32 hex nut
B. Ground-link screw
C. Line 2 (red)
D. Green ground wire
E. Neutral (center) wire
F. Line 1 (black) - Connect line 2 (red) and line 1 (black) wires to the outer terminal block posts with 10-32 hex nuts.
- Securely tighten hex nuts.
NOTE: For power supply cord replacement, use only a power cord rated at 250 V minimum, 40 A or 50 A that is marked for use with nominal 1³⁄8″ (3.5 cm) diameter connection opening, with ring terminals and marked for use with ranges. - Tighten strain relief screws.
- Replace terminal block access cover.
3-wire connection: Power Supply Cord
Use this method only if local codes permit connecting chassis ground conductor to neutral wire of power supply cord.
- Feed the power supply cord through the strain relief on the cord/conduit plate on bottom of range. Allow enough slack to easily attach the wiring to the terminal block.
A. Terminal block
B. Ground-link screw
C. UL listed strain relief
D. Power supply cord wires – large opening - Use 3/8″ (1.0 cm) nut driver to connect the neutral (white)wire to the center terminal block post with one of the 10–32 hex nuts.
A. 10–32 hex nut
B. Line 2 (red)
C. Ground-link screw
D. Neutral (white) wire
E. Line 1 (black) - Connect line 2 (red) and line 1 (black) wires to the outer terminal block posts with 10-32 hex nuts.
- Securely tighten hex nuts.
NOTE: For power supply cord replacement, use only a power cord rated at 250 V minimum, 40 A or 50 A that is marked for use with nominal 1³⁄8″ (3.5 cm) diameter connection opening, with ring terminals and marked for use with ranges. - Tighten strain relief screws.
- Replace terminal block access cover
Direct Wire Installation: Copper or Aluminum Wire
This range may be connected directly to the fuse disconnect or circuit breaker box. Depending on your electrical supply, make the required 3-wire or 4-wire connection.
- Strip outer covering back 3″ (7.6 cm) to expose wires. Strip the insulation back 3/8″ (1.0 cm) from the end of each wire.

- Allow enough slack in the wire to easily attach the wiring terminal block.
- Complete electrical connection according to your type of electrical supply (4-wire or 3-wire connection).
4-wire Connection: Direct Wire
Use this method for:
- New branch-circuit installations (1996 NEC)
- Mobile homes
- Recreational vehicles
- In an area where local codes prohibit grounding through the neutral
- Part of metal ground strap must be cut out and removed.
A. Metal ground strap
B. Discard
C. Ground-link screw - Use a 5/16″ (7.9 mm) nut driver to remove the ground-link screw from the back of the range. Save the ground-link screw and the end of the ground link under the screw.
- Pull the wires through the strain relief on bottom of range. Allow enough slack to easily attach wiring to the terminal block.
- When direct wiring, relocate the conduit bracket so the left hole is centered beneath the terminal block.

- A. Terminal block
- B. Ground-link screw
- C. Conduit bracket
- D. Bare (green) ground wire
- E. Line 2 (red) wire
- F. Neutral (white) wire
- G. Line 1 (black) wire
- H. Removable retaining nut
- I. Power cord strain relief
- J. Direct wire strain relief
- Attach terminal lugs to line 1 (black), neutral (white), and line 2 (red) wires. Loosen (do not remove) the setscrew on the front of the terminal lug and insert exposed wire end through bottom of terminal lugs. Securely tighten setscrew to torque as shown in the following Bare Wire Torque Specifications chart.

- A. Terminal lug
- B. Setscrew
- C. Line 2 (red) wire
- D. Neutral (white) wire
- E. Line 1 (black) wire
Bare Wire Torque Specifications
Attaching terminal lugs to the terminal block – 20 lbs-in (2.3 N-m).
| Wire AWG | Torque |
| 8 gauge copper | 25 lbs-in. (2.8 N-m) |
| 6 gauge aluminum | 35 lbs-in. (4.0 N-m) |
- Use a hex or 5/16″ (7.9 mm) nut driver to connect the bare (green) ground wire to the range with the ground-link screw and ground-link section. The ground wire must be attached first and must not contact any other terminal.
- Use 3/8″ (1.0 cm) nut driver to connect the neutral (white) wire to the center terminal block post with one of the 10–32 hex nuts.

- A. 10-32 hex nut
- B. Line 2 (red)
- C. Bare (green) ground wire
- D. Ground-link screw
- E. Neutral (white) wire
- F. Line 1 (black)
- G. Terminal lug
- Connect line 2 (red) and line 1 (black) wires to the outer terminal block posts with 10-32 hex nuts.
- Securely tighten hex nuts.
- Replace terminal block access cover.
3-wire connection: Direct Wire
Use this method only if local codes permit connecting ground conductor to neutral supply wire.
- Pull the wires through the conduit on cord/conduit plate on bottom of range. Allow enough slack to easily attach the wiring to the terminal block.
- When direct wiring, relocate the conduit bracket so the left hole is centered beneath the terminal block.

- A. Terminal block
- B. Ground-link screw
- C. Conduit bracket
- D. Line 2 (red) wire
- E. Bare (green) ground wire
- F. Line 1 (black) wire
- G. Removable retaining nut
- H. Power cord strain relief
- I. Direct wire strain relief
- Attach terminal lugs to line 2 (red), bare (green) ground, and line 1 (black) wires. Loosen (do not remove) the setscrew on the front of the terminal lug and insert exposed wire end through bottom of terminal lugs. Securely tighten setscrew to torque as shown in the following Bare Wire Torque Specifications chart

- A. Terminal lug
- B. Setscrew
- C. Line 2 (red) wire
- D. Bare (green) ground wire
- E. Line 1 (black) wire
Bare Wire Torque Specifications
- Attaching terminal lugs to the terminal block – 20 lbs-in. (2.3 N-m).
| Wire AWG | Torque |
| 8 gauge copper | 25 lbs-in. (2.8 N-m) |
| 6 gauge aluminum | 35 lbs-in. (4.0 N-m) |
- Use 3/8″ nut driver to connect the bare (green) ground wire to the center terminal block post with one of the 10–32 hex nuts.

- A. 10–32 hex nut
- B. Line 2 (red)
- C. Ground-link screw
- D. Bare (green) ground wire
- E. Line 1 (black)
- F. Terminal lug
- Connect line 2 (red) and line 1 (black) wires to the outer terminal block posts with 10-32 hex nuts.
- Securely tighten hex nuts.
- Replace terminal block access cover.
Verify Anti-Tip Bracket Is Installed and Engaged
- Place the outside of your foot against the bottom front of the drawer, and grasp the lower right or left side of the backguard as shown.
NOTE: If your countertop is mounted with a backsplash, it may be necessary to grasp the range higher than is shown in the illustration.
- Slowly attempt to tilt the range forward. If you encounter immediate resistance, the range foot is engaged in the anti-tip bracket.
- If the rear of the range lifts more than 1/2″ (1.3 cm) off the floor without resistance, stop tilting the range and lower it gently back to the floor. The range foot is not engaged in the anti-tip bracket.
IMPORTANT: If there is a snapping or popping sound when lifting the range, the range may not be fully engaged in the bracket. Check to see if there are obstructions keeping the range from sliding to the wall or keeping the range foot from sliding into the bracket. Verify that the bracket is held securely in place by the mounting screws. - Slide the range forward, and verify that the anti-tip bracket is securely attached to the floor or wall.
- Slide range back so the rear range foot is inserted into the slot of the anti-tip bracket.
IMPORTANT: If the back of the range is more than 2″ (5.1 cm) from the mounting wall, the rear range foot may not engage the bracket. Slide the range forward and determine if there is an obstruction between the range and the mounting wall. If you need assistance or service, refer to the “Assistance or Service” section of the Use and Care Guide, or the cover or “Warranty” for contact information. - Repeat steps 1 and 2 to ensure that the range foot is engaged in the anti-tip bracket. If the rear of the range lifts more than 1/2″ (1.3 cm) off the floor without resistance, the anti-tip bracket may not be installed correctly. Do not operate the range without anti-tip bracket installed and engaged. Please reference the “Assistance or Service” section of the Use and Care Guide, or the cover or “Warranty” to contact service.
Level Range
Use a wrench or pliers to adjust leveling legs up or down until the range is level. Push range back into position. Check that rear-leveling leg is engaged in the anti-tip bracket.
NOTE: Range must be level for satisfactory baking performance.
Storage Drawer
The storage drawer can be removed for easier Cleaning. To remove:
- Pull drawer out to the stop position.
- Push up under the center of the drawer while pulling the drawer out to allow the drawer stop to clear the range front frame.

- Drawer will slide out free of range.
NOTE : To avoid damage to the storage drawer, do not use steel wool pads, commercial oven cleaner, silicone oven sprays, coarse pads or coarse brushes.
Complete Installation
- 1. Check that all parts are now installed. If there is an extra part, go back through the steps to see which step was skipped.
- Check that you have all of your tools.
- Dispose of/recycle all packaging materials.
- Check that the range is level. See the “Level Range” section.
- Use a mild solution of liquid household cleaner and warm water to remove waxy residue caused by shipping material. Dry thoroughly with a soft cloth. For more information, read the “Range Care” section of the Use and Care Guide or User Instructions.
- Read the “Range Use” section of the Use and Care Guide or User Instructions.
- Plug power cord into appropriate outlet. Turn power on.
- Turn on surface burners and oven. See the Use and Care Guide or User Instructions for specific instruction on range operation.
- If range does not operate, check the following:
- Household fuse is intact and tight; or circuit breaker has not tripped.
- Range is plugged into an outlet.
- Electrical supply is connected.
- See “Troubleshooting” in the Use and Care Guide or User Instructions.
- When the range has been on for 5 minutes, check for heat. If range is cold, turn off the range and see “Troubleshooting” in the Use and Care Guide or User Instructions.
Moving the Range
WARNING
- Tip Over Hazard
- A child or adult can tip the range and be killed.
- Install anti-tip bracket to floor or wall per installation instructions.
- Slide range back so rear range foot is engaged in the slot of the anti-tip bracket.
- Re-engage anti-tip bracket if range is moved.
- Do not operate range without anti-tip bracket installed and engaged.
- Failure to follow these instructions can result in death or serious burns to children and adults.
- When moving range, slide range onto cardboard or hardboard to avoid damaging the floor covering.
If removing the range is necessary for cleaning or maintenance: For power supply cord-connected ranges:
- Slide range forward.
- Unplug the power supply cord.
- Complete cleaning or maintenance.
- Plug in power supply cord.
- Check that the anti-tip bracket is installed and engaged. See the “Verify Anti-Tip Bracket Is Installed and Engaged” section.
- Check that range is level.
For direct-wired ranges:
WARNING
- Electrical Shock Hazard
- Disconnect power before servicing.
- Replace all parts and panels before operating. Failure to do so can result in death or electrical shock.
- Disconnect power.
- Slide range forward.
- Complete cleaning or maintenance.
- Check that the anti-tip bracket is installed and engaged. See the “Verify Anti-Tip Bracket Is Installed and Engaged” section.
- Check that range is level.
- Reconnect power.
- ©2020 All rights reserved. Used under license in Canada.
- W11169656B








If there are no adjacent cabinets, align Edge B of the bracket with the edge of the range side. After the bracket has been placed mark the hole locations with a marker.
Remove the top 10-31 hex nuts and lugs from each of the 3 terminal blocks and set aside.





A. Terminal block
A. 10–32 hex nut
A. Terminal block
A. 10–32 hex nut
A. Metal ground strap
























