FRONT CONTROL ELECTRIC FREESTANDING RANGE
OWNER’S MANUAL
IMPORTANT: Save for local electrical inspector’s use.
RANGE SAFETY
Your safety and the safety of others are very important.
We have provided many important safety messages in this manual and on your appliance. Always read and obey all safety messages.
This is the safety alert symbol.
This symbol alerts you to potential hazards that can kill or hurt you and others.
All safety messages will follow the safety alert symbol and either the word “DANGER” or “WARNING.” These words mean:
You can be killed or seriously injured if you don’t immediately follow instructions.
You can be killed or seriously injured if you don’t follow instructions.
All safety messages will tell you what the potential hazard is, tell you how to reduce the chance of injury, and tell you what can happen if the instructions are not followed.
The range will not tip during normal use. However, the range can tip if you apply too much force or weight to the open door without having the anti-tip bracket fastened down properly.
![]() | |
| Tip-Over Hazard A child or adult can tip the range and be killed. Install anti-tip bracket to floor or wall per installation instructions. Slide range back so the rear range foot is engaged in the slot of the anti-tip bracket. Re-engage the anti-tip bracket if the range is moved. Do not operate the range without an anti-tip bracket installed and engaged. Failure to follow these instructions can result in death or serious burns to children and adults. | |
![]() | To verify the anti-tip bracket is properly installed and engaged:
|
IMPORTANT SAFETY INSTRUCTIONS
WARNING: To reduce the risk of fire, electric shock, or injury to persons when using the appliance, follow basic precautions, including the following:
- WARNING: TO REDUCE THE RISK OF TIPPING OF THE RANGE, THE RANGE MUST BE SECURED BY PROPERLY INSTALLED ANTI-TIP DEVICES. TO CHECK IF THE DEVICES ARE INSTALLED PROPERLY, SLIDE RANGE FORWARD, LOOK FOR AN ANTI-TIP BRACKET SECURELY ATTACHED TO THE FLOOR OR WALL, AND SLIDE RANGE BACK SO THE REAR RANGE FOOT IS UNDER THE ANTI-TIP BRACKET.
- CAUTION: Do not store items of interest to children in cabinets above an appliance or on the backguard of an appliance – children climbing on the appliance to reach items could be seriously injured.
- Proper Installation – The appliance, when installed, must be electrically grounded in accordance with local codes, or in the absence of local codes, with the National Electrical Code, ANSI/NFPA 70, or the Canadian Electrical Code, CSA C22.1-02. In Canada, the appliance must be electrically grounded in accordance with the Canadian Electrical Code. Be sure your appliance is properly installed and grounded by a qualified technician.
- Never Use Your Appliance for Warming or Heating the Room.
SAVE THESE INSTRUCTIONS
- Do Not Leave Children Alone – Children should not be left alone or unattended in areas where the appliance is in use. They should never be allowed to sit or stand on any part of the appliance.
- Wear Proper Apparel – Loose-fitting or hanging garments should never be worn while using the appliance.
- User Servicing – Do not repair or replace any part of the appliance unless specifically recommended in the manual. All other servicing should be referred to a qualified technician.
- Storage in or on Appliance – Flammable materials should not be stored in an oven or near surface units.
- This appliance is not intended for storage.
- Do Not Use Water on Grease Fires – Smother fire or flame or use a dry chemical or foam-type extinguisher.
- Do not use replacement parts that have not been recommended by the manufacturer (e.g. parts made at home using a 3D printer).
- Use Only Dry Potholders – Moist or damp potholders on hot surfaces may result in burns from steam. Do not let the potholder touch hot heating elements. Do not use a towel or other bulky cloth.
- DO NOT TOUCH SURFACE UNITS OR AREAS NEAR UNITS – Surface units may be hot even though they are dark in color. Areas near surface units may become hot enough to cause burns. During and after use, do not touch, or let clothing or other flammable materials contact surface units or areas near units until they have had sufficient time to cool. Among these areas are the coil elements, the cooktop, and the surfaces facing the cooktop.
- Use Proper Pan Size – This appliance is equipped with one or more surface units of different sizes. Select utensils having flat bottoms large enough to cover the surface unit heating element. The use of undersized utensils will expose a portion of the heating element to direct contact and may result in the ignition of clothing. Proper relationship of utensil to burner will also improve efficiency.
- Never Leave Surface Units Unattended at High Heat Settings – Boilover causes smoking and greasy spillovers that may ignite.
- Make Sure Reflector Pans or Drip Bowls Are in Place – The absence of these pans or bowls during cooking may subject wiring or components underneath to damage.
- Protective Liners – Do not use aluminum foil to line surface unit drip bowls or oven bottoms, except as suggested in the manual. Improper installation of these liners may result in a risk of electric shock, or fire.
- Glazed Cooking Utensils – Only certain types of glass, glass/ceramic, ceramic, earthenware, or other glazed utensils are suitable for range-top service without breaking due to the sudden change in temperature.
- Utensil Handles Should Be Turned Inward and Not Extend Over Adjacent Surface Units – To reduce the risk of burns, ignition of flammable materials, and spillage due to unintentional contact with the utensil, the handle of a utensil should be positioned so that it is turned inward, and does not extend over adjacent surface units.
- Do Not Soak Removable Heating Elements – Heating elements should never be immersed in water.
- Do Not Cook on Broken Cook-Top – If the cook-top should break, cleaning solutions and spillovers may penetrate the broken cooktop and create a risk of electric shock. Contact a qualified technician immediately.
- Clean Cooktop With Caution – If a wet sponge or cloth is used to wipe spills on a hot cooking area, be careful to avoid steam burn. Some cleaners can produce noxious fumes if applied to a hot surface.
- Use Care When Opening Door – Let hot air or steam escape before removing or replacing food.
- Do Not Heat Unopened Food Containers – A build-up of pressure may cause the container to burst and result in injury.
- Keep Oven Vent Ducts Unobstructed.
- Placement of Oven Racks – Always places oven racks in the desired location while the oven is cool. If the rack must be moved while the oven is hot, do not let the potholder contact hot heating element in the oven.
- DO NOT TOUCH HEATING ELEMENTS OR INTERIOR SURFACES OF OVEN – Heating elements may be hot even though they are dark in color. Interior surfaces of an oven become hot enough to cause burns. During and after use, do not touch, or let clothing or other flammable materials contact heating elements or interior surfaces of the oven until they have had sufficient time to cool. Other surfaces of the appliance may become hot enough to cause burns – among these surfaces are oven vent openings and surfaces near these openings, oven doors, and windows of oven doors.
- Care must be taken to prevent aluminum foil and meat probes from contacting heating elements.
For self-cleaning ranges –
- Do Not Clean Door Gasket – The door gasket is essential for a good seal. Care should be taken not to rub, damage, or move the gasket.
- Do Not Use Oven Cleaners – No commercial oven cleaner or oven liner protective coating of any kind should be used in or around any part of the oven.
- Clean Only Parts Listed in Manual.
- Before Self-Cleaning the Oven – Remove the broiler pan and other utensils.
For units with ventilating hood –
- Clean Ventilating Hoods Frequently – Grease should not be allowed to accumulate on the hood or filter.
- When flaming foods under the hood, turn the fan on.
For smart enabled ranges and ovens
- Remote operation – This appliance is configurable to allow remote operation at any time. Do not store any flammable materials or temperature-sensitive items inside, on top, or near-surface units of the appliance.
SAVE THESE INSTRUCTIONS
RANGE MAINTENANCE AND CARE
Self-Cleaning Cycle (on some models)
![]() |
Burn Hazard Do not touch the oven during the Self-Cleaning cycle. |
IMPORTANT: The health of some birds is extremely sensitive to the fumes given off during the Self-Cleaning cycle. Exposure to fumes may result in the death of certain birds. Always move birds to another closed and well-ventilated room.
Keep the kitchen well-ventilated during the Self-Cleaning cycle to help get rid of heat, odors, and smoke.
Do not block the oven vent(s) during the Self-Cleaning cycle. Air must be able to move freely. Depending on your model, see the “Oven Vent” or “Oven Vents” section in your Quick Start Guide.

Do not clean, rub, damage, or move the oven door gasket.
Prepare Range:
- Remove the broiler pan, grid, cookware, and bakeware, all cooking utensils, oven racks, aluminum foil, and, on some models, the temperature probe from the oven.
- Use a damp cloth to clean the inside door edge and the 1½” (3.8 cm) area around the inside oven cavity frame, being certain not to move or bend the gasket.
- Remove plastic items from the cooktop because they may melt.
- Remove all items from the storage drawer.
How the Cycle Works
IMPORTANT: The heating and cooling of porcelain on steel in the oven may result in discoloring, loss of gloss, hairline cracks, and popping sounds.
Before self-cleaning, make sure the door is completely closed or the door will not lock and the Self-Cleaning cycle will not begin.
Once the oven has completely cooled, remove the ash with a damp cloth. To avoid breaking the glass, do not apply a cool damp cloth to the inner door glass before it has completely cooled.
To stop the Self-Cleaning cycle at any time, press CANCEL or OFF/CANCEL. If the temperature is too high, the oven door will remain locked, and “cool” and “locked ” or “
” will be displayed.
The cooling fan may continue to run.
The oven light will not function during the Self-Cleaning cycle.
Electronic Oven Control with Adjustable Clean Time (on some models)
The Self-Cleaning cycle is time adjustable between 2 hours 30 minutes and 4 hours 30 minutes in 30-minute increments.
Suggested clean times are 2 hours 30 minutes for light soil and 4 hours 30 minutes for heavy soil.
IMPORTANT: When the cooktop is in use, the Self-Cleaning cycle will be disabled. When the Self-Cleaning cycle is in use, the cooktop will be locked.
To Self-Clean:
- Press CLEAN.
- Press the Temp/Time up or down arrow keypad to enter the desired Self-Cleaning cycle time.
- Press START.
The oven door will automatically lock. The Door Locked and Clean indicator lights will be displayed. The time remaining will also be displayed. - When the Self-Cleaning cycle is complete and the oven cools, the Door Locked and Clean indicator lights will turn off.
- When the oven is completely cooled, remove the ash with a damp cloth.
To exit the Self-Cleaning cycle before being completed, press CANCEL or OFF/CANCEL. The door will unlock once the oven cools.
General Cleaning
IMPORTANT: Before cleaning, make sure all controls are off and the oven and cooktop are cool. Always follow label instructions on cleaning products.
Soap, water, and a soft cloth or sponge are suggested first unless otherwise noted.
EXTERIOR PORCELAIN ENAMEL SURFACES (on some models)
Food spills containing acids, such as vinegar and tomato, should be cleaned as soon as the entire range is cool. These spills may affect the finish.
Cleaning Method:
- Glass cleaner, mild liquid cleaner, or nonabrasive scrubbing pad: Gently clean around the model/serial/rating plate because scrubbing may remove numbers.
- Affresh® Kitchen and Appliance Cleaner Part Number W10355010 (not included): See the Quick Start Guide for contact information.
STAINLESS STEEL (on some models)
NOTE: To avoid damage to stainless steel surfaces, do not use soap-filled scouring pads, abrasive cleaners, Cooktop cleaners, steel-wool pads, gritty washcloths, or abrasive paper towels.
Damage may occur to stainless steel surfaces, even with one-time or limited use.
Cleaning Method:
Rub in direction of the grain to avoid damage.
- Affresh® Stainless Steel Cleaner Part Number W10355016 (not included): See the Quick Start Guide for contact information.
METALLIC PAINT (on some models)
Do not use abrasive cleaners, cleaners with bleach, rust removers, ammonia, or sodium hydroxide (lye) because the paint surface may stain.
CERAMIC GLASS COOKTOP CLEANING
Cleaning Method:
To avoid damaging the cooktop, do not use steel wool, abrasive powder cleansers, chlorine bleach, rust remover, or ammonia.
- Remove food/residue with the Cooktop Scraper.
• For best results, use the Cooktop Scraper while the cooktop is still warm but not hot to the touch. It is recommended to wear an oven mitt while scraping the warm cooktop.
• Hold the Cooktop scrapper at approximately a 45° angle against the glass surface and scrape the residue. It will be necessary to apply pressure in order to remove the residue.
Allow the cooktop to cool down completely before proceeding to Step 2. - Apply a few dime-sized drops of Cooktop Cleaner to the affected areas.
• Rub affresh® Cleaner onto the cooktop surface with the blue Cooktop Cleaning Pad. Some pressure is needed to remove stubborn stains.
• Allow the cleaner to dry to a white haze before proceeding to Step 3. - Polish with a clean, dry cloth or a clean, dry paper towel.
• Repeat steps 1 through 3 as necessary for stubborn or burned-on stains.
The Complete Cooktop Cleaner Kit is available for order including the following:
• Cooktop Scraper
•Affresh® Cooktop Cleaner
•Blue Cooktop Cleaning Pads See the Quick Start Guide for ordering information.
COOKTOP CONTROLS
To avoid damage to the cooktop controls, do not use steel wool, abrasive cleansers, or oven cleaner.
To avoid damage, do not soak knobs. When replacing knobs, make sure knobs are in the Off position.
On some models, do not remove seals under knobs.
Cleaning Method:
- Soap and water: Pull knobs straight away from the control panel to remove
CONTROL PANEL AND OVEN DOOR EXTERIOR
To avoid damage to the control panel, do not use abrasive cleaners, steel-wool pads, gritty washcloths, or abrasive paper towels.
Cleaning Method:
- Glass cleaner and soft cloth or sponge: Apply glass cleaner to soft cloth or sponge, not directly on the panel.
- Alfresco Kitchen and Appliance Cleaner Part Number W10355010 (not included): See the Quick Start Guide for contact information.
COIL ELEMENTS (on some models)
Cleaning Method:
- Damp cloth: Make sure control knobs are OFF and elements are cool
Do not clean or immerse in water. The soil will burn off when hot.
BURNER BOWLS (on some models)
Before removing or replacing coil elements and burner bowls, make sure they are cool and the control knobs are in the OFF position.
Remove the coil element by pushing the edge of the coil element toward the receptacle. Lift it enough to clear the burner bowl. Pull the coil element straight away from the receptacle to remove it. Lift out the burner bowl.
Cleaning Method:
Chrome burner bowls
Wash frequently in warm, soapy water. (It is not recommended to wash chrome bowls in a dishwasher.) A mild abrasive cleaner and a plastic scrubber can be used to remove stubborn stains.
For heavily soiled bowls, place an ammonia-soaked paper towel on the stains and allow to soak for a short time, then gently scrub with a plastic scrubber.
SURFACE UNDER COOKTOP (on some models)
The coil cooktop will lift up to provide easy access for cleaning beneath. Lift the cooktop by both front corners until the support locks into place.
Cleaning Method:
- Glass cleaner, mild liquid cleaner, or nonabrasive scrubbing
- Affresht Kitchen and Appliance Cleaner Part Number W10355010 (not included): See the Quick Start Guide for contact information.
To avoid damage to the range, do not remove the cooktop.
OVEN RACKS
Cleaning Method:
- Steel-wool pad
- For racks that have discolored and are harder to slide, a light coating of vegetable oil applied to the rack guides will help them slide
- Dishwasher (steam rack water reservoir only, not racks): Although the water reservoir is durable, it may lose its shine and/or discolor when washed in a dishwasher
STORAGE DRAWER OR WARMING DRAWER (on some models)
Check that the storage drawer or warming drawer is cool and empty before cleaning.
Cleaning Method:
- Mild detergent
OVEN CAVITY
Do not use oven cleaners.
Food spills should be cleaned when the oven cools. At high temperatures, foods react with porcelain. Staining, etching, pitting, or faint white spots can result.
Cleaning Method:
- Clean cycle: See the “Self-Cleaning Cycle’ section.
INSTALLATION INSTRUCTIONS
REQUIREMENTS
Tools and Parts
Gather the required tools and parts before starting installation. Read and follow the instructions provided with any tools listed here.
Tools needed
- Tape measure
- Flat-blade screwdriver
- Phillips screwdriver
- Level
- Hammer
- Hand or electric drill
- Wrench or pliers
- Marker or pencil
- Flashlight
- Masking tape
- 1/4″ (6.4 mm) drive ratchet
- 1/4″ (6.4 mm) nut driver
- 3/8″ (9.5 mm) and 5/16″ (8 mm) nut driver
- 1/8″ (3.2 mm) drill bit (for wood floors)
- Tin snips or large wire cutters (for cutting ground strap if necessary)
Parts supplied
Check that all parts are included.
- 10-32 hex nuts (attached to terminal block) (3)
- Direct wire lugs (3)
- #10 x 1W (4.1 cm) screws (for mounting anti-tip bracket) (2)
- Anti-tip bracket (inside oven cavity)
Anti-tip bracket must be securely mounted to the back wall or floor. The thickness of flooring may require longer screws to anchor the bracket to the subfloor. Longer screws are available from your local hardware store.
Parts needed
If using a power supply cord kit:
- A UL listed power supply cord kit marked for use with ranges. The cord should be rated at 250 V minimum, 40 A, or 50 A that is marked for use with a nominal 14/8″ (3.5 cm) diameter connection opening and must end in ring terminals or open-end spade terminals with upturned ends.
- A UL-listed strain relief.
Check local codes. Check existing electrical supply. See the appropriate “Electrical Requirements” section.
It is recommended that all electrical connections be made by a licensed, qualified electrical installer.
NOTE: Be sure to purchase only Whirlpool factory-certified parts and accessories for your appliance. Your installation may require additional parts. To order, refer to the contact information referenced in your Quick Start Guide.
Location Requirements
IMPORTANT: Observe all governing codes and ordinances.
- It is the installer’s responsibility to comply with installation clearances specified on the model/serial/rating plate. The model/serial/rating plate is located behind the oven door on the top right-hand side of the oven frame.
- The range should be located for convenient use in the kitchen.
- Recessed installations must provide a complete enclosure of the sides and rear of the range.
- All openings in the wall or floor where the range is to be installed must be sealed.
- The Cabinet opening dimensions that are shown must be used. Given dimensions are minimum clearances.
- The anti-tip bracket must be installed. To install the anti-tip bracket shipped with the range, see the “Install Anti-Tip Bracket’ section.
- A grounded electrical supply is required. See the appropriate “Electrical Requirements’ section.
- Contact a qualified floor covering installer to check that the floor covering can withstand at least 200°F (93°C).
- Use an insulated pad or 1/4″ (0.64 cm) plywood under range if installing range over carpeting.
IMPORTANT: To avoid damage to your cabinets, check with your builder or cabinet supplier to make sure that the materials used will not discolor, delaminate or sustain other damage. This oven has been designed in accordance with the requirements of UL and CSA International and complies with the maximum allowable wood cabinet temperatures of 194°F (90°C).
Mobile Home – Additional Installation Requirements
The installation of this range must conform to the Manufactured Home Construction and Safety Standard, Title 24 CFR, Part 3280 (formerly the Federal Standard for Mobile Home Construction and Safety, Title 24, HUD Part 280). When such a standard is not applicable, use the Standard for Manufactured Home Installations, ANSI A225.1/NFPA 501A, or with local codes.
In Canada, the installation of this range must conform with the current standards CAN/CSA-Z240.1-latest edition, or with local codes.
Mobile home installations require:
- When this range is installed in a mobile home, it must be
secured according to the instructions in this document. - Four-wire power supply cord or cable must be used in a mobile home installation. The appliance wiring will need to be revised. See “Electrical Connection – U.S.A. Only’ section.
Cabinet Dimensions
Cabinet opening dimensions shown are for 25″ (64.0 cm) countertop depth, 24″ (61.0 cm) base cabinet depth, and 36″ (91.4 cm) countertop height.
IMPORTANT: If installing a range hood or microwave hood combination above the range, follow the range hood or microwave hood combination installation instructions for dimensional clearances above the cooktop surface.
Range may be installed next to combustible walls with zero clearance.
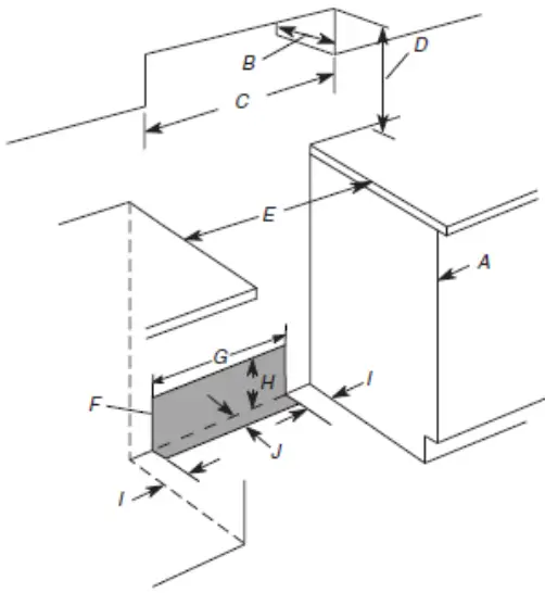
| A. Cabinet door or hinges should not extend into the cutout. B. 13″ (33 cm) max. upper cabinet depth C. 30″ (76.2 cm) min. opening width D. For minimum clearance to the top of the cooktop. see NOTE’. E. 30″ (76.2 cm) min. opening width | F. The shaded area is recommended for the installation of a grounded outlet. G. 13’/e”(33.3 cm) H. 7’%C(19.5 cm) L 441,3″ (12.2 cm) J. 31146″ (9.4 cm) |
NOTE: 24″ (61.0 cm) minimum when the bottom of wood or metal cabinet is shielded by not less than 1/4″ (0.64 cm) flame retardant millboard covered with not less than No. 28 MSG sheet steel, 0.015″ (0.4 mm) stainless steel, 0.024″ (0.6 mm) aluminum or 0.020″ (0.5 mm) copper.
30″ (76.2 cm) minimum clearance between the top of the cooking platform and the bottom of an uncovered wood or metal cabinet.
Electrical Requirements – U.S.A. Only
If codes permit and a separate ground wire is used, it is recommended that a qualified electrical installer determine that the ground path and wire gauge are in accordance with local codes.
Do not use an extension cord.
Be sure that the electrical connection and wire size are adequate and in conformance with the National Electrical Code, ANSI/NFPA 70-latest edition, and all local codes and ordinances.
A copy of the above code standards can be obtained from:
National Fire Protection Association
1 Batterymarch Park
Quincy, MA 02169-7471
WARNING: Improper connection of the equipment-grounding conductor can result in a risk of electric shock. Check with a qualified electrician or service technician if you are in doubt as to whether the appliance is properly grounded. Do not modify the power supply cord plug. If it will not fit the outlet, have a proper outlet installed by a qualified electrician.
Electrical Connection
To properly install your range, you must determine the type of electrical connection you will be using and follow the instructions provided for it here.
- The range must be connected to the proper electrical voltage and frequency as specified on the model/serial/rating plate. The model/serial/rating plate is located behind the oven door on the top right-hand side of the oven frame.
A. model/serial/rating plate (located behind the oven door on the top right-hand side of the oven frame) - This range is manufactured with a neutral terminal connected to the cabinet. Use a 3-wire, UL listed, 40 or 50 A power supply cord (pigtail). See the following Range Rating If local codes do not permit ground through the neutral, use a 4-wire power supply cord rated at 250 V, 40, or 50 A and investigated for use with ranges.
Range Rating–
Specified Rating of Power Supply Cord Kit and Circuit Protection
120/240 V 120/208 V Amps 8.8 – 16.5 kW 7.8 – 12.5 kW 40 or 50** 16.6 – 22.5 kW 12.6 – 18.5 kW 50 * The NEC calculated load is less than the total connected load listed on the model/serial/rating plate.
**If connecting to a 50 A circuit, use a 50 A-rated cord with the kit. For 50 A-rated cord kits, use kits that specify use with a nominal 13/8″ (34.9 mm) diameter connection opening. - A circuit breaker is recommended.
- The range can be connected directly to the circuit breaker box (or fused disconnect) through flexible or nonmetallic sheathed, copper, or aluminum cable. See the “Electrical Connection – U. A. Only” section.
- Allow at least 6 ft (182.9 cm) of slack in the line so that the range can be moved if servicing is ever necessary.
- A UL-Listed conduit connector must be provided at each end of the power supply cable (at the range and at the junction box).
- Wire sizes and connections must conform with the rating of the range.
If connecting to a 3-wire system:
Local codes may permit the use of a UL listed, 3-wire, 250 V, 40, or 50 A range power supply cord (pigtail). This cord contains 3 copper conductors with ring terminals or open-end spade terminals with upturned ends, terminating in a NEMA Type 10-50P plug on the supply end. Connectors on the appliance end must be provided at the point the power supply cord enters the appliance.
This uses a 3-wire receptacle of NEMA Type 10-50R.
If connecting to a 4-wire system:
This range is manufactured with the ground connected to the neutral by a link. The ground must be revised so the green ground wire of the 4-wire power supply cord is connected to the cabinet.
See the “Electrical Connection – U.S.A. Only” section.
Grounding through the neutral conductor is prohibited for new branch-circuit installations (1996 NEC); mobile homes; recreational vehicles, or an area where local codes prohibit Install grounding through the neutral conductor.
When a 4-wire receptacle of NEMA Type 14-50R is used, a matching UL listed, 4-wire, 250 V, 40 or 50 A, range power supply cord (pigtail) must be used. This cord contains 4 copper conductors with ring terminals or open-end spade terminals with upturned ends, terminating in a NEMA Type 14-50P plug on the supply end.
The fourth (grounding) conductor must be identified by a green or green/yellow cover and the neutral conductor by a white cover.
The cord should be Type SRD or SRDT with UL-listed strain relief and be at least 4 ft (1.22 m) long.
The minimum conductor size for the copper 4-wire power cord are:
40 A circuit
2 No.-8 conductors
1 No.-10 white neutral
1 No.-10 green grounding
INSTALLATION
Unpack Range
WARNING
Excessive Weight Hazard
Use two or more people to move and install or uninstall the appliance.
Failure to do so can result in back or another injury.
- Remove shipping materials, tape, and film from the range.
Keep cardboard bottom under range. Do not dispose of anything until the installation is complete. - Remove oven racks and parts package from oven and shipping materials.
- To remove the cardboard bottom, first, take 4 cardboard corners from the carton. Stack one cardboard corner on top of another. Repeat with the other 2 corners. Place them lengthwise on the floor behind the range to support the range when it is laid on its back.
- Using 2 or more people, firmly grasp the range and gently lay it on its back on the cardboard corners.
- Remove the cardboard bottom.
The leveling legs can be adjusted while the range is on its back. See the “Adjust Leveling Legs” section.
NOTE: To place the range back up into a standing position, put a sheet of cardboard or hardboard on the floor in front of the range to protect the flooring. Using 2 or more people, stand range back up onto the cardboard or hardboard.
Install Anti-Tip Bracket
WARNING
Tip-Over Hazard
A child or adult can tip the range and be killed.
Install anti-tip bracket to floor or wall per installation instructions.
Slide range back so the rear range foot is engaged in the slot of the anti-tip bracket.
Re-engage the anti-tip bracket if the range is moved.
Do not operate the range without an anti-tip bracket installed and engaged.
Failure to follow these instructions can result in death or serious burns to children and adults.
- Remove the anti-tip bracket from the inside of the oven.
- Determine which mounting method to use: floor or wall.
If you have a stone or masonry floor, you can use the wall mounting method. If you are installing the range in a mobile home, you must secure the range to the floor.
This anti-tip bracket and screws can be used with wood or metal studs. - Determine and mark the centerline of the cutout space. The mounting can be installed on either the left side or right side of the cutout. Position the mounting bracket against the wall in the cutout so that the V-notch of the bracket is 12 1/2″ (31.8 cm) from the centerline as shown.

- Drill two 1/8″ (3 mm) holes that correspond to the bracket holes of the determined mounting method. See the following illustrations.
Floor Mounting
Wall Mounting
- Using the two #10 x 1 5 /8″ (4.1 cm) Phillips-head screws provided, mount the anti-tip bracket to the wall or floor.
- Move range close enough to opening to allow for final electrical connections. Remove shipping base, cardboard, or hardboard from under range.
- Move range into its final location, making sure the rear leveling leg slides into the anti-tip bracket.

- Move the range forward onto the shipping base, cardboard, or hardboard to continue installing the range using the following installation instructions.
Adjust Leveling Legs
- If range height adjustment is necessary, use a wrench or pliers to loosen the four leveling legs.
This may be done with the range on its back or with the range supported on two legs after the range has been placed back to a standing position.
NOTE: To place the range back up into a standing position, put a sheet of cardboard or hardboard in front of the range. Using two or more people, stand range back up onto the cardboard or hardboard.
WARNING
Tip-Over Hazard
A child or adult can tip the range and be killed.
Install anti-tip bracket to floor or wall per installation instructions.
Slide range back so the rear range foot is engaged in the slot of the anti-tip bracket.
Re-engage the anti-tip bracket if the range is moved.
Do not operate the range without an anti-tip bracket installed and engaged.
Failure to follow these instructions can result in death or serious burns to children and adults. - Measure the distance from the top of the counter to the floor.
- Measure the distance from the top of the cooktop to the bottom of the leveling legs. This distance should be the same.
If it is not, adjust the leveling legs to the correct height. The leveling legs can be loosened to add up to a maximum of 1″ (2.5 cm). A minimum of 3/16″ (5 mm) is needed to engage the anti-tip bracket.
NOTE: If height adjustment is made when the range is standing, tilt the range back to adjust the front legs, and then tilt forward to adjust the rear legs. - When the range is at the correct height, check that there is adequate clearance under the range for the anti-tip bracket.
Before sliding the range into its final location, check that the anti-tip bracket will slide under the range and onto the rear leveling leg prior to anti-tip bracket installation.
NOTE: If a Trim Kit will be used, the top of the cooktop should be higher than the counter. See the Installation Instructions included with the Trim Kit for the correct height.
Level Range
- Place level on the oven bottom, as indicated in one of the two figures below, depending on the size of the level. Check with the level side to side and front to back.

- If the range is not level, use a wrench or pliers to adjust leveling of legs up or down until the range is level.
NOTE: Range must be level for satisfactory baking performance and best cleaning results using AquaLift ® SelfClean Technology.
Electrical Connection – U.S.A. Only
If your home has a 3- or 4-wire receptacle, continue with “Install Using a Power Supply Cord.” If your home has a 3- or 4-wire direct connection, go to “Install Using Direct Wire.”
Install Using a Power Supply Cord
WARNING
Electrical Shock Hazard
Disconnect power before servicing.
Use a new 40 amp power supply cord.
Plug into a grounded outlet.
Failure to follow these instructions can result in death, fire, or electrical shock.
Power Supply Cord Strain Relief
- Disconnect power.
- Remove the lower access cover screws located on the back of the range. Pull the bottom of the cover toward you and out to remove the cover from range.

- Remove the plastic tag holding three 10-32 hex nuts from the middle post of the terminal block.
OR
Remove the top 10-32 hex nuts from each of the 3 terminal blocks and set them aside.
- Assemble a UL-listed strain relief in the opening.

- Complete installation following instructions for your type of electrical connection:
4-wire (recommended)
3-wire (if 4-wire is not available)
Electrical Connection Options
If your home has: | And you will be connecting to: | Go to Section: |
3-wire receptacle (NEMA type 10-50R) | A UL listed, 250 V minimum, 40 or 50 A range power supply cord | 3-Wire Connection: Power Supply Cord |
4-wire receptacle (NEMA type 14-50R) | A UL listed, 250 V minimum, 40 or 50 A range power supply cord | 4-Wire Connection: Power Supply Cord |
4-Wire Connection: Power Supply Cord
Use this method for:
• New branch-circuit installations (1996 NEC)
• Mobile homes
• Recreational vehicles
• In an area where local codes prohibit grounding through the neutral
- Part of the metal ground strap must be cut out and removed.

- Use a Phillips screwdriver to remove the ground-link screw from the back of the range. Save the ground-link screw and the end of the ground link under the screw.
- Feed the power supply cord through the strain relief on the cord/conduit plate at bottom of the range. Allow enough slack to easily attach the wiring to the terminal block.

- Use a Phillips screwdriver to connect the green ground wire from the power supply cord to the range with the ground-link screw. The ground wire must be attached first.
- Use a 3/8″ (9.5 mm) nut driver to connect the neutral (white) wire to the center terminal block post with one of the 10-32 hex nuts.

- Connect line 2 (red) and line 1 (black) wires to the outer terminal block posts with 10-32 hex nuts.
- Securely tighten hex nuts.
NOTE: For power supply cord replacement, use only a power cord rated at 250 V minimum, 40 A, or 50 A that is marked for use with a nominal 1 3 ⁄8″ (3.5 cm) diameter connection opening, with ring terminals and marked for use with ranges. - Tighten strain relief screws.
- Replace terminal block access cover.
3-Wire Connection: Power Supply Cord
Use this method only if local codes permit connecting the chassis ground conductor to the neutral wire of the power supply cord.
- Feed the power supply cord through the strain relief in the cord/conduit plate at bottom of the range. Allow enough slack to easily attach the wiring to the terminal block.

- Use a 3/8″ (9.5 mm) nut driver to connect the neutral (white) wire to the center terminal block post with one of the 10-32 hex nuts.

- Connect line 2 (red) and line 1 (black) wires to the outer terminal block posts with 10-32 hex nuts.
- Securely tighten hex nuts.
NOTE: For power supply cord replacement, only use a power cord rated at 250 V minimum, 40 A, or 50 A that is marked for use with a nominal 1 3 /8″ (3.5 cm) diameter connection opening, with ring terminals and marked for use with ranges. - Tighten strain relief screws.
IMPORTANT: Verify the tightness of the hex nuts. - Replace terminal block access cover.
Install Using Direct Wire
WARNING
Electrical Shock Hazard
Disconnect power before servicing.
Use a new 40 amp power supply cord.
Plug into a grounded outlet.
Failure to follow these instructions can result in death, fire, or electrical shock.
Power Supply Cord Strain Relief
Direct Wire Strain Relief
- Disconnect power.
- Remove the lower access cover screws located on the back of the range. Pull the bottom of the cover toward you and out to remove the cover from range.

- Remove the plastic tag holding three 10-32 hex nuts from the middle post of the terminal block.
OR
Remove the top 10-32 hex nuts from each of the 3 terminal blocks and set them aside.
- Assemble a UL-listed conduit connector in the opening.

- Tighten the strain relief screw against the flexible conduit.

Direct Wire Installation: Copper or Aluminum Wire
This range may be connected directly to the fuse disconnect or circuit breaker box. Depending on your electrical supply, make the required 3-wire or 4-wire connection.
- Strip the outer covering back 3″ (7.6 cm) to expose wires. Strip the insulation back 1″ (2.5 cm) from the end of each wire.

- Allow enough slack in the wire to easily attach the wiring terminal block.
- Complete electrical connection according to your type of electrical supply.
4-wire (recommended)
3-wire (if 4-wire is not available)
Electrical Connection Options
If your home has: | And you will be connecting to: | Go to Section: |
| A circuit breaker box or fused disconnect | 3-Wire Connection: Direct Wire |
| A circuit breaker box or fused disconnect | 4-Wire Connection: Direct Wire |
4-Wire Connection: Direct Wire
Use this method for:
• New branch-circuit installations (1996 NEC)
• Mobile homes
• Recreational vehicles
• In an area where local codes prohibit grounding through the neutral
- Part of the metal ground strap must be cut out and removed.

- Use a Phillips screwdriver to remove the ground-link screw from the back of the range. Save the ground-link screw and the end of the ground link under the screw.
- Pull the wires through the strain relief at bottom of the range. Allow enough slack to easily attach wiring to the terminal block.

- Attach terminal lugs to line 1 (black), neutral (white), and line 2 (red) wires. Loosen (do not remove) the setscrew on the front of the terminal lug and insert the exposed wire end through the bottom of the terminal lugs. Securely tighten setscrew to torque as shown in the following Bare Wire Torque Specifications chart.
Bare Wire Torque Specifications
Attaching terminal lugs to the terminal block – 20 lbs-in. (2.3 Nm)Wire AWG Torque 8 gauge copper 25 lbs-in. (2.8 N-m) 6 gauge aluminum 35 lbs-in. (4.0 N-m) - Use a hex or Phillips screwdriver to connect the bare (green) ground wire to the range with the ground-link screw and ground-link section. The ground wire must be attached first and must not contact any other terminal.
- Use a 3/8″ nut driver to connect the neutral (white) wire to the center terminal block post with one of the 10–32 hex nuts.

- Connect line 2 (red) and line 1 (black) wires to the outer terminal block posts with 10-32 hex nuts.
- Securely tighten hex nuts.
- Replace terminal block access cover.
3-Wire Connection: Direct Wire
Use this method only if local codes permit connecting the ground conductor to a neutral supply wire.
- Pull the wires through the conduit on the cord/conduit plate at bottom of the range. Allow enough slack to easily attach the wiring to the terminal block.

- Attach terminal lugs to line 2 (red), bare (green) ground, and line 1 (black) wires. Loosen (do not remove) the setscrew on the front of the terminal lug and insert the exposed wire end through the bottom of the terminal lugs. Securely tighten setscrew to torque as shown in the following Bare Wire Torque Specifications chart.
Bare Wire Torque Specifications
Attaching terminal lugs to the terminal block – 20 lbs-in. (2.3 Nm)Wire AWG Torque 8 gauge copper 25 lbs-in. (2.8 N-m) 6 gauge aluminum 35 lbs-in. (4.0 N-m) - Use a 3/8″ nut driver to connect the bare (green) ground wire to the center terminal block post with one of the 10–32 hex nuts.

- Connect line 2 (red) and line 1 (black) wires to the outer terminal block posts with 10-32 hex nuts.
- Securely tighten hex nuts.
- Replace terminal block access cover.
Verify Anti-Tip Bracket Is Installed and Engaged
On Ranges Equipped with a Premium Storage Drawer:
- Slide range into final location, making sure rear leveling leg slides into the anti-tip bracket.
- Remove the premium storage drawer. See the “Remove/ Replace Drawer” section.
- Use a flashlight to look underneath the bottom of the range.
- Visually check that the rear range foot is inserted into the slot of the anti-tip bracket.
On Ranges Equipped with a Warming Drawer or Baking Drawer:
- Slide range into final location, making sure rear leveling leg slides into the anti-tip bracket. Leave a 1″ (2.5 cm) gap between the back of the range and the back wall.
- Place the outside of your foot against the bottom front of the warming drawer or baking drawer to keep the range from moving, and then grasp the back of the range as shown.

- Slowly attempt to tilt the range forward.
If you encounter immediate resistance, the range foot is engaged in the anti-tip bracket. Go to Step 8. - If the rear of the range lifts more than 1/2″ (1.3 cm) off the floor without resistance, stop tilting the range and lower it gently back to the floor. The range foot is not engaged in the anti-tip bracket.
IMPORTANT: If there is a snapping or popping sound when lifting the range, the range may not be fully engaged in the bracket. Check to see if there are obstructions keeping the range from sliding to the wall or keeping the range foot from sliding into the bracket. Verify that the bracket is held securely in place by the mounting screws. - Slide the range forward, and verify that the anti-tip bracket is securely attached to the floor or wall.
- Slide range back so the rear range foot is inserted into the slot of the anti-tip bracket.
- Repeat steps 1 and 2 to ensure that the range foot is engaged in the anti-tip bracket.
If the rear of the range lifts more than 1/2″ (1.3 cm) off the floor without resistance, the anti-tip bracket may not be installed correctly. Do not operate the range without an anti-tip bracket installed and engaged. Please reference the Quick Start Guide for contact information. - Move the range into its final location. Check that the range is level by placing a level on the oven bottom. See the “Level Range” section.
IMPORTANT: If the range is moved to adjust the leveling legs, verify that the anti-tip bracket is engaged by repeating steps 1 to 8.
Remove/Replace Drawer
Remove all items from inside the baking drawer, warming drawer
or premium storage drawer, and then allow the range to cool
completely before attempting to remove the drawer
To Remove:
- Open the drawer to its fully open position.
- Raise the front edge, and then lift out.
To Replace:
- Align the forward drawer notches with the notches in the drawer rails on both sides. Place the rear alignment tabs into the drawer rails on both sides.
- Push the drawer in all the way.
- Gently open and close the drawer to ensure it is seated properly on the rails on both sides.
Oven Door
For normal range use, it is not suggested to remove the oven door. However, if removal is necessary, make sure the oven is off and cool. Then, follow these instructions. The oven door is heavy.
To Remove:
- Open oven door all the way.
- Pinch the hinge latch between two fingers and pull forward.
Repeat on another side of the oven door.
- Close the oven door as far as it will shut.
- Lift the oven door while holding both sides.
Continue to push the oven door closed and pull it away from the oven door frame.

To Replace:
- Insert both hanger arms into the door. Be sure that the hinge notches are engaged in the oven door frame.

- Open the oven door.
The door should be able to open all the way. - Move the hinge levers back to the locked position. Check that the door is free to open and close and is level while closed. If it is not, repeat the removal and installation procedures.
Complete Installation
- Check that all parts are now installed. If there is an extra part, go back through the steps to see which step was skipped.
- Check that you have all of your tools.
- Check that you have all of the range accessories, especially oven racks. These accessories may be in the range packaging.
- Dispose of/recycle all packaging materials.
- Check that the range is level. See the “Level Range” section.
- Use a mild solution of liquid household cleaner and warm water to remove waxy residue caused by shipping material.
Dry thoroughly with a soft cloth. For more information, see the “Range Maintenance and Care” section. - Read the Quick Start Guide and online Control Guide.
- Plug the power cord into an appropriate outlet. Turn the power on.
- Turn on surface burners and the oven. See the Quick Start Guide and online Control Guide for specific instructions on range operation.
NOTE: Odors and smoke are normal when the oven is used the first few times.
If Range Does Not Operate, Check the following:
• Household fuse is intact and tight, or circuit breaker has not tripped.
• Range is plugged into a grounded outlet.
• Electrical supply is connected.
IMPORTANT: If the range control displays an “F9” or “F9, E0” error code, the electrical outlet in the home may be miswired. Disconnect power and contact a qualified
electrician to verify the electrical supply. - When the range has been on for 5 minutes, check for heat. If the range is cold, turn off the range and contact a qualified electrician.
If You Need Assistance or Service:
Please reference the Quick Start Guide for contact information.
Moving the Range
WARNING
Tip-Over Hazard
A child or adult can tip the range and be killed.
Install anti-tip bracket to floor or wall per installation instructions.
Slide range back so the rear range foot is engaged in the slot of the anti-tip bracket.
Re-engage the anti-tip bracket if the range is moved.
Do not operate the range without an anti-tip bracket installed and engaged.
Failure to follow these instructions can result in death or serious burns to children and adults.
When moving range, slide range onto cardboard or hardboard to avoid damaging the floor covering.
If removing the range is necessary for cleaning or maintenance:
For power supply cord-connected ranges:
- Slide range forward.
- Unplug the power supply cord.
- Complete cleaning or maintenance.
- Plug-in power supply cord.
- Check that the anti-tip bracket is installed and engaged. See the “Verify Anti-Tip Bracket Is Installed and Engaged” section.
- Check that range is level.
For direct-wired ranges:
WARNING
Electrical Shock Hazard
Disconnect power before servicing.
Replace all parts and panels before operating.
Failure to do so can result in death or electrical shock.
- Disconnect power.
- Slide range forward.
- Complete cleaning or maintenance.
- Check that the anti-tip bracket is installed and engaged. See the “Verify Anti-Tip Bracket Is Installed and Engaged” section.
- Check that range is level.
- Reconnect power.



• For best results, use the Cooktop Scraper while the cooktop is still warm but not hot to the touch. It is recommended to wear an oven mitt while scraping the warm cooktop.
• Rub affresh® Cleaner onto the cooktop surface with the blue Cooktop Cleaning Pad. Some pressure is needed to remove stubborn stains.
• Repeat steps 1 through 3 as necessary for stubborn or burned-on stains.
A. model/serial/rating plate (located behind the oven door on the top right-hand side of the oven frame)
Wall Mounting



OR







OR



3-wire direct
4-wire direct

Bare Wire Torque Specifications























