STAHL 8455 Mount Potentiometer Potentiometer User Manual
General Information
Manufacturer
R. STAHL Schaltgeräte GmbH Am Bahnhof 30 74638 Waldenburg Germany
Phone: +49 7942 943-0
Fax: +49 7942 943-4333
Internet: www.stahl-ex.com
E-Mail: [email protected]
Information regarding the operating instruction
ID-No.: 145210 / 8455603300
Publication Code: 2016-04-19·BA00·III·en·04
Subject to alterations.
Symbols
Caution!
This symbol marks notes whose non-observance will endanger your health or the functioning of the device.
Note
This symbol marks important additional information, tips and recommendations
Safety notes
The most important safety instructions are summarised in this section. They supplement
the corresponding regulations which the personnel in charge must study. When working in areas subject to explosion hazards, the safety of personnel and plant depends on complying with all relevant safety regulations. Assembly and maintenance staff working on installations therefore have a particular responsibility.
A precise knowledge of the applicable standards and regulations is required.
As the user, please note:
- national safety and accident prevention regulations,
- national assembly and installation regulations (e.g. IEC/EN 60079-14),
- generally recognised technical regulations,
- safety instructions and information in these operating instructions,
- characteristic values and rated operating conditions on the rating and data plates,
- that when fitting the device into enclosures with type of protection “Increased Safety e“, the conditions given in IEC/EN 60079-0 and IEC/EN 60079-7 must be observed.
- that the backs of the device or component must be protected against mechanical damage,
- that any damage of the device or component may render the Ex protection null and void.
Use the devices or components in accordance with their designated use and for their intended purpose only (see “Function” on page 4). Incorrect and impermissible use or non-compliance with these operating instructions invalidates our warranty provision. No modifications or alterations to the devices or components, impairing their explosion protection, are permitted. The devices and components may only be fitted if they are undamaged, dry and clean
Conformity to Standards
The devices comply with the following standards and directives:
Type 8455/2:
- Directive 2014/34/EU
- IEC/EN 60079-0, IEC/EN 60079-1, IEC/EN 60079-18, IEC/EN 61241-0, IEC/EN 61241-1
The devices are approved for use in hazardous areas zones 1, 2, 21 and 22
Type 8455/4:
- Directive 2014/34/EU
- IEC/EN 60079-0, IEC/EN 60079-1, IEC/EN 60079-7, IEC/EN 60079-18
The devices are approved for use in hazardous areas zones 1 and 2.
Function
The potentiometer for panel mounting, type 8455/2, is an explosion-protected electrical device with connecting cable. It is suitable for mounting in enclosure panels and covers of electrical devices and in switchboards or control cubicles.
The potentiometer for panel mounting, type 8455/4, is an electrical component. The cables are connected by means of integrated connections of type of protection “Increased safety e”. It is suitable for mounting in enclosure panels and covers of electrical devices and in switchboards or control cubicles, e.g. of type of protection “Increased safety e” to IEC/EN 60079-7.
Technical Data
| Version | 8455/2 with 6 m connecting cable | 8455/4 with terminals |
| Explosion protection | ||
| Global (IECEx) | ||
| Gas and dust | IECEx PTB 07.0002 X | IECEx PTB 07.0001 U |
| Ex db mb IIC T6 Gb | Ex eb IIC | |
| Ex tb IIIC T95°C Db IP65 | Ex tb IIIC Db | |
| Europe (ATEX) | ||
| Gas and | PTB 02 ATEX 2 | PTB 02 ATEX 2157 U |
| EII 2 G Ex db mb IIC | E II 2 G Ex eb IIC | |
| II 2 D Ex tb IIIC T95°C | II 2 D Ex tb IIIC Db | |
| Certifications and certificates | ||
| Certificates | IECEx, ATEX, Serbia (SRP | IECEx, ATEX, Serbia (SRPS |
| Ambient temperature | see explosion protection data | see explosion protect |
| Rated operational voltag | 400 V | 400 V |
| Cable length | 6 m, further on reques | – – |
| Scale | 0 … 6, 0 … 10, 0 … 100, further on reques | 0 … 6, 0 … 10, 0 … 100, further on request |
| Resistance values | 100 Ω … 1 M Ω | 100 Ω … 1 M Ω |
| Characteristics | linear | Linear |
| Resistance tolerance | ± 20 % | ± 20 % |
| Rated operational power | 2 W | 2 W |
| Resistor material | Carbon film | Carbon film |
| Circuit diag | ![]() | ![]() |
Technical Data
| Enclosure material | Polyamide | Polyamide |
| Rotary knob | ||
| Rotation range | 270° | 270° |
| Torque | 0.7 … 2 Ncm | 0.7 … 2 Ncm |
| Stop strength | 100 Ncm | 100 Ncm |
| Degree of protection | P66 | IP20 |
| Connection type | Connection lead similar to HO5VV-F, 3 x 0.75 mm2 | Terminals 1.5 mm2 finely-stranded |
Note Each potentiometer needs a back-up fuse according to its rated current as short circuit protection (max. 3xIB according to IEC/EN 60127-2-1)
Please consult the manufacturer if operating conditions are non-standard.
Arrangement and Assembly
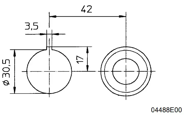
Dimensional Drawings (All Dimensions in mm) – Subject to Alterations
8455 Potentiometer

Actuator
Cut-out for aligning several devices, diameter 38 mm, in a panel
When fitting please note that:
X The potentiometer must not be set at an angle!
X The potentiometer and the actuator insert must be firmly attached in the panel!
- Push the actuator insert into the fitting hole of the panel and lock it in position.
- Push the potentiometer from the rear onto the actuator insert.
- Tighten the actuator with the spigot nut against the panel. This guarantees a tight
connection of actuator insert and potentiometer.
Installation
Ensure that the maximum permissible conductor temperatures are not exceeded by suitable selection of cables and means of running them!
Observe the clearance and creepage distances to IEC/EN 60079-7 for typ
Commissioning
Before commissioning, ensure that
- the connections have been correctly made,
- the potentiometer has been correctly installed,
- the potentiometer is not damaged.
Maintenance
Maintenance
Maintenance work on the devices may only be carried out by appropriately authorised and trained personnel.
Before any work commences, the devices must be disconnected from the supply
The following must be checked during maintenance:
- that the cable is securely seated,
- plastic enclosure for the formation of cracks,
- the cable entry seal for damage,
- the function according to its designated use.
Observe the relevant national regulations in the country of use!
Accessories and Spare Parts
Use only original accessories and spare parts from R. STAHL Schaltgeräte GmbH. Use of another company´s accessories and spare parts invalidates the warranty of R. STAHL Schaltgeräte GmbH
Transport and Storage
Transport and storage are only permitted in the original packin
Disposal
Observe the national standard for refuse disposal.
Attestatm of Conformity
declares in its sole responsibility,
Am Bahnhof 30
that the product: Potentiometer for panel mounting
Typ(en),
is in conformity with the requirements ofthe following directives and Standards,
| Directive(s) | Standard(s) |
| 2014/34/EU ATEX Directive | ENIEC 60079-0:2018 EN 60079-1:2014 ENIEC 60079-7:2015 + A1:2018 EN 60079-18:2015+ A1:2017 |
| EU Type Examination Certificat | 38116 Braunschweig |
| Product Standards according to Low Voltage Directive | EN 60947-5-1:2017 |
| 2014/30/EU EMV-Richtlinie 2014/30/EU EMC Directive 2014/30/UE Directive CE | EN 60947-1:2007 + A1:2011 + A2:2014 EN 60947-5-1:2017 |
| 2011/65/EU RoHS-Richtlinie 2011/65/EU RoHS Directive 2011/65/UE Directive Ro | EN IEC 63000 |
Specific characteristics and how to incorporate see operating instructions
Waldenburg, 2021-05-31
Place and da


FO.DSM-E-344 Version: 3.0 Gültig ab: 29.01.2021 8455602020-04

















