LG 14T90R Series Multi-Touch Laptop

Precautions before Product Use
For the convenience of users, LG PC Manuals are provided in an electronic format. For more information on how to use the product, refer to the LG Easy Guide of the LG PC Manuals.
The images in the owner’s manual may differ depending on the language selected and are subject to change without prior notice.
Any malfunction in the built-in solid state drive (SSD) may result in loss of stored data. You must back up all critical user data to an external storage device (USB HDD, memory card, etc.).
If you shut the system down before it is completely loaded, the product may not shut down properly. Shut down the system after it is completely loaded. (It takes about one or two minutes to completely load the system and may vary depending on the conditions.)
Checking the Components
The components shown below are provided when you purchase the product.
Check the components before use.
| Owner’s Manual |
|
Power Cable1 (USB-C™) | HDMI Adapter |
|
- The power cable (USB-C™) provided as a component only supports power supply and the USB 2.0 specifications. Do not use it for other than power supply purposes.
Product Tour
Front

❶ Built-in Microphone
❷ Webcam Operation Status Lamp
❸ Webcam
❹ IR camera
❺ IR LED
❻ Keyboard
❼ Touchpad
❽ Power Button [
]
NOTE
- You can use hot keys to use Windows more conveniently. For details, refer to the LG Easy Guide of the LG PC Manuals.
Left

Right

Back

❶ Headphone Port (4-pole Ear Microphone Port 1 )
❷ USB-C™ Port 2 (USB 4.0 Gen 3×2 / Thunderbolt™ / Can connect to a LAN adapter / HDMI Connectable Port / Power Port)
❸ Built-in Speakers
❹ microSD Card Slot
❺ Sleep Button
❻ USB Port (USB 3.2 Gen 2×1 3 )
❼ Vent
- The 4-pole ear microphone port supports US 4-pole standards, but not the European 4-pole ear microphone.
When using ear microphone (or Bluetooth headset), audio input and output are directed to the connected device and the microphone and speaker on PC do not work.
The 4-pole ear microphone port does not support external microphone. - Depending on the specifications of the device connected to the USB-C™ port, it acts as a USB or Thunderbolt™ port.
The USB-C™ port provides Quick Charging and Always-On Charging functions for devices that support USB PD (Power Delivery) - The name of the USB version has been changed from USB 3.1 (or USB 3.1 Gen 2) to USB 3.2 Gen 2×1. Devices that are not authorized with USB may not operate normally when connected to the USB port.
The transmission speed of a USB port may differ depending on the type of storage device (NVMe™, SSD, HDD, etc.) in the system and the connected USB device.
Using Stylus Pen
The buttons on the stylus pen work similar to those of a mouse.
| |
|
NOTE
- When purchasing the product, the 1.5 V AAAA battery is provided inserted in the product.
- Detach the Pen Cap and remove the battery anti-discharge insulator before use.

- Do not apply excessive force on the Stylus Pen. Doing so may cause the pen tip or the pen to fail.
- The Stylus Pen buttons may serve different functions in different programs.
- The Stylus Pen automatically enters the sleep mode to reduce battery consumption if the pen is not used for more than 10 minutes or if the pen tip remains pressed for more than 4 minutes.
NOTE
- To exit the sleep mode, simply touch the screen with the Stylus Pen’s tip or click
the left or right button on the pen. - If the battery power is low, the pen operation may be interrupted, or the pen may
not be recognized. - If you have not replaced the battery for a long time, replace the battery.
- AAA batteries are available from online shopping malls.
- For details on the Stylus Pen, refer to the LG Easy Guide of the LG PC Manuals.

Using Tablet PC Mode
Unfold the notebook and rotate the LCD as shown in the picture to use it as a tablet PC.
CAUTION
- When packing or moving the product, close the LCD panel to protect it.
- Be careful not to pinch your fingers between the PC main body and the LCD panel.
- Do not rotate the LCD panel with excessive force. This may damage the hinge connecting the PC body and the LCD panel.
- In tablet PC mode, the keyboard faces the bottom of the product. Clean around the product to prevent the keyboard and PC body from being damaged.
NOTE
- When rotating the product, the screen is rotated vertically or horizontally according to the current screen angle.
- To leave standby mode (LCD off), press the power button or sleep button.
- For details on tablet PC mode, refer to the LG Easy Guide of the LG PC Manuals.
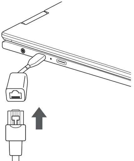
Connecting LAN Adapter
To connect to the wired LAN, you must purchase a LAN adapter separately.
- Connect the LAN adapter to the USB-C™ port on the PC.
• The USB-C™ port can be used without having to differentiate between the top and bottom surfaces. - Connect the network cable (LAN) to the LAN adapter.
- Check if you can connect to the internet properly

Power Connection
The AC adapter is used to power and charge the PC.
- Do not use any other AC adapter than the one that was provided when you purchased this product
- Connect the power cable to the AC adapter main body, and connect the AC adapter to the power outlet.
• The AC adapter can be used from 100 V to 240 V. - Connect the power cable to the USB-C™ port of the PC.
• Ensure that the power cable linked to the AC adapter and product is connected firmly.
When the AC adapter is connected, the AC adapter lamp turns on.
![]() | Status | Power Lamp |
| White | When the AC adapter is connected and charging is complete. | |
| Orange | When the AC adapter is connected and is charging. | |
| Off | The AC adapter is not connected. |
System Shutdown / Power Off
Press the [
] key or [Ctrl] + [ESC] to display the Start menu.
– Press the Start button [
] > Power button [
] and select [Shut down]
Important Safety Precautions
Check the following ‘Important Safety Precautions’ to prevent unexpected danger or damage in advance.
‘Important Safety Precautions’ is divided into ‘WARNING’ and ‘CAUTION.’
WARNING: Noncompliance with the instruction may cause serious physical damage or fatal injuries.
CAUTION: Noncompliance with the instruction may cause minor damage to the body or the machine.
While Using the Product
WARNING
![]() | Use batteries certified and acknowledged by LG Electronics Inc.
| ![]() | Keep the battery away from heat.
|
![]() | Avoid humidity and heat above 140 °F as in cars or saunas.
| ![]() | If you find leakage or smell bad odor from the battery, contact the local service center.
|
![]() | Do not use the product on top of carpet, blanket or bed. Also, do not put the adapter under the blanket.
| ![]() | Prevent the battery from coming in contact with any metallic object like a car ignition key or a paper clip.
|
![]() | Do not leave the powered on product in a space without enough ventilation (i.e. bags) repeatedly or for an extended time.
| ![]() | Charge the battery only with the provided charger.
|
![]() | Do not bend the power cable connected to the AC adapter too much.
| ||
Guide on Battery Usage
![]() | When the PC is not used for an extended period of time, keep the battery level at about 50 % to increase the battery lifespan. | ![]() | Use the Extend Battery Life function in the LG Smart Assistant. You can limit the battery charge to 80 % of the maximum charging capacity to increase the battery lifespan. |
![]() | To increase battery lifespan, use the battery for a while before charging it rather than keeping the battery completely charged. | ![]() | If you don’t use the product for a long time with the battery completely charged, the battery lifespan may decrease. |
NOTE
- This product has a built-in battery pack. After purchasing your PC, be sure to charge the battery pack completely before using it for the first time.
- The battery is a wearable good and thus the battery may not last as long as before after the battery has been used for a long time.
- The internal battery cannot arbitrarily be removed or replaced. Removing it may void the warranty.
- If you need to remove or replace the battery, visit a designated service center.
- We charge a fee for removing or replacing the battery
Pre-Tech Support Checklist
Troubleshooting
If the following symptoms appear while using the product, check again.
It may not be a malfunction.
| Symptom | Cause and Solution |
| Some of the Windows functions do not work normally or are not supported. | • Depending on the product, some of the Windows functions may not be supported, and you may need to purchase a separate hardware, driver, or software to use the functions. Also, you may need to update the BIOS additionally. The Auto Update function of Windows is always activated. Updating Windows may incur Internet usage fees as well as additional system requirements for the storage device or the hardware. For more information, refer to the website https://www.microsoft.com. |
| Part of LG Software is not installed. | • The UWP app provided by LG Electronics can be installed only through the Microsoft Store. Access Microsoft Store and search for the app to install it. For more information on the app, refer to LG Easy Guide of the LG PC Manuals. |
| The screen color does not display properly |
|
| The power does not turn on. |
|
| The system stops during use or does not properly turn off. |
|
| The touchpad is not functioning properly. |
|
| The wireless network is not connected. |
|
| I want to reinstall the driver. |
|
| An error message appears. |
|
Appendix
Registered Trademark and Open Source Information
Microsoft™, MS™, WinPE™, and Windows® are the registered trademarks of Microsoft Corporation™.
USB Type-C™ and USB-C™ are trademarks of USB Implementers forum. Intel® and Intel® logo, Intel® Core™, Thunderbolt™ and Thunderbolt™ logo, Intel® Unison™ and Intel® Unison™ logo are trademarks or registered trademarks of Intel and/or subsidiaries in the United States and/or other countries.
microSD® and the microSD logo are trademarks or registered trademarks of SD-3C, LLC.
Wi-Fi® is a registered trademark of Wi-Fi Alliance Corporation.
To obtain the source code that is contained in this product, under GPL, LGPL,
MPL, and other open source licenses that have the obligation to disclose source code, and to access all referred license terms, copyright notices and other relevant documents please visit https://opensource.lge.com.
LG Electronics will also provide open source code to you on CD-ROM for a charge covering the cost of performing such distribution (such as the cost of media, shipping, and handling) upon email request to [email protected].
This offer is valid to anyone in receipt of this information for a period of three years after our last shipment of this product.
Battery take-back information
In case rechargeable battery is included in this product, the entire device should be recycled in compliance with rechargeable battery recycling standards because of the internal battery. To dispose of properly, call (800) 822-8837 or visit www.call2recycle.org.
Supplier’s Declaration of Conformity
Trade Name LG
Responsible Party LG Electronics USA, Inc
Address 111 Sylvan Avenue, North Building
Englewood Cliffs, New Jersey 07632
Email [email protected]
Stylus Pen Product Specifications
| Item | Content | |
| Dimension | 5.75 in / Φ 0.374 in | Length / Diameter |
| Weight | Around 0.024 lbs | Except battery |
| Protocol | AES 2.0 / 1.0 | 1,800 kHz ± 5 % |
| in-TOUCH (AIT) | 66.67 ~ 142.9 kHz / 8 channels | |
| WGP | 86 ~ 400 kHz / 8 channels | |
| MPP 2.0 | 18 ~ 210 kHz | |
| Operation Temperature | 41.00 °F ~ 104.00 °F | – |
| Battery | 1.5 V Battery | AAAA Type |
FCC compliance
This equipment has been tested and found to comply with the limits for a Class B digital device, pursuant to part 15 of the FCC Rules. These limits are designed to provide reasonable protection against harmful interference in a residential installation.
This equipment generates, uses and can radiate radio frequency energy and, if not installed and used in accordance with the instructions, may cause harmful interference to radio communications.
However, there is no guarantee that interference will not occur in a particular installation. If this equipment does cause harmful interference to radio or television reception, which can be determined by turning the equipment off and on, the user is encouraged to try to correct the interference by one or more of the following measures:
- Reorient or relocate the receiving antenna.
- Increase the separation between the equipment and receiver.
- Connect the equipment into an outlet on a circuit different from that to the receiver is connected.
- Consult the dealer or an experienced radio/TV technician for help
This device complies with part 15 of the FCC Rules. Operation is subject to the following two conditions:
1) This device may not cause harmful interference, and
2) This device must accept any interference received, including interference that may cause undesired operation
FCC RF Radiation Exposure Statement
This equipment complies with FCC radiation exposure limits set forth for an uncontrolled environment. This transmitter must not be co-located or operating in conjunction with any other antenna or transmitter.
Stylus Pen Service Information
Repairs and product servicing arising out of the following circumstances are subject to service fees. Refer to the Service section on the Limited Warranty Statement of your LG 14T90R Laptop for service and support instructions.
- Improper use of the product
- User’s negligence (breaking or submerging the product in water, dismantling or remodeling of the product by someone other than a technician at a designated service center)
- Failure to heed the precautions in the user manual
- Natural disaster (fire, salt air, gas, earthquake, storm and flood, etc.)
- Using incorrect voltage or defect in the connecting device
- Replacing expendable parts
- Damage from external causes (not product defect)

PC Main Body
Owner’s Manual
AC Adapter
Power Cable1 (USB-C™)
HDMI Adapter
Stylus Pen



































