
LG 14Z90Q Series Portable Notebook Laptop

For the safe and convenient use of the product, please read this owner’s manual before use.
Precautions before Product Use
For the convenience of users, LG PC Manuals are provided in an electronic format.
The images in the owner’s manual may differ depending on the language selected and are subject to change without prior notice.
Any malfunction in the built-in solid state drive (SSD) may result in loss of stored data. You must back up all critical user data to an external storage device (USB HDD, memory card, etc.).
If you shut the system down before it is completely loaded, the product may not shut down properly. Shut down the system after it is completely loaded. (It takes about one or two minutes to completely load the system and may vary depending on the conditions.)
For more information on how to use the product, refer to the LG Easy Guide of the LG PC Manuals.
The screen and menu configurations may differ from this manual depending on the status of the Windows and software updates. Also, the version of Windows may differ depending on the model.
Checking the Components
The components shown below are provided when you purchase the product. Check the components before use.
- Some of its components may look different in shape and color from the pictures in certain models.
- When cleaning the product, use a cleaning agent dedicated to the PC. If you use thinner, benzene, alcohol or other similar agent, the product may be damaged or deformed.

- The AC adapter and power cable may differ depending on your country, but there is no difference in their functionality.
- The recommended network cable for the optimal network environment is CAT5 or higher
Product Tour
The actual product may differ in shape and color from the product images included in this owner’s manual. 
- IR LED
- Webcam
- Webcam Operation Status Lamp
- Built-in Microphone
- Keyboard
- Touchpad
- Power Button
NOTE: You can use hot keys to use Windows more conveniently. For details, refer to the LG Easy Guide of the LG PC Manuals. 
- HDMI Port
- USB-C™ Port1 (USB 4.0 Gen 3×2 / Thunderbolt™ / Can connect to a LAN adapter / Power Port)
- Headphone Port (4-pole Ear Microphone Port2 )
- Built-in Speakers
- microSD Card Slot
- USB Port (USB 3.2 Gen 2×13 )
- Security Keyhole (Kensington Security Slot)
- Depending on the specifications of the device connected to the USB-C™ port, it acts as a USB or Thunderbolt™ port.
The USB-C™ port provides Quick Charging and Always-On Charging functions for devices that support USB PD (Power Delivery). - The 4-pole ear microphone port supports US type 4-pole standards and the European 4-pole ear microphone may not work properly.
When using ear microphone (or Bluetooth headset), audio input and output are directed to the connected device and the microphone and speaker on PC do not work.
The 4-pole ear microphone port does not support external microphone. - The names of USB versions have changed from USB 3.0 (or USB 3.1 Gen 1) and USB 3.1 (or USB 3.1 Gen 2) to USB 3.2 Gen 1×1 and USB 3.2 Gen 2×1. Devices that are not authorized with USB may not operate normally when connected to the USB port.
The transmission speed of a USB port may differ depending on the type of storage device (NVMe™, SSD, HDD, etc.) in the system and the connected USB device.
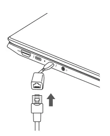
Connecting LAN Adapter
- Connect the LAN adapter to the USB-C™ port on the PC.
The USB-C™ port can be used without having to differentiate between the top and bottom sides. - Connect the network cable (LAN) to the LAN adapter.
- Check if you can connect to the internet properly.

Power Connection
The AC adapter is used to power and charge the PC.
Do not use any other AC adapter than the one that was provided when you purchased this product.
The power cable and AC adapter may differ depending on your country or region. 1 Connect an end of the cable to the AC adapter
- Connect an end of the cable to the AC adapter and the other end to a power outlet.
The AC adapter can be used from 100 V to 240 V. - Connect the AC adapter jack to the PC USB-C™ port.
Ensure that the power jack linked to the AC adapter and product is connected firmly.
When the AC adapter is connected, the AC adapter lamp turns on.
| Status | Power Lamp |
| On | When the AC adapter is connected and charging is complete. |
| Blinking | When the AC adapter is connected and is charging. |
| Off | The AC adapter is not connected. |
- If you try to turn on the system that has entered the Hibernates mode or been turned off after a low-battery alarm, the system will not be turned on but the lamp will blink three times. If this is the case, connect the AC adapter and charge the battery sufficiently before using it.
System Shutdown / Power Off
- Press the [
] key or [Ctrl] + [ESC] to display the Start menu. - – Press the Start button [
] > Power button [
] and select [Shut down].
Important Safety Precautions
Check the following ‘Important Safety Precautions’ to prevent unexpected danger or damage in advance.
‘Important Safety Precautions’ is divided into ‘WARNING’ and ‘CAUTION.’
- WARNING: Noncompliance with the instruction may cause serious physical damage or fatal injuries.
- CAUTION: Noncompliance with the instruction may cause minor damage to the body or the machine.
While Using the Product
WARNING 

Guide on Battery Usage

NOTE
- This product has a built-in battery pack. After purchasing your PC, be sure to charge the battery pack completely before using it for the first time.
- The battery is a wearable good and thus the battery may not last as long as before after the battery has been used for a long time.
- The internal battery cannot arbitrarily be removed or replaced. Removing it may void the warranty.
- If you need to remove or replace the battery, visit a designated service center. – We charge a fee for removing or replacing the battery.
Pre-Tech Support Checklist
Troubleshooting
If the following symptoms appear while using the product, check again. It may not be a malfunction.
| Symptom | Cause and Solution |
| Some of the Windows functions do not work normally or are not supported. | • Depending on the product, some of the Windows functions may not be supported, and you may need to purchase a separate hardware, driver, or software to use the functions. Also, you may need to update the BIOS additionally. The Auto Update function of Windows is always activated. Updating Windows may incur Internet usage fees as well as additional system requirements for the storage device or the hardware. For more information, refer to the website https://www.microsoft.com. |
| Symptom | Cause and Solution | |
| Part of LG Software is not installed. | • The UWP app provided by LG Electronics can be installed only through the Microsoft Store. Access Microsoft Store and search for the app to install it. For more information on the app, refer to LG Easy Guide of the LG PC Manuals. | |
| The screen color does not display properly. | • Check if Reader Mode is on. When the Reader mode is on, turn the setting off. – Press the Start button [ • Using the Reader mode and the Night mode at the same time can cause color distortion. Turn the Reader mode settings off or change the Night mode to [Off]. – Turning off Night light: Press the Start button [ • If the screen still does not properly display, contact the LG Electronics service center. – Reader mode controls the brightness and color of the LCD screen to look like printed paper and protect the user from eyestrain. | |
| The power does not turn on. | • Check if the power cord is connected. • After disconnecting the power cord and reconnecting it, press the power button of the product. • If the power is not on after reconnecting the power cord, remove the adapter and hold the power button for at least 6 seconds to reset the system. Once the system is reset, press the power button again to turn on the computer. |
| Symptom | Cause and Solution | |
| The system stops during use or does not properly turn off. | • Remove the adapter and press the power button for approximately 6 seconds to reset the system. Once the system is reset, press the power button again to turn on the computer. – Caution: Unsaved data may be lost. Pressing the power button while the PC is in use may cause damage to the hard disk or a system error. | |
| The touchpad is not functioning properly. | • Press the Start button [ • If the touchpad does not function properly, the touchpad is either in the Touchpad Off (disabled) state or Touchpad Auto (disabled when the mouse is connected) state. – For details on the touchpad settings, refer to the LG Easy Guide of the LG PC Manuals. | |
| You selected the wrong display language for Windows. | • Refer to [Recovering the System] in LG Easy Guide of the LG PC Manuals to initialize the PC and set the language again. • All data will be lost during the initialization, so you must back up all critical data in advance. | |
| The wireless network is not connected. | • Press [Fn] + [F6] to check if the wireless network device is turned off. – Press [Fn] + [F6] to set airplane mode to [OFF]. Click the Wi-Fi [ taskbar and check if AP displays properly. • Every time you press [Fn] + [F6], the wireless network and airplane mode turns on or off. • You may not be able to connect to a secure wireless network. Ask the wireless network administrator. • Reinstall the wireless LAN driver. |
| Symptom | Cause and Solution |
| A certain site or program does not run. | • Press the Start button [ • Select [View by] > [Small icons] > [User Accounts] > [Change User Account Control settings] > [Never notify] > [OK]. – LG Electronics and Microsoft recommend using User Account Control. |
| I want to reinstall the driver. | • Press the Start button [ Settings [ • Press the Start button > [LG Update & Recovery]. Then, use the [Required Updates] or [Update list] menu to reinstall the drivers. |
| An error message appears. | • Check if the system is infected with a virus or a malicious code. |
Appendix
Registered Trademark and Open Source Information
Microsoft™, MS™, WinPE™, and Windows® are the registered trademarks of Microsoft Corporation™.
USB Type-C™ and USB-C™ are trademarks of USB Implementers forum.
Thunderbolt™ and Thunderbolt™ logo are the trademarks of Intel Corporation in U.S.A. and/or other countries.microSD® and the microSD logo are trademarks or registered trademarks of SD-3C, LLC.
Wi-Fi® is a registered trademark of Wi-Fi Alliance Corporation.
To obtain the source code that is contained in this product, under GPL, LGPL, MPL, and other open source licenses that have the obligation to disclose source code, and to access all referred license terms, copyright notices and other relevant documents please visit https://opensource.lge.com.
LG Electronics will also provide open source code to you on CD-ROM for a charge covering the cost of performing such distribution (such as the cost of media, shipping, and handling) upon email request to [email protected]. This offer is valid to anyone in receipt of this information for a period of three years after our last shipment of this product.
ENVIRONMENTAL INFORMATION
(India region only)
Disposal of your old appliance (as per e-waste Rules)
- When this crossed out wheeled bin symbol is depicted on
the product and its operator’s manual, it means the product is covered by the e-waste Management and Handling Rules, 2011 and are meant to be recycled, dismantled, refurbished or disposed off. - Dos
- a. The product is required to be handed over only to the authorized recycler for disposal.
- b. Keep the product in isolated area, after it becomes non-functional/ un-repairable so as to prevent its accidental breakage.
- Don’t
- a. The product should not be opened by the user himself/herself, but only by authorized service personnel.
- b. The product is not meant for re-sale to any unauthorized agencies/scrap dealer/kabariwalah.
- c. The product is not meant for mixing into household waste stream.
- d. Do not keep any replaced spare part(s) from the product in exposed area.
- Any disposal through unauthorized agencies/person will attract action under Environment (Protection) Act 1986.
- This product is complied with the requirement of Hazardous Substances as specified under Rule 13 (1) & (2) of the E-Waste (Management & Handling) Rules, 2011.
- To locate a nearest collection centre or call for pick-up (limited area only) for disposal of this appliance, please contact Toll Free No. 1800-315-9999 / 1800-180-9999 for details. All collection centre and pick up facilities
are done by third parties whith LG Electronics India Pvt. Ltd. Merely as a facilitator. For more detailed information, please visit : http://www.lge.com/in.


] > [Apps] > [Apps & features]. Then remove the driver to be reinstalled.



















