DELLWAY
ACRYLIC TUB WITH INTEGRAL DRAIN
SKU: 953635
BEFORE YOU BEGIN
We recommend consulting a professional if you are unfamiliar with installing plumbing fixtures. Signature Hardware accepts no liability for any damage to the faucet, plumbing, sink, counter top, or for personal injury during installation.
Observe all local plumbing and building codes. Unpack and inspect the product for shipping damage. If any damage is found, contact our Customer Relations team via live chat at www.signaturehardware.com or by emailing [email protected].
GETTING STARTED
Ensure that you have gathered all the required materials that are needed for the installation.
ADDITIONAL QUESTIONS?
Still need help? Check out our Help Center at www.signaturehardware.com for product and warranty information, or contact us through live chat or by emailing [email protected].
REVISED 04/06/2022
CODES: SHDLFS6631L, SHDLFS6631R
PLANNING
Use the tub’s PDF specification sheet as a reference when planning your layout. The specification sheet can be found and downloaded from the product page on our website.
Because the tub specification measurements are approximate and slight variations may occur, we highly recommend performing any rough-in procedures with the tub on site. For on-site rough-in information, go to the appropriate drain installation section.
NOTE
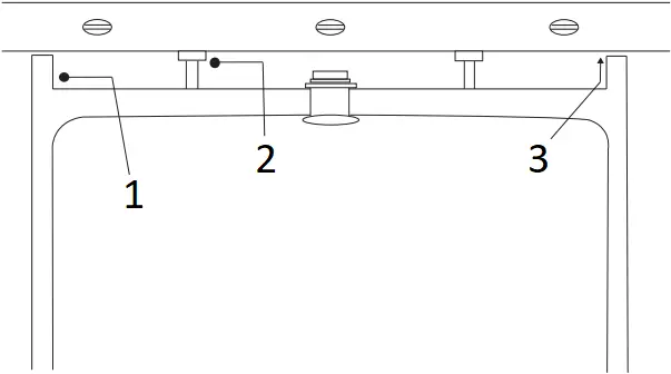
If drilling for deck mounted faucet, using flexible connections for water supply is recommended. There is an access panel on the back side of the tub to make installation easier. Place the faucet in the desired location, ensuring that the faucet will not interfere with the drain. Mark the centerlines of the faucet for drilling. Refer to the installation instructions provided by faucet manufacturer to determine faucet hole size.
RIM-MOUNT FAUCET DRILLING
Refer to the specification sheet on the products page to ensure your tub can accommodate a rim-mounted faucet.
Before drilling for a rim-mounted faucet, refer to the specification sheet for faucet location and dimensions.
Drilling instructions can be found in the Help Center of signaturehardware.com.

IMPORTANT:
If you purchased your tub with a Quick Connect Drop-In Drain Kit. make sure to reference page 15 throughout your installation.
TOOLS AND MATERIALS:
![]()
Plumbers Tape Thread Sealant

Adjustable Wrench Pencil

Straight Edge Hacksaw

Silicone Sealant Damp Cloth
(100% Neutral Cure)

Level Plumb Line

Drill Tape Measure
INSTALLATION WITH UNDERFLOOR ACCESS
1. Set the tub in the desired location and mark the drain hole location on the floor. Then, move the tub away from the desired installation location so that the plumbing can be installed.

2. Turn bathtub upside down and rest it on a moving blanket, cardboard, or other soft surface to prevent scratching the rim. Use caution when turning the bathtub upside down, as the product may be heavy and may require assistance to rotate.

- TOP
- Moving blanket
- BOTTOM
3. Place a level across the bottom of the tub to represent floor level. Raise adjustable leveling supports to touch level. Then, raise the support an additional 1/8″ to ensure the bathtub is supported by the support feet and not by the tub walls.

- Tub wall
- Support feet
- 1/8”
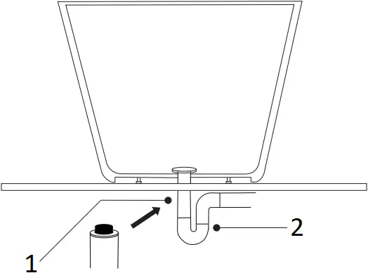
4. Your tub will come with a drain basket and threaded tail piece installed.

- Rubber gasket
5. To install the drain pop up mechanism and drain cover, simply screw the pop up mechanism into drain cap. Then, install the assembly into drain basket.

6. Attach the flanged PVC hub adapter to the exposed threads on the bottom of the tub. Use a small amount of silicone on the threads to act as sealant. Allow the silicone to dry fully.
Note: Hub adapter purchased separately

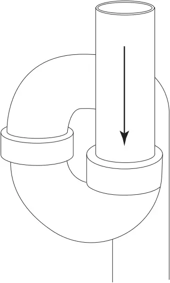
7. Cut the appropriate amount of the 1 1/2″ PVC to ensure a proper connection into the P-trap under the floor. Use the PVC primer and cement to secure the installation to the P-trap.

- PVC hub adapter fitting
- P-trap
8. Fill the tub with water to check for any leaks from the connections. Verify that the drain is working properly.

9. Finish your installation by running a bead of neutral cure silicone sealant around the base of the tub where it meets the floor. Wipe away any excess sealant with a damp cloth.

INSTALLATION: WITHOUT UNDERFLOOR ACCESS/SLAB FLOOR INSTALLATION
1. Set the tub in the desired location and mark the drain hole location on the floor. Then, move the tub away from the desired installation location so that the plumbing can be installed.

2. Turn bathtub upside down and rest it on a moving blanket, cardboard, or other soft surface to prevent scratching the rim. Use caution when turning the bathtub upside down, as the product may be heavy and may require assistance to rotate.

- TOP
- Moving blanket
- BOTTOM
3. Place a level across the bottom of the tub to represent floor level. Raise adjustable leveling supports to touch level. Then, raise the support an additional 1/8″ to ensure the bathtub is supported by the support feet and not by the tub walls.

- Tub wall
- Support feet
- 1/8”
4. Your tub will come with a drain basket and threaded tail piece installed.

- Rubber gasket
5. To install the drain pop up mechanism and drain cover, simply screw the pop up mechanism into drain cap. Then, install the assembly into drain basket.

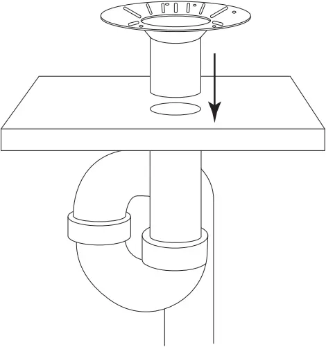
6. Once support feet are adjusted, dry fit the PVC hub adapter onto the drain threads. Use a tape measure to determine the gap between the bottom of the tub, starting at the drain inside flange of the hub adapter, and the floor. Use the level to simulate the floor. The drain pipe should extend approximately 1″ above the finished floor; however, this will vary depending on the height of the tub.

- Tape measure
- PVC hub adapter
7. Trim the 1½” PVC drain pipe extending from the floor to the appropriate length.

8. Attach the flanged PVC hub adapter to the exposed threads on the bottom of the tub. Use a small amount of silicone on the threads to act as sealant. Allow the silicone to dry fully.

9. Turn the tub to upright position. Then, apply PVC primer and cement to the female end of hub adapter and to male PVC pipe rough-in above floor level.

10. Center tub directly over PVC rough-in, place tub onto PVC pipe with twisting motion to ensure proper adhesion of PVC Cement.
Note: Unscrew the pop up mechanism and drain cover to get a better view of the male PVC rough-in.

11. Fill the tub with water to check for any leaks from the connections. Verify that the drain is working properly.

12. Finish your installation by running a bead of neutral cure silicone sealant around the base of the tub where it meets the floor. Wipe away any excess sealant with a damp cloth.

INSTALLATION WITH QUICK CONNECT DRAIN
1. Drill a 4″ diameter hole in the sub floor where the drain will be installed.

2. Measure the distance from the inside of the p-trap to the top of the sub floor(p-trap not included).

3. Cut the provided 1 ½” PVC pipe 3″ shorter than the distance between the floor and the p-trap (measurement taken in step 2).

4. Apply PVC primer and cement to the outside of the PVC pipe and to the inside of the p-trap, per manufacturer instructions. Insert the pipe firmly into the p-trap until cement is bonded.

5. Apply PVC primer and cement to the outside of the PVC pipe and to the inside of the drop-in drain insert.

6. Slide the drop-in drain onto the PVC pipe, using a twisting motion to ensure proper cement bond, apply pressure until the cement is fully set. Ensure that the rim of the drop-in drain sits flush on the sub floor. Act quickly before cement sets.

7. Insert the drain plug into the drop-in drain, if not already inserted.

8. Turn the drain clockwise to lock into place, then secure the drain to the sub floor with screws.

9. Install the flooring surface, such as tile, leaving an opening around the drain as shown.
Note: If you are installing a decorative tail piece and floor flange, install the tile and leave an opening that is 2 1/4″ diameter wide directly above the drain plug to ensure the floor flange covers the hole.

- Floor flange
10. Remove the drain plug with a pair of long nose pliers.

11. Once ready for tub installation, apply the provided lubricant to the rubber portion of the inside of the drain.

12. Affix the appropriate tail piece to the waste and overflow. Ensure the measurement between the base of the drain and the p-trap will accommodate the tail piece. Do not cut the brass tail piece that is included with the drop-in drain kit.
Note: If installing a freestanding tub with an exposed drain and overflow, use the tail piece provided with the tub’s drain rather than those provided with the drop-in drain.

Optional: If installing a separately purchased tail piece and floor flange, measure and cut the 12″ tail piece to length by measuring from tub drain connection. Make sure the measurement extends 2″ past the bottom of the drop-in drain fitting.

13. Apply the provided lubricant to the entire tail piece being used. Position the bathtub so that the tail piece is in line with the drop-in drain.

14. With caution, slowly drop the tub into position, inserting the tail piece into the drop-in drain.

CLEANING AND MAINTENANCE
Wash your tub using a gentle soap, such as dishwashing liquid, and warm water. Do not use any abrasive cleaning pads or materials. We recommend the use of a soft sponge or microfiber washcloth. Vinegar can be used to remove hard water buildup and mildew. Rinse with warm water and dry with a clean, soft cloth. To maintain the glossy tub finish, we recommend bung your tub every three months with white polishing compound.
SCRATCH REMOVAL
1. Using a damp sponge, wash the area with warm water and dish washing liquid. Rinse thoroughly with warm water.
2. Do not use any type of abrasive cleaning pads or chemicals. Read the labels on your cleaners to be sure they are gentle enough to be used on your acrylic tub.
3. Apply circular, even strokes to the scratched area using dampened 800 and 1200 grit sandpaper.
4. Wipe the area clean with a damp sponge and rinse thoroughly.
5. Apply an acrylic polishing compound and water with a soft, clean cloth. Rub in a circular motion to polish and bu the area.
6. Wipe o any excess residue and rinse the tub with warm water. Dry the surface with a clean, soft cloth.
customer service: 1.855.715.1800
signaturehardware.com


















