homematic HmIP-SMI Motion Detector with Brightness Sensor – indoor

Package contents
Quantity Description
1 Homematic IP Motion Detector with Brightness Sensor – indoor
1 Stand
1 Wall mounting bracket
2 Screws
2 Plugs
2 Adhesive strips
2 1.5 V LR6/mignon/AA batteries
1 Operating manual
Documentation © 2016 eQ-3 AG, Germany
All rights reserved. Translation from the original version in Ger-man. This manual may not be reproduced in any format, either in whole or in part, nor may it be duplicated or edited by electronic, mechanical or chemical means, without the written consent of the publisher.
Typographical and printing errors cannot be excluded. However, the information contained in this manual is reviewed on a regular basis and any necessary corrections will be implemented in the next edition. We accept no liability for technical or typographical errors or the consequences thereof.
All trademarks and industrial property rights are acknowledged. Printed in Hong Kong
Changes may be made without prior notice as a result of technical advances.
142737 (web)
Version 1.4 (08/2021)
Information about this manual
Please read this manual carefully before beginning operation with your Homematic IP component. Keep the manual so you can refer to it at a later date if you need to. If you hand over the device to other persons for use, please hand over this manual as well.
Symbols used:
Hazard information
- Do not open the device. It does not contain any parts that can be maintained by the user. In the event of an error, please have the device checked by an expert.
- For safety and licensing reasons (CE), unauthorized change and/or modification of the device is not permitted.
- The device may only be operated in dry and dust-free environment and must be protected from the effects of moisture, vibrations, solar or other methods of heat radiation, excessive cold and mechanical loads.
- The device is not a toy; do not allow children to play with it. Do not leave packaging material lying around. Plastic films/bags, pieces of polystyrene, etc. can be dangerous in the hands of a child.
- We do not assume any liability for damage to property or personal injury caused by improper use or the failure to observe the hazard information.
- In such cases, any claim under warranty is extinguished! For consequential damages, we assume no liability!
- Using the device for any purpose other than that described in this operating manual does not fall within the scope of intended use and shall invalidate any warranty or liability.
- The device may only be operated within residential buildings.
Function and device overview
- The Homematic IP Motion Detector with Brightness Sen-sor is designed especially for indoor application. The de-vice detects movements as well as light intensity with an integrated brightness sensor.
- This high performance motion detector can be used for security applications, for example. In connection with other Homematic IP devices an alarm can be triggered if motions are detected.
- Thanks to the detection distance of up to 12 meters and a detection angle of 105 ° (approx.) as well as different mounting possibilities the detection range can be opti-mised to the particular surroundings. You can mount the motion detector anywhere on a wall, in a corner or place it in the supplied stand.
- Brief changes in the level of brightness are filtered out. Thus, unintended response of the motion detector can be avoided. The brightness level for triggering and the level of sensitivity can be flexibly adjusted.
- Thanks to the integrated tamper contact you are imme-diately informed via the app about unauthorised removal or manipulation of the motion detector.
Device overview (see figure 1):
(A) PIR sensor
(B) System button and device LED
(C) Battery compartment
Accessory components (see figure 2):

(D) Stand and battery compartment cover
(E) Wall mounting bracket and battery compartment cover
General system information
This device is part of the Homematic IP smart home system and works with the HmIP radio protocol. All Homematic IP devices can be configured comfortably and individually with a smartphone via the Homematic IP app. The available functions provided by the Home-matic IP system in combination with other components are described in the Homematic IP User Guide. All cur-rent technical documents and updates are provided at www.homematic-ip.com.
Mounting
Due to the supplied stand (D) and the wall mounting bracket (E) you can mount the motion detector anywhere in the room.
If you want to place the motion detector e.g. on a shelf or cabinet you can use the already fixed stand (D) and place the device at the desired location after you have put the device into operation (see sec. „6 Start-up“ on page 35).
If you want to mount the device to a wall, please proceed as described in the next section.
Installation with wall mounting bracket
The installation of the motion detector on a wall or in a corner is simple and easy with the supplied wall mounting bracket (E).
You can install the motion detector
- with the supplied screws and plugs or
- with the supplied adhesive strips.
Screw mounting
For the installation with screws and plugs please proceed as follows:
- Choose a site for installation.
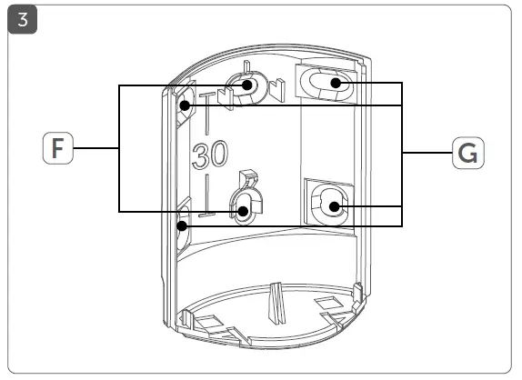
Make sure that no electricity or similar lines run in the wall at this location! - Depending on the installation site – wall or corner – you have to select the corresponding boreholes on the wall mounting bracket (E) (see fig. 3). If you want to mount the device to a wall you can use the boreholes (F), if you want to mount the device to a corner you can use the boreholes (G).

- To be able to use the boreholes (G) you have to drill through the holes of the wall mounting brack-et (E) with a 4 mm drill.
- Position the wall mounting bracket (E) on the desired site on the wall and mark the boreholes with a pen.
- Now drill the boreholes.
- If you are working with a stone wall, drill the marked two 5 mm holes and insert the plugs supplied. If you are working with a wooden wall, you can pre-drill 1.5 mm holes to make screws easier to insert.
- Insert the plugs into the boreholes.
- Place the wall mounting bracket and turn the screws into the plug.
- Only insert the motion detector into the wall mounting bracket after the device has been put into operation (see sec. „6 Start-up“ on page 35).
Adhesive strip mounting
For the installation with adhesive strips, please proceed as follows:
- Choose a site for installation.
- Depending on the installation site
– wall or corner
– fix the adhesive stripes to the middle or on the side of the wall mounting bracket (E). - Remove the protective film and press the wall mounting bracket (E) to the desired location.
Make sure that the mounting surface is smooth, solid, non-disturbed, free of dust, grease and sol-vents to ensure long-time adherence.
Start-up
Please read this entire section before starting to use the device.
First set up your Homematic IP Access Point via the Homematic IP app to enable operation of other Homematic IP devices within your system. For further information, please refer to the operating manual of the Access Point.
To integrate the motion detector into your system and enable it to communicate with other Homematic IP de-vices, you must teach-in the device to your Homemat-ic IP Access Point first.
To teach-in the motion detector, please proceed as follows:
- Open the Homematic IP app on your smart-phone.
- Select the menu item “Teach-in device”.
- Open the battery compartment (C) on the rear by pushing the battery compartment cover (D) down (see fig. 4).

- Remove the insulation strip from the battery compartment (C) of the motion detector to activate the device. Teach-in mode remains activated for 3 minutes.
You can manually start the teach-in mode for an-other 3 minutes by pressing the system button (B) shortly (see figure 5).
- Your device will automatically appear in the Homematic IP app.
- To confirm, please enter the last four digits of the device number (SGTIN) in your app or scan the QR code. Therefore, please see the sticker sup-plied or attached to the device.
- Please wait until teach-in is completed.
- If teaching-in was successful, the device LED (B) lights up green. The device is now ready for use.
If the device LED (B) lights up red, please try again.
After the teach-in procedure has been finished, the function test of the motion detector starts (see „7 Function test“ on page 31).
- Select the desired solution for your device.
- In the app, allocate the device to a room and give the device a name.
Function test
The function test is only activated if the motion detector has already been connected.
Up to 10 minutes after connecting the device or estab-lishing the power supply (if the device has already been connected), the device LED (B) indicates detected move-ments. The LED flashes red with every movement detec-ted. In this way, the detection range and sensitivity can be checked directly on the device.
Replacing batteries
If the battery symbol is displayed via the app or an emp-ty battery is indicated on the device (see sec. „9.3 Error codes and flashing sequences“ on page 41), replace the used batteries by two new LR6/mignon/AA batteries. You must observe the correct battery polarity.
To replace the batteries of the motion detector, please proceed as follows:
- Open the battery compartment (C) on the rear by pushing the battery compartment cover (D) down or by removing it from the wall mounting bracket (E) (see fig. 4).
- Insert two new 1.5 V LR6/mignon/AA batteries into the battery compartment, making sure that you insert them the right way round (see figure 6).

- Close the battery compartment by replacing the cover and pushing it upwards until it latches into place.
Once the batteries have been inserted, the motion de-tector will perform a self-test (approx. 2 seconds). After-wards, initialisation is carried out. The LED test display will indicate that initialisation is complete by lighting up orange and green (see sec. „9.3 Error codes and flashing sequences“ on page 41).
Never recharge standard batteries. Do not throw the batteries into a fire. Do not expose batteries to excessive heat. Do not short-circuit batteries. Do-ing so will present a risk of explosion.
Used batteries should not be disposed of with regular domestic waste! Instead, take them to your local battery disposal point.
Troubleshooting
Weak batteries
Provided that the voltage value permits it, the motion detector will remain ready for operation also if the battery voltage is low. Depending on the particular load, it may be possible to send transmissions again repeatedly, once the batteries have been allowed a brief recovery period. If the battery voltage is too weak, this will be displayed in the Homematic IP app and directly on the device via the device LED (B) (see „9.3 Error codes and flashing sequences“ on page 41). In this case, replace the empty batteries by two new batteries (see „8 Replacing batteries“ on page 37).
Duty cycle
The duty cycle is a legally regulated limit of the transmission time of devices in the 868 MHz range. The aim of this regulation is to safeguard the operation of all devices working in the 868 MHz range.
In the 868 MHz frequency range we use, the maximum transmission time of any device is 1% of an hour (i.e. 36 seconds in an hour). Devices must cease transmission when they reach the 1% limit until this time restriction comes to an end. Homematic IP devices are designed and produced with 100% conformity to this regulation. During normal operation, the duty cycle is not usually reached. However, repeated and radio-intensive teach-in processes mean that it may be reached in isolated instances during start-up or initial installation of a system. If the duty cycle is exceeded, this is indicated by one long red lighting of the device LED (B), and may manifest itself in the device temporarily working incorrectly. The device starts working correctly again after a short period (max. 1 hour).
Error codes and flashing sequences
| Blinkcode | Bedeutung | Lösung |
| Schnelles | Konfigura- | Warten Sie, bis die |
| oranges | tionsdaten | Übertragung beendet |
| Blinken | werden über- | ist. |
| tragen | ||
| 1x langes | Vorgang | Sie können mit der |
| grünes | bestätigt | Bedienung fortfahren. |
| Leuchten | (Anlernen oder | |
| Werkseinstel- | ||
| lungen) | ||
| 1x langes | Vorgang fehl- | Versuchen Sie es |
| rotes | geschlagen | erneut (oder vgl. „9.2 |
| Leuchten | (Anlernen oder | Duty Cycle“ auf Seite |
| Werkseinstel- | 19). | |
| lungen) oder | ||
| Duty Cycle- | ||
| Limit erreicht | ||
| Kurzes oran- | Batterien leer | Tauschen Sie die |
| ges Leuchten | Batterien des Gerätes | |
| aus (s. „8 Batterien | ||
| wechseln“ auf Seite | ||
| 17). |
| Kurzes oran- | Anlernmodus | Geben Sie die letzten |
| ges Blinken | aktiv | vier Ziffern der |
| (alle 10 s) | (für 3 Minuten) | Geräte-Seriennummer |
| zur Bestätigung ein (s. | ||
| „6 Inbetriebnahme“ | ||
| auf Seite 15). | ||
| Rotes | Funktionstest | Warten Sie, bis der |
| Blinken | Funktionstest nach 10 | |
| (jeweils für | Minuten vorüber ist (s. | |
| eine Sekunde) | „7 Funktionstest“ auf | |
| Seite 17). | ||
| 6x langes | Gerät defekt | Achten Sie auf die |
| rotes Blinken | Anzeige in Ihrer App | |
| oder wenden Sie sich | ||
| an Ihren Fachhändler. | ||
| 1x oranges | Testanzeige | Nachdem die Testan- |
| und 1x grünes | zeige erloschen ist, | |
| Leuchten | können Sie fortfahren. | |
| (nach dem | ||
| Einlegen der | ||
| Batterien) | ||
| Langes und | Aktualisierung | Warten Sie, bis das |
| kurzes oran- | der Gerätesoft- | Update beendet ist. |
| ges Blinken | ware (OTAU) | |
| (im Wechsel) |
Restore factory settings
The factory settings of the device can be restored. If you do this, you will lose all your settings.
To restore the factory settings of the motion detector, please proceed as follows:
- Open the battery compartment (C) on the rear by pushing the battery compartment cover (D) down or by removing it from the wall mounting bracket (E) (see fig. 4).
- Remove the batteries.
- Insert the batteries ensuring that the polarity is correct (see figure 6) while pressing and holding down the system button (B) for 4s at the same time, until the LED (B) will quickly start flashing orange (see figure 5).
- Release the system button again.
- Press and hold down the system button again for 4s (see figure 5), until the device LED lights up green.
- Release the system button to finish the procedure.
Maintenance and cleaning
The device does not require you to carry out any maintenance other than replacing the battery when necessary. Enlist the help of an expert to carry out any maintenance or repairs.
Clean the device using a soft, lint-free cloth that is clean and dry. You may dampen the cloth a little with lukewarm water in order to remove more stubborn marks. Do not use any detergents containing solvents, as they could cor-rode the plastic housing and label.
General information about radio operation
Radio transmission is performed on a non-exclusive trans-mission path, which means that there is a possibility of in-terference occurring. Interference can also be caused by switching operations, electrical motors or defective elec-trical devices.
The range of transmission within buildings can differ greatly from that available in the open air. Besides the transmitting power and the reception characteristics of the receiver, environmental factors such as humidity in the vicinity have an important role to play, as do on-site structural/screening conditions.
eQ-3 AG hereby declares that this device complies with the essential requirements and other relevant regulations of Directive 1999/5/EC. You can find the full declaration of conformity at www.homematic-ip.com.
Technical specifications
- Device short description: HmIP-SMI
- Supply voltage: 2x 1.5 V LR6/mignon/AA
- Current consumption: 40 mA
- Battery life: 3 years (typ.)
- Degree of protection: IP20
- Ambient temperature: 5 to 35 °C
- Dimensions (W x H x D): 52 x 65 x 34 mm
- Weight: 85 g (incl. batteries)
- Radiofrequency: 868.3 MHz/869.525 MHz
- Receiver category: SRD category 2
- Typ. open area RF range: 280 m
- Duty cycle: < 1 % per h/< 10 % per h
- Detection range: 12 m
- Detection angle horizontal: 105 °
- Detection angle vertical: 40 °
Subject to technical changes
Instructions for disposal
Do not dispose of the device with regular domes-tic waste! Electronic equipment must be dis-posed of at local collection points for waste elec-tronic equipment in compliance with the Waste Electrical and Electronic Equipment Directive.
Information about conformity
The CE sign is a free trading sign addressed ex-clusively to the authorities and does not include any warranty of any properties.
For technical support, please contact your retailer.
Kostenloser Download der Homematic IP App!Free download of the Homematic IP app!
Bevollmächtigter des Herstellers: Manufacturer’s authorised representative:
eQ-3 AG
Maiburger Straße 29 26789 Leer / GERMANY www.eQ-3.de























