FLOTIDE SMG500 Side Mount Sand Filter User Manual
FUNCTION
The filter uses special filter sand to remove dirt particles from pool water. The filter sand is loaded into the filter tank and functions as a permanent dirt removing media. When the control valve is in the FILTER position, the pool water which contains suspended dirt particles, is pumped through your piping system and is automatically directed by the patented filter control valve to the top of the filter tank. As the pool water is pumped through the filter, dirt particles are trapped by the sand bed, and filtered out. The cleaned Pool water is returned from the bottom of the filter tank, through the control valve and back to the pool through the piping system. This entire sequence is continuous and automatic. It provides for total recirculation of pool water through your filter and piping System.
After a period of time, the accumulated dirt in the filter causes a resistance to flow, and the flow diminishes. This means it is the time to clean your filter. With the control valve in the BACKWASH position, the water flow is automatically reversed through the filter so that it is directed to the bottom of the tank, up through the sand, flushing the previously trapped dirt and debris out the waste line. Once the filter is back-washed of dirt, set control valve to RINSE position and run pump for about 1/2 to 1 minute, and then set the control valve in the FILTER position, to resume normal filtering.
NOTE: Turn pump off before changing valve position.
INSTALLATION
Only simple tools (screwdriver and wrenches), plus pipe sealant for plastic adapters, are required to install and service the filter.
- 1. The filter should be placed on a level concrete slab, very firm ground, or equivalent. Position the filter so that the piping connections ,control valve are convenient and accessible for operation and service.
- Loading the sand media. Filter sand media is loaded through the top opening of the filter.
a. Loosen flange clamp and remove filter control valve (if previously installed). b.Cap internal pipe with plastic cap to prevent sand from entering it.
c. We recommend filling tank approximately halfway with water to provide a cushion effect when the filter sand is poured in This helps protect the under-drain laterals from excessive shock.
d. Carefully pour in the correct amount and grade of filter sand. (Be sure the center pipe remains centered in opening.) Sand Surface Should be leveled and should come to about the middle of the filter tank. Remove plastic cap from internal pipe. - Assemble filter control valve to filter tank.
a. Insert filter control valve (with O-ring in place) into the tank neck, fastening the twelve bolts which are pre-embedded in the tank neck through the twelve holes round the valve, taking care that the center pipe slips into the hole in the bottom of the valve as well.
b. Put the twelve nuts and washers onto each of the twelve bolts, then screw all the nuts on with wrench, ensuring that all nuts are tight.
c. Carefully screw pressure gauge (with O-ring in place) into tapped hole in valve body. Do not over-tighten.
d. Connect pump to control valve opening marked PUMP. - Make a return connection to the control valve opening marked RETURN and complete other necessary plumbing connections, suction lines to pump, waste,etc.
- Make electrical connections according to the instructions.
- To prevent water leakage, be sure all pipe connections are tight.
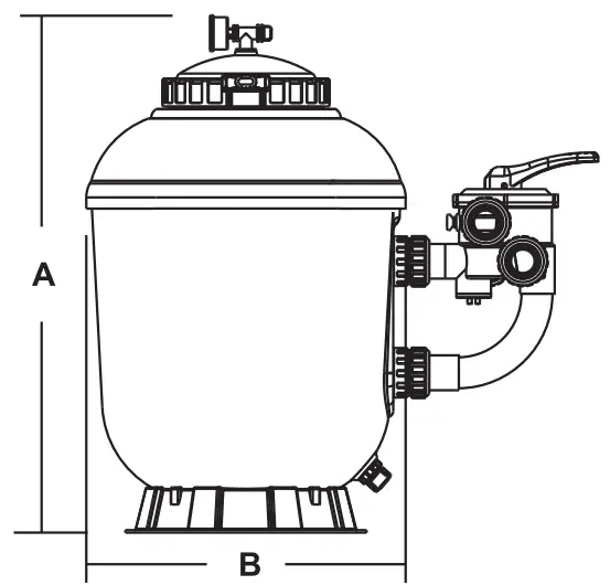
MAIN DIMENSION

DIMENSION TABLE
| Model | High mm A | Diameter mm B | Valve inch | Sand kg |
| SMG500 | 850 | 516 | 1.5″ | 100 |
| SMG650 | 943 | 666 | 1.5″ | 150 |
| SMG750 | 1020 | 820 | 2. 0″ | 250 |
| SMG900 | 1130 | 920 | 2.0″ | 375 |
INSTALL/START-UP OF FILTE
- Be sure the correct amount of filter media sand is in the tank and that all connections have been made and are secure.
- Depress control valve handle and rotate to BACKWASH position. (To prevent damage to control valve seal, always depress handle before turning.)
- Prime and start pump according to pump instructions (be sure all suction and return lines are open), allowing the filter tank to fill with water. Once water is flowing out of the waste line, run the pump for at least 1 minute. The initial back- washing of the filter is recommended to remove any impurities or fine sand particles in the sand media.
- Turn pump off and set valve to RINSE position. Start pump and operate until water in sight glass is clear, about 1/2 to 1 minute. Turn pump off and set valve to FILTER position and restart pump. The filter is now operating in the normal filter mode, filtering dirt particles from the pool water.
- Adjust pool suction and return valves to achieve desired flow. Check system and filter for water leaks and tighten connections, bolts, nuts, as required.
- Note the initial pressure gauge reading when the filter is clean. (It will vary from pool to pool depending on the pump and general piping system.) As the filter removes dirt and impurities from the pool water, the accumulation in the filter will cause the pressure to rise and flow to diminish. When the pressure gauge reading is 1.5 bar, higher than the initial “clean” pressure you noted, it is time to backwash the filter (see BACKWASH under filter and control valve functions).
NOTE: During initial clean-up of the pool water it may be necessary to backwash frequently due to the unusually heavy initial dirt load in the water.
PARTS OF 1.5” VALVE

| Key No. | Part No. | Description | Qty |
| 1 | 01013003 | Handle (Big) | 1 |
| 2 | 03018008 | Pin for handle | 1 |
| 3 | 01181001 | Washer for handle | 1 |
| 4 | 89281203 | M6*25 Screw with nut for camber lid | 6 |
| 89280107 | M6*30 Screw with nut for standard lid | 6 | |
| 5 | 01013004 | 1.5″side mount valve standard lid (Black) | 1 |
| 6 | 02011022 | O-ring for 1.5″ valve rotor | 2 |
| 7 | 01181002 | Washer for spring | 1 |
| 8 | 02011002 | O-ring for 1.5″ valve lid | 1 |
| 9 | 03014001 | Spring for 1.5″ simd mount valve | 1 |
| 10 | 01021001 | 1.5″ valve rotor | 1 |
| 11 | 02311002 | Spider gasket | 1 |
| 12 | 01013009 | 1.5″ side mount valve bottom body (Black) | 1 |
| 13 | 01111048 | Connector for pressure gauge/stopper | 1 |
| 14 | 89021303 | Drain plug with O-ring | 1 |
| 15 | 02020013 | O-ring | 5 |
| 16 | 01013018 | 1.5″union tale (Black) | 1 |
| 17 | 01013017 | 1.5″ union nut (Black) | 5 |
| 18 | 89280104 | Sight glass with O-ring | 1 |
| 19 | 01013100 | 1.5″ side mount valve plug (Black) | 1 |
| 20 | 01013149 | 1.5″ elbow tube (Black) 120mm | 1 |
| 21 | 01171002 | 1.5″ union (Metric) | 1 |
| 22 | 01013015 | 1.5″connector with external thread(Black) | 3 |
| 23 | 02011003 | O-ring for union adaptor | 3 |
| 24 | 01171153 | 1.5″union | 3 |
| 25 | 02011003 | O-ring | 2 |
PARTS OF 2.0” VALVE

| Key No. | Part No. | Description | QTY |
| 1 | 01013003 | Handle (Big) | 1 |
| 2 | 03018008 | Pin for handle | 1 |
| 3 | 01181001 | Washer for handle | 1 |
| 4 | 01013021 | 2.0″ side mount valve squareness lid (Black) | 1 |
| 5 | 89280107 | M6*30 screw with nut | 10 |
| 6 | 01111048 | Connector for pressure gauge/stopper | 1 |
| 7 | 89021303 | Drain plug with O-ring | 1 |
| 8 | 02020016 | O-ring for 2.0″union | 8 |
| 9 | 01013031 | 2.0″connector(Black) | 3 |
| 10 | 01171154 | 2.0″ union (A/E) | 3 |
| 11 | 01013032 | 2.0″ union nut(Black) | 3 |
| 12 | 02011009 | O-ring for 2.0″ valve lid | 1 |
| 13 | 01181002 | Washer for spring | 1 |
| 14 | 02011022 | O-ring for 2.0″ valve rotor | 2 |
| 15 | 03014014 | Spring | 1 |
| 16 | 01021002 | 2.0″ valve rotor | 1 |
| 17 | 02311003 | Spider gasket | 1 |
| 18 | 01013026 | 2.0″ side mount valve bottom body (Black) | 1 |
| 19 | 89280104 | Sight glass with O-ring | 1 |
| 20 | 02020018 | O-ring for union tale | 1 |
| 21 | 01013099 | 2.0″ union tale (Black) | 1 |
| 22 | 01013034 | 2.0″ union nut (Black) | 2 |
| 23 | 02020017 | O-ring for plug | 1 |
| 24 | 01013101 | 2.0″ side mount valve plug (Black) | 2 |
| 25 | 01013150 | 2.0″ elbow tube (Black)183mm | 1 |
| 26 | 01171035 | 2.0″ union (Metric) | 1 |
REPLACEMENT PARTS OF FILTEL

| Key No. | Part No. | Description | QTY |
| 1 | 06011029 | Oil pressure gauge with O-ring ( 40 psi) | 1 |
| 2 | 89011101 | T- shape exhuaust switch | 1 |
| 3 | 01271011 | Ringlock nut | 1 |
| 4 | 01021004 | Spanner for ringlock | 2 |
| 5 | 01201021 | Cover | 1 |
| 6 | 02021065 | O- ring for cover | 1 |
| 7 | 01021135 | SMG filter neck with screws | 1 |
| 8 | 02010229 | Corrosion proof O-ring | 1 |
| 9 | 03013038 | Anti- slip washer nut | 1 |
| 10 | 89014002 | SMG500 filter tank with fasteners | 1 |
| 89014003 | SMG650 filter tank with fasteners | 1 | |
| 89014011 | SMG750 filter tank with fasteners | 1 | |
| 89014012 | SMG900 filter tank with fasteners | 1 | |
| 11 | 89014004 | SMG500 top part of the inner tank system | 1 |
| 89014005 | SMG650 top part of the inner tank system | 1 | |
| 89014013 | SMG750 top part of the inner tank system | 1 | |
| 89014014 | SMG900 top part of the inner tank system | 1 | |
| 12 | 01111043 | 1, 5″ tank system support( SMG500, SMG650) | 1 |
| 01111090 | 2″ tank system support( SMG750, SMG900) | 1 | |
| 13 | 89014006 | SMG500 air vent pipe | 1 |
| 89014007 | SMG650 air vent pipe | 1 | |
| 89014015 | SMG750 air vent pipe | 1 | |
| 89014016 | SMG900 air vent pipe | 1 | |
| 14 | 89014008 | SMG500 bottom part of the inner tank system | 1 |
| 89014009 | SMG650 bottom part of the inner tank system | 1 | |
| 89014017 | SMG750 bottom part of the inner tank system | 1 | |
| 89014018 | SMG900 bottom part of the inner tank system | 1 | |
| 15 | 01111059 | SMG500 Base | 1 |
| 01111062 | SMG650 , SMG750 base | 1 | |
| 01112038 | SMG900 base | 1 | |
| 16 | 89010107 | Water drain set | 1 |
| 17 | 89014010 | 1. 5″ connector sets( SMG500, SMG650) | 2 |
| 89014019 | 2″ connector sets | 2 | |
| 18 | 88280805 | 1. 5″ side mount valve( SMG500, SMG650) | 1 |
| 88280811 | 2″ side mount valve ( SMG750. SMG900) | 1 |
FUNCTION OF VALVE POSITIONS
| Valve Postlon | Function |
| FILTER | Normal Filtration |
| BACKWASH | Cleaning Filter by reversing the flow |
| RINSE | Used after backwash to flush dirt from valve |
| WASTE | By-passes filter used for vacuuming to waste or lowering water level |
| RECIRCULATE | By-passes filter for circulating water to pool |
| CLOSED | Shuts off all flow to filter or poo |
- Filter

- Waste

- Closed

- Backwash

- Rinse

- Recirculate

GENERAL:
- Pipe tap boss provided for optional influent pressure gauge.
- SERVICING VALVE( Stop pump, close gate valve in suction and discharge before proceeding):
a. Set handle in filter position, b. Remove cover screws, c. Lift the cover and remove the set.
TO ASSEMBLE:
- Place valve key so that wedge opening is at TOP port (handle in filter position.). Flat edge of cover screw lug should align with flat edge of body screw lug.
- Position cover O-ring.
- Secure assembly to body with cover screws. Tighten cover screws evenly and alternately. Do not over-tighten.
WARNING
THIS FILTER OPERATES UNDER HIGH PRESSURE. WHEN ANY PART OF THE CIRCULATING SYSTEM (e.g., CLAMP, PUMP, FILTER, VALVES, ETC.) IS SERVICED, AIR CAN ENTER THE SYSTEM AND BECOME PRESSURIZED . PRESSURIZED AIR CAN CAUSE THE LID OR VALVE TO BE BLOWN OFF WHICH CAN RESULT IN SEVERE INJURY, DEATH, OR PROPERTY DAMAGE. DO NOT UNSCREW SCREWS OF FLANGE CLAMP WHILE FILTER IS OPERATING.
TURN PUMP OFF BEFORE CHANGING VALVE POSITION.
TO PREVENT DAMAGE TO THE PUMP AND FOR PROPER OPERATION OF THE SYSTEM, CLEAN PUMP STRAINER AND SKIMMER BASKETS REGULARLY.

























