velleman KSR10 Robotic Arm

Product Information: KSR10 Robotic Arm
Introduction
To all residents of the European Union Important environmental information about this product: This symbol on the device or the package indicates that disposal of the device after its lifecycle could harm the environment. Do not dispose of the unit (or batteries) as unsorted municipal waste; it should be taken to a specialized company for recycling. This device should be returned to your distributor or to a local recycling service. Respect the local environmental rules. If in doubt, contact your local waste disposal authorities. Thank you for choosing Velleman! Please read the manual thoroughly before bringing this device into service. If the device was damaged in transit, do not install or use it and contact your dealer. Enter the world of basic robotic technology and build your own robotic arm with five motors and five joints. The arm features a five-switch hard-wired control unit, a rotating base, elbow and wrist articulations, and a functional gripper. The built-in searchlight brings more fun when operated in the dark.
Specifications
| Max. Lift Capacity | Power Supply | Full Extension Height | Weight | Dimensions |
|---|---|---|---|---|
| 100g | 4 x D batteries (order code LR20C, not incl.) | 38cm | 660g | 22.85cm (L) x 16cm (W) x 38cm (H) |
Tools You May Need
- Long Nose Pliers
- Diagonal Cutter
- Screwdriver
- D Battery x 4
Mechanical Parts List
| Qty | P1 | Motor (M4.M5) * |
|---|---|---|
| 2 | P2 | Motor (M2.M3) * |
| 10 | P6 | Gear 32/10T (Grey) |
| 5 | P6 | Gear 32/10T (Brown) |
| 4 | P7 | Output Gear 10T (Black) |
| 1 | P8 | Output Gear 10T (White) |
| 1 | P10 | Round Shaft |
| 5 (2.3×7) | P12 | Tapping Screw |
| 12 (2.6×6) | P15 | Tapping Screw |
| 3 (3×16) | P17 | Self Tapping Screw |
| 1 | P19 | Washer |
| 1 | P20 | Battery Terminal |
| 2 | P22 | LED With Wire |
| 2 | P23 | Sponge (Black) |
| 1 | P25 | PCB |
| 1 | P26 | Motor (M1) * |
| 5 | P26 | Gear 32T (Blue) |
| 9 | P26 | Round Shaft (2×20) |
| 11 (2.6×6) | P26 | Tapping Screw |
| 10 (2.6×6) | P26 | Nut |
| 16 | P26 | Battery Terminal |
| 3 | P26 | Wire Clip |
| 1 | P26 | Washer |
Plastic Parts
List of plastic parts is not available in the provided text-extract from the user manual.
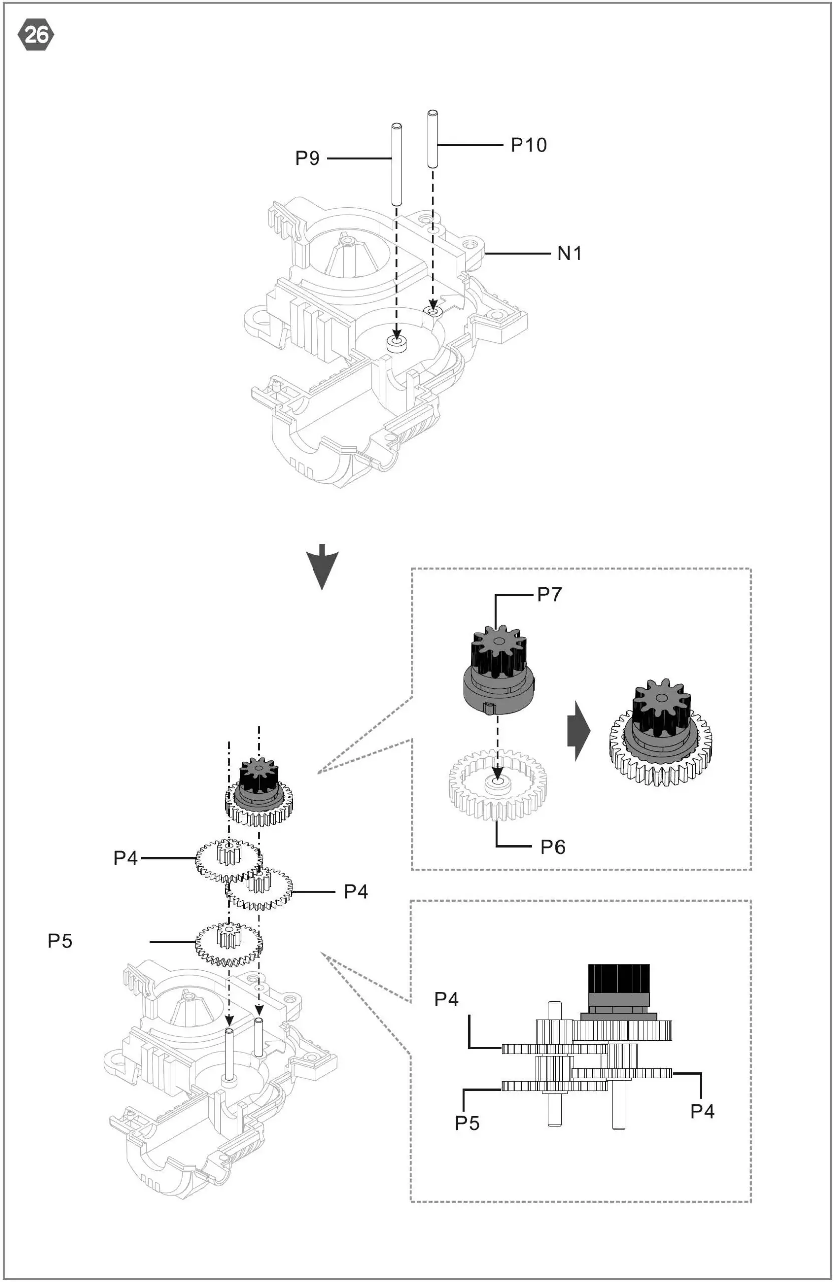
Mechanical Assembly
Please refer to pages 44 ~ 65 of the user manual for detailed mechanical assembly instructions.
How It Works
- Push any lever on the wired controller to start operation.
- The robotic arm has 12 different movements.
- The working area of the robotic arm is shown in the provided diagram.
- All gearboxes are equipped with safety devices that activate when the maximum movement range is reached.
- To extend the life of the gearboxes, release the control buttons once the maximum movement range has been reached.
Troubleshooting
- Ensure all wirings are correct. Please refer to pages 62 ~ 63 of the user manual for wiring instructions.
- If the robotic arm does not respond to any of the controls, check the BATTERY and GND connectors. Also check…
Introduction
To all residents of the European Union
Important environmental information about this product
This symbol on the device or the package indicates that disposal of the device after its lifecycle could harm the environment. Do not dispose of the unit (or batteries) as unsorted municipal waste; it should be taken to a specialized company for recycling. This device should be returned to your distributor or to a local recycling service. Respect the local environmental rules.
If in doubt, contact your local waste disposal authorities.
Thank you for choosing Velleman! Please read the manual thoroughly before bringing this device into service. If the device was damaged in transit, do not install or use it and contact your dealer.
Enter the world of basic robotic technology and build your own robotic arm with five motors and five joints. The arm features a five-switch hard-wired control unit, a rotating base, elbow and wrist articulations, and a functional gripper. The built-in searchlight brings more fun when operated in the dark.
Specifications
- Max. Lift Capacity 100g
- Power Supply 4 x D batteries (order code LR20C, not incl.)
- Full Extension Height 38cm
- Weight 660g
- Dimensions 22.85cm (L) x 16cm (W) x 38cm (H)

Tools You May Need

Mechanical Parts List



* P1 = orange + black; P2 = blue + black; P3 = yellow + black
Plastic Parts



Mechanical Parts List Control Box

Plastic Parts Control Box


Mechanical Assembly
Please refer to pages 44 ~ 65.
How It Works
- Push any lever on the wired controller to start operation.
- The 12 movements of the robotic arm are shown below:

- Working area:


- All the gearboxes are equipped with safety devices which will kick in as soon as the maximum movement range has been reached.
- To extend the life of the gearboxes, release the control buttons as soon as the maximum movement range has been reached.
Troubleshooting
- Ensure all wirings are correct. Please refer to on pages 62 ~ 63.
- If the robotic arm does not respond to any of the controls, check the BATTERY and GND connectors. Also check if the batteries are correctly inserted. Please refer to on page 52.
- If the robotic arm moves in the opposite direction of the desired control, check if wirings M1, M2, M3, M4 and M5 have not been inversed. Please refer to on pages 62 ~ 63.
- If the searchlight does not function, check if the L connector is correctly wired. Please refer to on pages 62 ~ 63.
Circuit Diagram


Safety Prescriptions
- Removal and replacement of batteries should be carried out by an adult or under adult supervision.
- Do not recharge non-rechargeable batteries. Remove exhausted batteries from the product to avoid leakage.
- Do not mix old and new batteries or batteries of different types.
- The use of rechargeable batteries or mercury-oxide batteries is not recommended for this product.
- Avoid short-circuiting the contacts.
Use this device with original accessories only. Velleman cannot be held responsible in the event of damage or injury resulted from (incorrect) use of this device. For more info concerning this product and the latest version of this manual, please visit our website www.velleman.eu. The information in this manual is subject to change without prior notice.
Mechanical Assembly
M4 ● M5 Gearbox


- P4 = grey
- P6 = blue


M3 Gearbox


- P4 = grey
- P6 = blue


M2 Gearbox


- P4 = grey
- P6 = blue



- M2 = white gear
- M3 = black gear
- M4 = black gear
- M5 = black gear





M1 Gripper Gearbox







Wiring – Bekabeling


Finished Product

Remote Control


Wiring

Velleman® Service and Quality Warranty
Velleman® has over 35 years of experience in the electronics world and distributes its products in more than 85 countries.
All our products fulfil strict quality requirements and legal stipulations in the EU. In order to ensure the quality, our products regularly go through an extra quality check, both by an internal quality department and by specialized external organizations. If, all precautionary measures notwithstanding, problems should occur, please make appeal to our warranty (see guarantee conditions).
General Warranty Conditions Concerning Consumer Products (for EU):
- All consumer products are subject to a 24-month warranty on production flaws and defective material as from the original date of purchase.
- Velleman® can decide to replace an article with an equivalent article, or to refund the retail value totally or partially when the complaint is valid and a free repair or replacement of the article is impossible, or if the expenses are out of proportion. You will be delivered a replacing article or a refund at the value of 100% of the purchase price in case of a flaw occurred in the first year after the date of purchase and delivery, or a replacing article at 50% of the purchase price or a refund at the value of 50% of the retail value in case of a flaw occurred in the second year after the date of purchase and delivery.
- Not covered by warranty:
- all direct or indirect damage caused after delivery to the article (e.g. by oxidation, shocks, falls, dust, dirt, humidity…), and by the article, as well as its contents (e.g. data loss), compensation for loss of profits;
- frequently replaced consumable goods, parts or accessories such as batteries, lamps, rubber parts, drive belts… (unlimited list);
- flaws resulting from fire, water damage, lightning, accident, natural disaster, etc.;
- flaws caused deliberately, negligently or resulting from improper handling, negligent maintenance, abusive use or use contrary to the manufacturer’s instructions;
- damage caused by a commercial, professional or collective use of the article (the warranty validity will be reduced to six (6) months when the article is used professionally);
- damage resulting from an inappropriate packing and shipping of the article;
- all damage caused by modification, repair or alteration performed by a third party without written permission by Velleman®.
- Articles to be repaired must be delivered to your Velleman® dealer, solidly packed (preferably in the original packaging), and be completed with the original receipt of purchase and a clear flaw description.
- Hint: In order to save on cost and time, please reread the manual and check if the flaw is caused by obvious causes prior to presenting the article for repair. Note that returning a non-defective article can also involve handling costs.
- Repairs occurring after warranty expiration are subject to shipping costs.
- The above conditions are without prejudice to all commercial warranties.
The above enumeration is subject to modification according to the article (see article’s manual).






















