Hard Head 013992 100 Position Adjustable Key Cabinet

SAFETY INSTRUCTIONS
- Note the lock combination.
- Note down the serial number from the label on the box.
- Store the lock combination in a safe place.
IMPORTANT:
Do not keep the lock combination in the box.
TECHNICAL DATA
- Dimensions: H208 x W168 x D93 mm
- Steel thickness: 0.6 mm
Use
- Set the code (factory set code 0-0-0) and turn the knob clockwise to open the door
- Let the knob remain in the open position (clockwise).
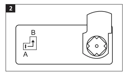
- Move the lever on the inside of the lock from position A to position B.

- Rotate the 3 numeric wheels to set the desired number lock combination.

- Move the lever on the inside of the lock from position B to position A.

- Close the door, turn the knob to the from position B to position A.

- The new lock combination is now set. In order not to leave the safe unlocked roll the numeric wheels so the new lock combination is not visible.





















