HUMMINBIRD CVR1000 Waterproof Color Video

TRANSDUCER MOUNTING PROCEDURE
Humminbird’s high-speed transducer is supplied with your LCR. This transducer has been designed to give good high-speed readings on most all boat designs, including aluminum.
Please carefully consider the following before installing your transducer.

TRANSDUCER MOUNTING OPTIONS
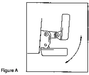
A. Transom Mount- The Humminbird high speed transducer allows the transducer element to be mounted below the bottom of the boat hull keeping the transducer out of turbulent water and insuring good high speed operation. The transducer will absorb the blow of any obstruction by rotating up out of the metal spring bracket without harming the transducer, or your boat.
The transducer can be re-engaged by simply rotating the transducer down and snapping it back in place. (See Figure A)

B. Inside Hull Mount- The high speed transducer can be mounted inside the hull (without pivot assembly) using the proper two-part epoxy, such as Humminbird’s epoxy kit. Even though there is some loss of signal in shooting through the hull, your LCR will perform well with this type of installation. You cannot shoot through the hull of an aluminum boat.
C. Trolling motor Mount- This type of transducer is not supplied with your LCR. It is designed to mount on the foot of a trolling motor. You may exchange your un-used high speed transducer for a trolling motor transducer. Call the Humminbird Customer Service Department.
D. Bronz Thru-Hull Mount- This transducer is not supplied with your LCR but for an additional cost you may exchange your un-used high speed transducer for a bronz thru-hull. The bronz thru-hull transducer has a threaded stem which installs through a hole drilled in the boat hull, leaving the housing exposed under the boat. This type of installation must be used for many boats with in-board engines, because there is no suitable location on the transom away from the noise and turbulence created by the prop. A bronz thru-hull transducer should be installed by qualified personnel only.
The LCR will operate well at high speeds with a properly mounted transducer. Remember, a transducer will not work transmitting through air or through air bubbles.
- TRANSOM MOUNTING PROCEDURE
Step 1.
MOUNTING LOCATION- It is important that the transducer be mounted on the transom where water flow is in constant contact with the transducer. You may wish to observe the rear of the boat while it is moving through the water to determine the best mounting location.
Step 2.
BRACKET INSTALLATION (Aluminum Boats)- To install the metal bracket on an aluminum boat locate the template on the transom between rows of rivets, or ribs that are on the bottom of the boat. Align the template so that the bottom corner of the template nearest the center of the transom is on the bottom edge of the transom.
Once the location is determined mark and drill three 7/64” dia.. holes noted on the template.
Attach the metal bracket using three #10 self-threading screws supplied. Be sure to align holes in the center of the
Bracket slots. On some aluminum boats it may be necessary to use a wood back-up plate. It is important to use a silicone sealant between the screwhead and bracket in order to prevent leaking. (See Figure C)
Step 2.
BRACKET INSTALLATION (Fiberglass Boats)- If your boat has a stepped transom located below and under the main transom, the compact transducer design allows mounting in this area. This mounting location is recommended for good reading at very high speeds. (See Figure D)
To install the metal bracket on a fiberglass boat, locate the template on the transom in the same manner as for an aluminum boat. (See Figure C)
NOTE: On boats with more than 15 degree deadrise angle it may be necessary to mount the transducer slightly off parallel with the water level. (See Figure E)
Mark and drill the three 9/64” dia. holes as shown on the template. Attach the metal bracket using the three #10 self threading screws supplied. Be sure to align the holes so that they are centered vertically in the three slots found in the bracket. It is important to use a silicone sealant between the screwhead and bracket in order to prevent leaking.
Step 3.
TRANSDUCER PIVOT ASSEMBLY- Assemble the pivot to the transducer main body using the two ¼”x5/8” allen head screws, two 3/8” tooth washers and two, ¼” square nuts. Make sure the tooth washers are sandwiched between the transducer main body and the pivot. The square nuts are trapped inside the pivot and will not rotate as the allen head screws are tightened.
HOWEVER, DO NOT TIGHTEN AT THIS POINT. (See Figure F)
Step 4
TRANSDUCER ASSEMBLY- Insert the transducer assembly into the metal bracket from the bottom. Push up until the holes in the plastic pivot align with the uppermost holes in the bracket. Slide the O-ring on to the headed pin and insert it through the two parts. Assemble by screwing the ¼”x3/8” allen head screw into the end of the pin and tighten. (See Figure G)
Step 5
ANGLE ALLIGHMENT- Set the transducer angle so that it is parallel with the bottom of the boat hull. Once proper alignment is achieved, tighten the two allen head screws using the 5/32” allen wrench provided. The screws are visible through the access holes on each side of the metal bracket. Check to make sure the transducer main body is rigidly fastened to the pivot. (See Figure H)
Step 6
CHECK POSITION OF TRANSDUCER- At this point, check to see that the bottom of the transducer is a minimum of ¼” below the bottom of the transom. (However, as noted in STEP 2, the top of the transducer cannot fall below the bottom of the transom). If it is not, remove the transducer assembly from the metal bracket by removing the pin installed during STEP 3. Loosen the metal bracket mounting screws, re-position the bracket utilizing it’s slotted holes, tighten and re-assemble. It may be necessary to replace the silicone sealant after this adjustment is made.
NOTE: It may be necessary to make several high speed runs to adjust transducer either
UP/DOWN or to re-adjust the angle to achieve optimum results.
Step 7
CABLE CLAMPS- Install cable clamps as necessary by drilling a 1/8” dia. hole for the # 8 screw supplied. - INSIDE HULL MOUNTING PROCEDURE
Warning: In order to achieve proper results with this type installation, it is important that the transducer be mounted by someone familiar with the use of two part epoxy adhesives. For this reason, Techsonic Industries, Inc. will not be responsible for any damage due to the mounting of your transducer in this manner.
NOTE: An Epoxy Kit (Part N. EPK) is available from Humminbird. This Epoxy Kit has been formulated for Inside Hull Transducer Installation.
- Select as flat an area as possible near the aft end and center of boat where the hull is thin and not double. If the bottom has a runner down the center of boat, select an area to one side of the runner, but as close to the runner as possible.
- Clean the inside of the boat with lacquer thinner in the area transducer is to be mounted. Outside of boat in this area should also be cleaned. (Not with lacquer thinner).
- Put approximately one inch of water in the bottom of the boat.
- Put transducer in the water. The bottom of the transducer should be in a flat area and should be in good contact with the bottom of the boat.
- Operate the LCR with the boat operating at high speed. The transducer may have to be moved in order to find an area where satisfactory operation is observed.
- When an area is found that produces satisfactory operation, mark the location of the transducer.
- Remove the water and transducer and clean the marked area and the bottom of the transducer thoroughly.
- Using the Humminbird Epoxy Kit or equivalent, mix an ample amount of epoxy without causing it to bubble and pour it in the area the transducer is to be mounted. The puddle should be larger than the bottom of the transducer.
- Coat the bottom of the transducer with epoxy, then put it in the center of the puddle and push down on the transducer while moving it around in a circular motion. This forces out any air bubbles that may be trapped between the bottom of the transducer and the hull of the boat.
- Let epoxy cure then the transducer is ready to operate. No water is now required in the bottom of the boat and gas and oil that is spilled inside of the boat will not degrade performance as it will if the transducer is placed only in water.
CAUTION: Do not use the silicone seal or any soft adhesive to bond the transducer to the hull. This will reduce the sensitivity of the unit.
CAUTIONS
- Occasionally the “eye“ of your transducer may become dirty from storage or from contact with oils present in boats or marina environments. (Oil will cause the “eye” to lose the intimate contact with the water which is necessary for efficient operation.) The “eye” may be cleaned with liquid detergent.
- Improper installation of the transducer can alter the efficiency and accuracy of the entire system.
- If your boat of transducer is out of the water for a period of time, it may take a short period of time for the transducer to become thoroughly “wetted” when returned to the water. Also, re-entry may cause turbulence, which will create air bubbles in the “eye” of the transducer. The bubbles will disappear in a short time or can be removed by rubbing the transducer “eye” with your fingers while the transducer is in the water.
- If your instrument should fail to function, be sure to check all the electrical connections before removing the transducer or calling a serviceman.
- Inspect your transducer cable and make sure that it has not been cut or damaged to the point where it will affect the performance of the transducer. A slight nick or cut, exposing the outer cable, can be repaired by wrapping with electrical tape. A transducer can be damaged if the inner cable and outer cable are allowed to make contact. Such a problem can sometimes be corrected by properly splicing the coaxial cable. This should only be attempted by a qualified service technician.
- If your LCR is not working properly and you suspect the problem might be in your transducer, we would recommend you borrow a unit from a friend and try it on your boat. If the symptoms are the same, you can almost be certain that the problem is in the transducer.
INSTALLING THE LCR
The LCR should be mounted on a flat, solid surface for maximum stability. The low profile swivel mount has four holes drilled in the base. It is recommended that all four holes be used.
Position the swivel base and drill four ¼” diameter holes. Note: The LCR hole pattern Is the same as for all Humminbird flasher units. Use hardware provided to mount this base to the boat.
Next place the gimbal bracket on the swivel base and attach with four small machine screws, provided.
Place the LCR in the gimbal mount and make certain the rubber washers provided are placed between the unit and the gimbal bracket Important: Note which side of the gimbal faces forward. (Slots on gimbal bracket go towards rear). Also, rubber washer must be located between the unit and the gimbal bracket.
Install the mounting knobs and tighten snugly. The unit can now be swiveled and tilted to any desired position.


OTHER MOUNTING OPTIONS
- The LCR gimbal bracket can also be mounted on the SM-4, quick disconnect swivel mount.
- The LCR gimbal bracket can also be mounted directly to the dash without the swivel mount, however, this method is not recommended since the unit cannot be rotated.
INSTALLING THE CABLES
Your LCR comes equipped with Humminbird’s new Angle-Lock power and transducer connectors. The power connector is identified with the letter P on the back of the plug.
It plugs into the outlet on the back of the unit marked “Power”. The transducer connector is identified with the letter T and plugs into the outlet on the back of the unit marked “Transducer”. Note: An adapter (AD-4) is available to allow use of an old waterproof (BNC) transducer with the LCR, but be sure that the transducer is a 16degree. A 32-degree transducer cannot be used.
A 11/8” hole must be drilled to pull through the transducer connector. After drilling the hole, pull the transducer connector up through the hole. If you are installing two units, both transducer connectors can be pulled through this 1 1/8” inch hole. Next, push the power cable wires down through the hole. A hole cover has been provided which will dress and hold the wires. Install the hole cover after determining the necessary wire length from the hole.
The power cable has a red lead to the positive (+) post and the black lead to the negative (-) post. Install a 1 amp fuse between the red cable and positive post of your 12-volt battery.
If a fuse panel is available, we recommend wiring the power cable into the fuse panel. Note: The LCR must be fused separately from any other accessory.
Your Angle-Lock connectors can only be plugged in one way. Position the connector so the letter P or T can be read and the 90 degree bend is pointed downward. Push the connector in as far as it will go. Turn the positive locking ring as far as it will go clockwise until you feel it lock. Locking ring as far as it will go clockwise until you feel it lock. Your connector is now locked into place.
Note: For easy access to the connectors, simply loosen the mounting knobs and tilt your LCR forward. The connectors are now in full view and easy to plug or unplug.

TESTING THE INSTALLATION
Once you’ve installed your CVR 1000, Sensor, and cables, it’s time to test the installation. This testing should be done on the water, since that is the only way to check your Sensor’s performance.
Test Your CVR
When your boat at idle, the unit on. The CVR will perform a “self-test” on its electronics to make sure everything is operating properly, and then it will select the right depth range and sensitivity level for the conditions. Momentarily, you’ll see the reading start to “march” across the screen from right to left.
Test Your Sensor Installation
Increase your boat speed to ensure that you get a continuous bottom reading as the boat moves. Your CVR 1000 and its Sensor are designed to operate a up to 75 mpg, so feel free to test them at very high speeds.
If the CVR 1000 performs well at idle or slow speeds, but the display is not continuous at higher speeds, then the Sensor is not installed properly. Air bubbles or turbulence from the boat hull are passing across the face of the Sensor, blocking the transmitted signal. Following the instructions in “Mounting The Sensor,” you can make simple adjustments that should take care of the problem. Do not install the lower screw into your sensor bracket until you are satisfied with the location of the sensor.
MOUNTING THE TCR COLOR-1


FOR BEST RESULTS
Your TCR Color-1 should be mounted on a flat, sturdy surface, allowing plenty ol room at the sides, top and back for the installation, and for removing the unit when needed. Also, be sure that the mounting location is not near any magnetic fields or heat sources-these conditions can affect the performance of your TCR.


- Set the mounting bracket on the mounting surface.
- Mark ¼” holes for the mounting bolts.
- At least 4″ behind the bracket, mark a ½” hole to run the cables through.
- Set the mounting bracket aside and drill the holes as marked.
- Mount the bracket as shown in Figure 9, using the mounting hardware that is supplied with your TCRColor-1. Be sure that the slots at the top ol the bracket point toward the rear.
NOTE: If your boat doesn’ t allow access underneath the mounting surface, you may substitute sell-threading stainless steel screws in place of the nuts and bolts we supply. - Pull the Sensor cable up through the rear ½” hole, and push the power cable down through the hole, leaving the “connector” ends above the mounting surface. If you are also installing the optional Surface
Temp Gauge and/or Trolling Speed Indicator, pull their cables up through the hole in the same way.
STOP: If your Sensor cable ,snot long enough, extension cables are available. See the “Options and Accessories” section in this manual.

- Included with your TCR is a hole cover to “dress” the ½” hole and to hold the cables securely. Pull out enough cable to complete the installation, and install the hole cover.
- To connect the power cable to the 12-volt DC power source, we recommend that you wire the
TCR through your fuse panel; however, if your boat doesn’t have a fuse panel, you can wire the power cable to the battery with an in-line 2-amp fuse. For safety, do not connect directly to the battery. Attach the black lead to the negative ( – ) terminal, and wire the red lead through the 2-amp fuse to the positive ( + ) terminal.
NOTE: Do not use any power cable other than the one provided with your TCR Color-1. - It’s easy to connect the cables to the TCR Color-1.
The power cable is identified by a “1” on the plug.
The Sensor has a “2” on its plug. If you are installing · ing the optional Trolling Speed Indicator, you’ll fincl a “3” on its plug. The optional Surface Temp Gauge has a “4” on the plug. - Insert each plug into the cable carrier with their numbers-oriented as shown in Figure 13.



Caution: Do not attempt to insert cables into carrier except as shown. - When each cable connector is firmly seated in the carrier., assemble the carrier and its cover, and attach to the back of the unit according to Figure 14.
- Mount the TCR on the bracket as shown in Figure 15 by loosening the mounting knobs and slipping the unit into the bracket. Be sure to keep the rubber washers between the bracket and unit.
Tighten the knobs to hold the TCR in viewing position.
NOTE: Use the sun shield included with your TCR Color-1. It will improve your ability to see the readings on. the screen, and snaps easily into place.
READING THE CVR 1000 SCREEN
TFT Display
Unlike color video depth sounders that use large picture tubes, the CVR 1000 features a liquid crystal TFT display- the leading edge in LCD technology. The TFT screen has over 114.000 pixels, so small that they can hardly be seen by the naked eye. This individual red, green and blue pixels are each controlled by a Thin Film Transistor (TFT). Signals to the more than 114,000 transistors create the unit’s high-resolution, 8-color picture.
Colors:
If you’ve never used an 8-color depth sounder before, you’ll be amazed at all the information and details it provides. The 8 colors stand for signal strengths from weakest to strongest. You can clearly distinguish small fish, large fish, structure and bottom by learning the colors and the signal strengths they represent.


White, the 8th color is reserved for displaying the depth scales, and for outlining the bottom reading. If you have installed the optional Surface Temp Gauge and/or Trolling Speed Indicator, you’ll see the temperature and speed readings displayed in white at the top of the screen.
Color Bar:
Press the color bar button to display the color bar on the screen. It’s a handy reminder of the signal strength that each color represents. The color bar will appear on the left side of
the display, and will remain there until you press the color bar button again to turn it off.

Readings:
Most readings will have a “core” color surrounded by other colors. This is because the signal strength changes as you move over an object.

As a fish begins to enter the cone angle, its signal is weak and is displayed in a “weak” color such as light blue or green.

As you move directly over the fish, putting it in the center of the cone, the signal gets stronger and changes to “stronger” colors until it creates a core. The core color is the strongest signal return from the fish.

As you move past the fish, its signal gets weaker and decreases back to the weakest colors until the fish leaves the cone angle.

Schools of fish are displayed as “clouds” of color. You can tell how close together the fish are by the color of the cloud.

Dense schools will show you a stronger color, while schools that are more spread out will have a weaker signal.
Also, keep in mind that some fish will give you a signal stronger than normal because of their air bladder size and their bone structure.
Of course, the best way to learn to read your CVR is to use it- especially in familiar locations. If you know what’s underwater and can see it displayed on the screen, then you’re on your way to being an experienced CVR user.
OPERATING THE CVR 1000
Power On/Off:
Pressing this button once turns the CVR 1000 on. Pressing it once again turns it off. When the unit is turned off, holding this button down for about 2 seconds activates the built-in simulator.
Stop:
By pressing this button once, you can stop or “freeze” the display. Pressing the button once again restarts the display at its previous speed setting.
Color Bar:
You can call up the color bar on the screen by pressing this button once. The color bar will appear on the far left side of the screen and will remain there until you press the button again to turn it off.
Select System:
The CVR 1000 Select System commands an amazing number of functions with only four buttons: Select, Up and Down arrows, and On/Off.
When you press the Select button, each function appears in a block on the screen with easy-to-understand instructions for using the function. You use the Up and Down arrows and the On/Off button to adjust the functions. Then, the instructions disappear, returning the display to its full-screen reading.
Select System functions are “active”; that is, the last function displayed on the screen can be adjusted without pressing the Select button again. This is valuable in two ways.
Example 1: Readjusting a function
If bottom alarm was the last function used, you can adjust it again by pressing one of the arrow buttons or the On/Off button.
Example 2: Often-used function
If you think you’ll be using zoom often, you can go to the zoom function, let the
instructions disappear, and then activate the zoom when you need it by simply pressing On/Off.
Also, certain settings are stored in memory and are retained when the power is turned of and back on again – sensitivity, bottom alarm depth, bottom alarm on/off, screen color, and depth units.
The following describes the functions and how to use them, in order of appearance after you turn the unit on.
- Sensitivity
Automatic setting: on, “O” or previous setting
As conditions change, the computer will automatically increase or decrease the sensitivity setting. You can manually increase or decrease the automatic setting from a range of “+5” to “-5”. This level will maintain itself automatically for as long as you have the unit on, as a result of the CVR’s Sensitivity Bias feature. For example, if you set the sensitivity at “+2”, the sensitivity will remain 2 settings higher than the normal automatic settings until you change it again. - Depth Range
Automatic setting: on
The CVR 1000 automatically finds the bottom, and then sets and displays the ideal depth range when you turn the unit on. If you choose to leave the auto range change on, the depth ranges will change automatically. Or, you can turn the auto change off, allowing you to change the depth range manually. With auto change off, you can also select an additional depth range of 360 feet. Depending on conditions and installation, this additional depth range may exceed the CVR 1000’s capabilities. - Bottom Alarm
Automatic setting: off
Use the On/Off button to activate the alarm, and the arrow keys to adjust the depth at which the alarm will sound. You’ll hear a continuous chirping sound whe the bottom is within the area that you’ve defined with the alarm cursor. This is a great feature to use to alert you to shallow water or to maintain your position over structure. - Fish Alarm
Automatic setting: off
The fish alarm is easily activated by pressing the On/Off button. This 6-level alarm can be set to sound for all fish, or to ignore weaker signals and alarm only for stronger signals, such as those from larger fish. This is based on the order of colors on the color bar. For example, you can set the alarm for signals that are purple or stronger, ignoring the weaker light blue and green signals. The arrow keys are used to set the fish alarm levels.
You can also adjust the volumes of the fish alarm by using the On/Off button. When you turn the alarm on, you’ll see “ON LOUD” displayed in the instructions. Pressing On/Off once again gives you the “ON SOFT” setting. Pressing the button a third time turns the fish alarm off. - Zoom
Automatic setting: off
When zoom is activated by pressing On/Off, it creates a “window” of expanded, up-close information. The cursor at the right of the screen can be moved up or down with the arrow buttons. When the zoom is activated, the “window” marked by the cursor is expanded to the full size of the display. The exact depth of the upper and lower limits of the zoom window are displayed as depth scales, while the digital read-out in the bottom left corner reminds you of the water’s depth..
The size of the zoom window changes as the depth range changes. The window displays 7 ½ feet of up-close readings in the 15’ and 30’ ranges. 15 feet in the 60’ and 120’ ranges, 30 feet in the 180 range and 60 feet in the 240 range and 360 range.
Keep in mind that using your arrow buttons, you can move the zoom window while the zoom is activated without having to press Select again. - Bottom Lock
Automatic setting: off
You can easily turn on the bottom lock with the On/Off button and see up-close zoom readings in reference to the bottom. The size of the Bottom Lock window is selectable using the up and down arrow keys. Window sizes of 15, 30, and 60 feet are selectable.
The zoom window will automatically move up or down to stay on the bottom. This is an ideal feature for finding structures or locating fish near the bottom. - Display Speed
Automatic setting: highest speed
The speed at which the CVR display moves depends on the display speed setting and it is easily changed by pressing the Up arrow for a faster setting and the Down arrow for a slower setting. Generally speaking, the higher speed settings allow faster updates, while slower speeds provide more information. With this screen, you can also activate the built-in simulator. Using the on/off button you can turn the simulator on or off at any point of operation. - Brightness
Automatic setting: brightness, 7 or greater; color, blue mode or previous setting
The brightness and the colors displayed on the CVR 1000 screen can be changed to suit your personal preference of the current sunlight level. You can choose a deep blue background with a black bottom reading, or black background with an rd bottom reading. Then, you can adjust the brightness with 9” “Blue” settings and 9” “Black” settings.
With this screen, you can also change the way the depth is measured and displayed. The CVR 1000 is automatically set for depth readings in feet. But, using the On/Off button, you can choose to see depth displayed in feet, meters or fathoms.
Depending on the measurements you have chosen, your optional temperature and speed measurements will also change as shown in the chart below.






























