4-AXIS KNEE
1M102(-P6) / 1M102V(-P6) / 1M112 / 1M113 / 1M05
User manual for orthopedic prosthetists
Read before use![]()
Provide the patient with the instructions in § 3, 7, 8, 9
COMPONENTS INCLUDED
| Designation | Reference | Included / Sold separately |
| Knee | 1M102(-P6) / 1M102V(-P6) 1M112 / 1M113 1M05 | Included |
| Trim | 1M11294 & 1G13 | Sold separately For 1M112 / 1M113 only |
| 1M10294 & 1G13 / 1G21 | Sold separately For 1M102(-P6) / 1M102V(-P6) only | |
| Remote unlocking handle | 1X110 | Sold separately For 1M102V(-P6) only |
| Extension stop | 1M10270 | Sold separately For 1M102(-P6) / 1M102V(-P6) only |
| 1M11270 | Sold separately For 1M112 / 1M113 only |
DESCRIPTION, PROPERTIES AND ACTION MECHANISM
A. Description
4-axis multi-axis knee, in 7 versions:
- 1M102 / 1M102-P6: 4-axis knee
- 1M102V / 1M102V-P6: lockable 4-axis knee
- 1M112 / 1M113: compact 4 axis-knee
- 1M05: 4-axis knee with short link rods

B. Properties
| Reference | 1M102 | 1M102V | 1M102-P6 | 1M102V-P6 | 1M112 | 1M113 | 1M05 |
| Weight | 565 g | 575 g | 600 g | 625 g | 320 g | 340 g | 460 g |
| Height (H) | 12 mm | 11 mm | 11 mm | ||||
| Total height (TH) | 184 mm | 155 mm | 166 mm | ||||
| Design height (DH) | 108 mm | 113 mm | 75 mm | 85 mm | |||
| Maximum bend | 160° | 165° | 140° | ||||
| Maximum patient weight (Including load borne) | 100 kg | 125 kg | 45 kg | 80 kg | 100 kg | ||
| Distal connector tube | 030 mm | 034 mm | 022 mm | 030 mm | 030 mm | ||
These devices have been tested as per standard NF EN ISO 10328 for a load level of 45 kg for 1M112, 80 kg for 1M113, P5 (i.e. 100 kg) for 1M05, 1M102 and 1M102V, and P6 (i.e. 125 kg) for 1M102-P6 and 1M102V-P6 for 3 million cycles, corresponding to a service life of 4 to 5 years, depending on the patient’s activity level.
C. Action mechanism
These multi-axis knees stabilize the stance phase through the geometry of the joint system, with a spring extension return system, with the option of locking in the extended position (for references 1M102V and 1M102V-P6), and without locking in the extended position (for references 1M05, 1M102, 1M102-P6, 1M112 and 1M113).
INTENDED USERS/INDICATIONS
This medical device is supplied to health professionals (orthopedic prosthetists), who will train the patient in their use. The prescription is drawn up by a doctor, alongside the orthopedic prosthetist, to assess whether the patient is suited to using it.
This device is for SINGLE-PATIENT use. It must not be reused on another patient.
This device is designed only for the prosthetic system for a transfemoral amputee, or amputee with hip/knee disarticulation. It is recommended specifically for patients with a low activity level (1), to medium activity level (2), and also active patients (3) for the 1M05.

Maximum weight (including load borne):
- 1M102 / 1M102V / 1M05: 100 kg
- 1M102-P6 / 1M102V-P6: 125 kg
- 1M112: 45 kg
- 1M113: 80 kg
The maximum knee bend may however be limited by the socket volume or by the aesthetic coating.
CLINICAL BENEFITS
The device makes it possible to:
- Set the knee friction.
- Set the extension return.
- Set the socket rotation to +/- 15°.
The geometry of the 4 axes and link rods shortens the leg segment during the swing phase.
The lockable 4-axis knee 1M102V(-P6) enables the patient to:
- Gradually learn to walk “freely” during the rehabilitation phase
- Gain additional stability (walking on very rough ground, etc.)
The lock is designed to be removable, hence it can be removed by an orthopedic prosthetist if the patient no longer uses this function.
ACCESSORIES AND COMPATIBILITY
| Reference | 1M102 | 1M102V | 1M102-P6 | 1M102V-P6 | 1M112 | 1M113 | 1M05 | |
| Upper joint | Tie-plate | 1K40 | ||||||
| Connectors | 1K160 /1K163 / 1K03(-P6)/1K30 | 1K160-P6 / 1K03-P6 | 1K160 / 1K163 / 1K03(-P6) / 1K30 | |||||
| Lower joint | Tube | 030 mm | 034 mm | 22 mm | 30 mm | 30 mm | ||
MOUNTING AND FITTING ON THE PATIENT
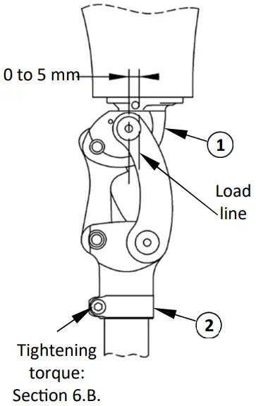
A. Alignments
Static alignments:
In a sagittal plane, the load line runs via the Trochanter, between 0 and 5 mm in front of the knee axis.
Make sure to respect the patient’s flexum.
For the foot, comply with the alignment instructions from the manufacturer.
In the frontal plane, the load line will run via the middle of the knee and the foot.
Dynamic alignments:
In normal walking, after fitting the cable and the various settings set out below, the knee must be extended during the stance phase.

Check the alignment using an appropriate tool (laser, plumb line, etc.)
B. Fitting
Tube holding collar tightening torque:
- 1M102 / 1M102V / 1M05: 11Nm
- 1M112: 9Nm
- 1M102-P6 / 1M102V-P6 / 1M113: 5Nm
Adhere to the tightening order and torque of the screws on the tube (diameter 34 mm) on the -P6 version:
- Tighten screw V1 to 5 Nm
- Tighten screw V2 to 5 Nm
- Retighten screw V1 to 5 Nm

C. Setting
For the patient’s safety, the orthopedic prosthetist must perform the initial test with the factory settings, between parallel bars.
The foot model used may influence the knee settings. The knee should be set whenever the foot has been replaced.
After any maintenance operation, the knee will need to be set again.

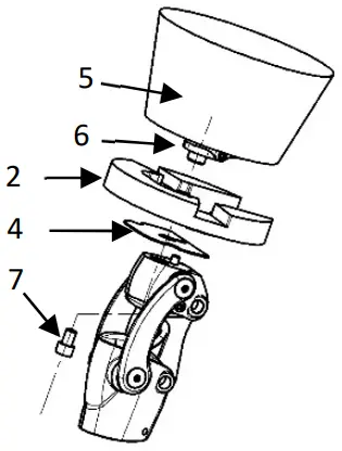
Setting the extension return:
Use a flat-head screwdriver to tighten or loosen the screw (5), to obtain the requisite return force.
The screw (5) must never protrude past the bush (7) by more than 2 mm.

Setting the extension stop:
NB: this setting adjusts the knee geometry, and therefore the alignment.
Loosening screw (6) improves the bend security, but the knee will be harder to bend.
Perform this operation using a 3 mm Allen key (2.5 mm for 1M112/1M113), with the patient loading their prothesis, in order to hold the stop in place in its housing.
Note: Knee 1M05 supplied with two extension stops: one normal which comes pre-fitted, and the other hard which can replace the normal one.
After setting, check that the knee can be fully bent. If not, loosen the screw slightly.
Friction setting:
Perform this setting only on the two screws situated on the right-hand side of the knee. Any operation on the left-hand side of the knee could compromise the performance of the joint.
a) Unlock the central screw (3) using a 2 mm Allen key.
b) Tighten or loosen the main screw (4) using a 4 mm Allen key, until you obtain the desired setting.
c) Once you obtain the setting, retighten the central screw (3) using a 2 mm Allen key (tightening torque 2.5Nm)
Setting the lock (Version V):
Use the remote unlocking handle or any other handle with a stroke of at least 12 mm.
Make sure that the knee is extended to perform the settings.
This device is not designed to be unlocked “under load”.
a) Mount the sheath and cable, so that it is centred and aligned on the lock.
b) Lock the knee, and make sure that the knee is in contact with the link rod. In this position, the cable must be slightly slack.
Torque tighten the screw to 0.8Nm using a 2 mm Allen key.
Set the position of the lock to have a 1.5 mm gap between the lock and link rod, by adjusting screw (A) using a 2.5 mm Allen key.
Always adhere to this condition. Otherwise, you could damage the lock if the gap is greater, or there is a risk of falling if the gap is too great.

In the unlocked position, check that the lock disengages fully, to enable bending.
If the prothesis alignment has been modified, correct the lock engagement.
The knee must be locked in the fully extended position. Otherwise, knee friction could cause deterioration of the rear link rod.
D. Conversion to free-moving knee (Version V)
This operation is irreversible.

E. Finishing
The socket must be in contact with the tube holder or its collar at maximum bend. Any other contact zone is prohibited.
For the locking version, check that the lock is not acting as a stop.

F. Installing the lock control handle 1X110
For 1M102V(-P6) only
This handle is supplied in its “automatic holding in unlocked position” version. To obtain a handle with automatic return, please see below.
Maximum unlocking stroke in the “automatic holding in unlocked position” version. 14 mm.
Maximum unlocking stroke in the “automatic return” version: 15 mm.

For certain operations described below, it may be necessary to dismantle the handle mechanism.
In this case the mechanism dismantling and reassembly operations must be performed as set out below:
- Disassemble the handle by unscrewing, in order, screws 8, 9 and 7 (to be able to access screw 8, the handle must be in the down position, with hole 4a in this position enabling you to insert a 2 mm Allen key)
- To reassemble the mechanism, follow the same procedure, refitting, in order, screws 8, 7 and then 9.
For any operations with the handle, the tab 3 must be in the up position. If it is in the down position, screw 8 may rise back into the mechanism and become inaccessible. Should this occur, dismantle the mechanism, reinsert screw 8, and then refit as described above.
Modification to obtain automatic handle return:
Disassemble the handle as set out above
- Using a screwdriver, lift the tab 3a
- Shave the hooks 3b
- Use a cutter to eliminate any burrs that could impede performance
- Reassemble the mechanism.

Installing the handle:
This handle was designed to be installed with two fastening screws. Any installation using just one screw could cause inadvertent unlocking of the mechanism to which it is linked.
- On the positive, make a flat area at least the size of the insert 5 (40 mm high x 12 wide)
- ON LAMINATE SOCKET
- Position the insert 5 in the center of this area (tapped holes downward), trapping it under the two outer layers of fabric
- Use your normal laminating method
- Allow the full resin setting time

- ON THERMOFORMED SOCKET
- Position the insert 5 in the center of the flat area (tapped holes downward), making sure to introduce between the insert and the positive a shim 2 mm thick, cut to the external dimensions of the insert, in order to properly incorporate the insert in the thermoform
- Use your normal thermoforming method
- Allow to cool down
- Clear the access to the two tapped holes in the insert 5
- Adjust the length of screws 8 and 9 (if necessary, according to the thickness of the socket wall, replacing them with screws 14 and 15).
The mechanism must be disassembled to adjust the length of the screws, to prevent any risk of deterioration of the plastic parts
- Fasten the handle using a 2 mm Allen screw, by screwing in screws 8 and 9 into the two holes in the insert 5: recommended torque 0.4 Nm
Overtightening screw 9 could jam the mechanism
- Determine the useful length of the sheath 10, and cut it to the right length
- Install the sheath 10 on the cable 6
- Fasten the sheath10 using bridge fittings 11 and screws 12 (or rivets 16, depending on the socket thickness)
- The cable can then be connected to the knee
Check that with the handle in the up position the knee lock is not at its unlocking end stop
- For patients experiencing difficulty finding the position of release button 4b under their clothing, stick the adhesive stop 13 onto this button
It is strongly advisable to reinforce the bonding of the stop 13 on the button 4b using a cyanoacrylate glue
Replacing the cable (3A24 25):
In case of a cable break, replace as follows:
a) With the handle in place on the socket, fully unscrew screw 9 (without touching screw 8)
b) Slightly lift the bottom part of the cover 4
c) Remove the damaged cable 6
d) Insert a new cable
e) Refit screw 9
G. 2-part trim 1M10294
For 1M102(-P6) / 1M102V(-P6) only
It is vital to perform the final alignments of the prothesis on the patient before fitting this trim.
- Install the knee on the socket 5 fitted with its connection plate 6, inserting in between the metal plate 4 and intermediate block 2, with its upper face pre-glued (resin).
- Glue the lower part of the socket (only surfaces opposite the upper face of the intermediate block 2).

- Secure the assembly by tightening screw 7.
Make sure to retain the set alignment. - When the glue is dry, unscrew screw 7 and remove the knee.
- Remove the plate 4 (this is no longer useful).
- Install the shell 1 under the intermediate block 2, and screw the two screws 3 into the designated holes in the block 2.
- Use a pencil 8 to mark the outline of the shell 1 on the intermediate block 2.
- Remove the shell 1 and shape the intermediate block 2 and socket 5 set back from the outline traced above.
The value of this gap must be equal to the thickness of the lamination applied in the next point - Use the normal lamination method.
- Use a pencil to mark on the lower face of the socket the position of the two connection plate screws 10.

- On the sides of the socket, drill 2 holes with at least Ø6, 11 mm from the lower edge of the socket, following the axes previously marked in pencil on the lower face. Use of these holes is reserved for assembling/dismantling the knee.
- Fitting the calf:
Designed to be fitted exclusively with the calf 1G21- Install the socket 5 and shell 1 on the knee.
- Secure the assembly using screws 3 and 7.
- Fit the tube.
- Thread the calf onto the prothesis, and press it against the shell.
- The front upper edge of the calf must be no more than 5 mm from the lower edge of the socket.
- Determine the excess length of calf.
- Remove the calf and cut a horizontal section equal in thickness to the excess length (the recommended cut area is hatched in the diagram).
- Glue the two parts back together, and shape the calf.
- Refit the calf on the prothesis, and then shape its upper part so that it is snug against the profile of the shell, and shape its lower part to connect it to the shape of the foot.

DETECTING MALFUNCTIONS
If you observe abnormal behavior or feel modifications in the device’s properties, or if it undergoes a heavy impact, please consult your orthopedic prosthetist.
WARNINGS, CONTRAINDICATIONS, SIDE EFFECTS
A. Warnings
To avoid degrading the knee, do not use talc to eliminate friction noise, but a silicone spray instead. Talc causes deterioration of the mechanical components, which can lead to a malfunction with a risk of the patient falling.
PROTEOR disclaims all liability if the knee is used with talc.
There is a risk of the knee joint trapping a finger or catching clothing. To prevent any risk of injury due to joint movement, make sure that no-one puts their fingers near or inside the mechanism.
The lockable 4-axis knee is not designed to be unlocked “under load”.
The knee can withstand bad weather, but needs to be dried after being soaked.
B. Contraindications
It is strictly prohibited to tighten or loosen any screw on this knee, with the exception of the setting screws which are intended for use by the orthopedic prosthetist.
Never grease the knee axes, as this could quickly degrade them.
The warranty excludes deterioration caused by misuse, unsuitable alignment, use in a very dusty environment and without suitable protection, or any inappropriate use.
Avoid exposing the knee to environments that could cause corrosion of the metal parts (soft water, seawater, chlorinated water, acids, etc.).
It is prohibited to shower or bathe with the prothesis, as this could degrade its resistance and performance.
Never use this device near a heat source: risk of burns.
Use of solvents is prohibited.
C. Side effects
There are no side effects directly linked to the device.
Any serious incident arising in relation to the device must be reported to the manufacturer and to the competent authority of the Member State.
CARE, STORAGE, DISPOSAL AND SERVICE LIFE
A. Care/ cleaning
You can clean the knee using a wet sponge
Do not immerse it or expose it to water
After a storm (rain) or inadvertent splashing, the knee must be dried.
The extension stop may require replacement, and can be ordered separately.
Replacing the settable stop 8:
Screw in screw 6 in order to fully withdraw the stop 8, which can then be removed. Fully unscrew screw 6, and then fit the new stop. Then set this stop, as set out in 6.C.

Replacing the shock absorption stop 9:
Use a small screwdriver 10 to extract the flexible stop 9, as set out below.
Clean any glue residue that might be on the stop housing 11. Coat the housing bottom with neoprene glue.
Insert the new stop 9 right into the bottom of its housing 11.

B. Storage
Usage and storage temperature: -10°C to +40°C
Relative air humidity: no restrictions
C. Disposal
The various components of this device are special waste: elastomer, titanium, aluminum and steel. They must be treated in accordance with the locally applicable legislation.
D. Service life
It is advisable to arrange for an orthopedic prosthetist to perform an annual check.
DESCRIPTION OF THE SYMBOLS
Manufacturer
Risk identified
CE marking and year of 1st declaration
REGULATORY INFORMATION
This product is a CE marked medical device, and certified compliant with Regulation (EU) 2017/745
NAME AND ADDRESS OF MANUFACTURER
PROTEOR SAS
6 rue de la Reroute – 21850 Saint-Apollinaire – France
Tel.: +33 3 80 78 42 42 – Fax: +33 3 80 78 42 15
[email protected] – www.proteor.com
1M10299
2021-04






















