DM 2610944292 05-12_DM 2610944292 05-12 5/9/12 9:45 AM
IMPORTANT:
Read Before Using
Operating/Safety Instructions
2500

![]()
Call Toll Free for
Consumer Information
& Service Locations
1-800-4-DREMEL (1-800-437-3635) www.dremel.com
Safety Rules for Portable Vise
Securely fasten vise to a stable platform or workbench. During operation unstable platforms or workbenches may shift or tip causing loss of control and injury.
Wear eye protection and dust mask. Use only in a well-ventilated area. Using personal safety devices and working in a safe environment reduces risk of injury.
Always make sure workpieces are free from nails and other foreign objects. Cutting into a nail will damage the bit and can cause the workpiece to jump, resulting in loss of control.
Before operation, secure the workpiece between the vise jaws. Clamping the workpiece allows you to use both hands to control the tool. Properly securing the workpiece will prevent it from becoming loose.
Use the “V” grooves molded into the jaws for supporting round stock such as tubes or rods when drilling. Round material such as dowel rods, pipes or tubing have a tendency to roll while being cut, and may cause the bit to “bite” or the workpiece to jump toward you.
Securely fasten tool in the tool holder before operating. If tool loosens during operation it will tend to work away from the tool holder and the tool may fall out while bit is still spinning.
Know how to shut off the tool! Position the tool so the switch is readily accessible to quickly shut off the tool in an emergency.
Route the cord away from the bit or the cutting area. Cutting into live electrical wires may result in a shock, burn, or electrocution.
Do not wear gloves, neckties, or loose clothing during operation of the tool. Tie back long hair or use a hair net. Clothing or hair can become caught in the spinning bit and injury may occur.
Match the appropriate bit and its speed to your application. Do not use bits that have a cutting diameter that exceed the capacity of the tool. Overloading the tool can lead to personal injury or tool failure.
Never use dull or damaged bits. Sharp bits must be handled with care. Damaged bits can snap during use. Dull bits require more force to push the workpiece, possibly causing the bit to break.
When using the tool holder adapter, you must set and lock the vise base prior to turning on the tool. Bring the workpiece to the tool and allow for sufficient space, at least 150mm (6″), between your hand and the spinning bit. Contact with the spinning bit will cause injury. The tool holder adapter was designed to be used in conjunction with the portable vise base for sanding, brushing, polishing, or grinding applications. Other applications may present hazards that cannot be adequately guarded.
If the side of any rotating accessory is used to perform the work, for example a sanding drum, the workpiece must be positioned on the side of the accessory that rotates against the feed direction of the workpiece. Placing the workpiece on the side of the accessory where the feed direction and accessory rotation are the same may cause the workpiece to be pulled by the rotating accessory and lead to loss of control during operation.
Never start the tool when the bit is engaged in the material. The bit cutting edge may grab the material causing loss of control of the workpiece.
Some dust created by power sanding, sawing, grinding, drilling, and other construction activities contains chemicals known to cause cancer, birth defects or other reproductive harm. Some examples of these chemicals are:
- Lead from lead-based paints,
- Crystalline silica from bricks and cement and other masonry products, and
- Arsenic and chromium from chemically treated lumber.
Your risk from these exposures varies, depending on how often you do this type of work. To reduce your exposure to these chemicals: work in a well ventilated area, and work with approved safety equipment, such as those dust masks that are specially designed to filter out microscopic particles.
After changing the bits or making any other adjustments, make sure the collet nut and any other adjustment devices are securely tightened. Loose adjustment of the tool can cause it to unexpectedly shift, causing loss of control, and loose rotating components will be violently thrown.
Never touch the bit during or immediately after use. Contact with the bit will cause injury and after use the bit is too hot to be touched by bare hands.
Do not leave a running tool unattended; turn power off prior to leaving. Only when the tool comes to a complete stop is it safe to remove the tool.
THINK SAFETY! Safety is a combination of operator COMMON SENSE and ALERTNESS at all times when the tool is being used.
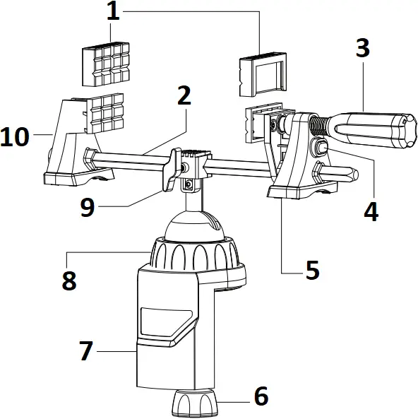
Getting to Know Your Vise
Dremel Multi-Vise™
FIG. 1

- SOFT JAWS
- SLIDE BAR
- CLAMPING SCREW HANDLE
- SLIDE RELEASE BUTTON
- CLAMPING VISE ASSEMBLY
- BASE THUMBSCREW
- SWIVEL BASE ASSEMBLY
- BASE NUT
- BAR CLAMP THUMBSCREW
- FIXED VISE ASSEMBLY
Accessories Included:
- Tool Holder Adapter
- Union Nut
- Wrench
Vise Assembly
Place the swivel base assembly on the work surface. The Dremel Multi-Vise™ can be used on work surfaces up to 2-1/2″ thick. Prior to tightening the base assembly to the work surface, make sure the entire surface of the base assembly is completely on the work surface. Secure the base assembly to the work surface by turning the base thumbscrew to the right (Fig. 2). Be careful not to over tighten the thumbscrew.
Overtightening the thumb screw may cause an unstable platform which may result in loss of control and injury.
Once the base assembly is secured, remove the rubber cap from the end of the slide bar.
FIG. 2

The cap was used to secure the vise during transportation and is not needed for operation.
After removing the rubber cap, place the fixed vise assembly & slide bar through the diamond-shaped hole in the top of the ball socket. After the slide bar is through the hole, place the Clamping Assembly on the open end of the slide bar and slide it over. The clamping assembly contains a locking-mechanism that prevent the assembly from sliding off of the rod unless the quick-release button is engaged. Finally, tighten the bar clamp thumbscrew to lock the slide bar in place. Be careful not to over tighten the thumbscrew. Your vise is now ready for use (Fig. 3).
FIG. 3

Vise Operation
SECURING THE WORKPIECE
Once the vise is assembled, place your workpiece between the vise jaws and slide the clamping assembly over until the jaws hold the workpiece. Un-tighten the bar clamp thumbscrew and slide the clamping bar until the workpiece is balanced equally above the base assembly. Re-tighten thumbscrew (Fig. 4).
Once the slide bar is locked in place, use the clamping screw handle to apply pressure to the workpiece and secure it. Be careful not to over tighten the jaws as this may damage the workpiece. Soft jaws are provided to secure delicate objects.
Off-balance operation may result in loss of control and injury.
ROTATING AND TILTING THE VISE
After the vise is secured to the work surface and the work piece is secured in the jaws of the vise, hold the fixed jaw assembly securely and turn the base nut counterclockwise until the vise assembly moves freely. Move the vise assembly to the desired position and turn the base nut clockwise, by hand, until the vise assembly is secure. The vise will rotate 360° and tilt to each side 50°. DO NOT USE WRENCH TO TIGHTEN.
FIG. 4

USE OF “V-GROOVES”
Both the soft jaws and regular jaws have “V-Grooves” molded into their faces that allow round and irregular objects to be held securely. To hold a round or irregularly shaped object securely, place the object in either the horizontal or vertical v-grooves (depending on which position you wish to hold your work). Slide the jaws together until the object is held in place. Turn the clamping screw handle to secure the object and apply pressure. Be careful not to over tighten.
Do not attempt to solder materials together using this vise. The clamped materials may cause the clamps to soften and lose mechanical clamping integrity.
REMOVING OBJECTS
FROM THE VISE JAWS
In order to remove objects which are clamped in the vise jaws, start by turning the clamping handle screw counterclockwise to reduce the pressure on the object. While holding the object with one hand, depress the quick release button below the clamping handle screw and slide the vise jaw away from the object.
Bar clamp Operation
The vise assembly of the Dremel Multi-Vise™ can also be used as a stand alone bar clamp. To remove the bar clamp from the base assembly, depress the quick release button and remove the jaw from the slide bar. Loosen the bar clamp thumbscrew and remove the slide bar from the base assembly. The vise can now be used as a bar clamp to either hold objects to a work surface or as a free-stand clamp (Fig. 5).
DOVETAIL FEATURE
The fixed jaw of the vise includes a dovetail feature on the fixed jaw assembly that allows you to use current Dremel attachments, such as the FlexLite™ and Magnifier Light, as well as future attachments that have dovetail adapters (Fig. 5).
FIG. 5

- DOVETAIL
Tool Holder Operation
TOOL HOLDER ATTACHMENT FOR USE WITH DREMEL ROTARY TOOL MODELS 100, 200, 275, 285, 300, 395, 398, 400, 800, 3000, 4000, 8100, 8200, 8220 & 4200.
The Dremel Multi-Vise™ includes a tool holder adapter that turns your vise into a stationary tool holder for sanding, polishing, grinding, and brushing.
- Remove clamping vise assembly and fixed vise assembly from swivel base.
- Insert the tool holder adapter into the stem of the base assembly. Tighten the bar clamp thumbscrew until the tool holder adapter is securely locked in the stem.
Be sure to position the output shaft of the rotary tool is on the opposite side of the thumbscrew (Fig. 6). Failure to position the tool in this manner could cause objects to be lodged between the thumbscrew and the rotary tool bit resulting in injury.
FIG. 6

- ROTARY TOOL
- TOOL HOLDER ADAPTER
- UNION NUT
Note: The accessories are held in the tool by a collet system. The accessory may be installed before or after the rotary tool is installed in the tool holder.
- With the tool unplugged and in the off position, remove the nose cap from your rotary tool to expose the threaded nose. Depress and hold the shaft lock button while rotating the collet nut and shaft. Continue to rotate the collet nut and shaft until the lock engages and holds the shaft.
- Use the wrench from your Dremel Rotary Tool and turn the collet nut counterclockwise to loosen it.
- Release the shaft lock button.
- Insert the accessory into the collet as deep as possible to ensure proper gripping of the accessory and to minimize run out. Do not insert the bit so far that the flutes touch the collet or collet nut to avoid chipping or cracking the bit.
- Re-engage the shaft lock button and tighten the collet nut; first by hand, then using the wrench until the bit is held securely.
- Place the threaded nose through the open ring of the adapter and place the union nut provided on the threaded nosepiece. Hand tighten the union nut until the nut is fully threaded on to the tool. Using the wrench provided, tighten the union nut until it is tight and the rotary tool is securely in place.
Dremel® limited Warranty
Your Dremel product is warranted against defective material or workmanship for a period of two years from date of purchase. In the event of a failure of a product to conform to this written warranty, please take the following action:
- DO NOT return your product to the place of purchase.
- Carefully package the product by itself, with no other items, and return it, freight prepaid, along with:
A. A copy of your dated proof of purchase (please keep a copy for yourself).
B. A written statement about the nature of the problem.
C. Your name, address and phone number to:
UNITED STATES
Robert Bosch Tool Corporation
Dremel Repairs 173 Lawrence
428 Dock #2 Walnut Ridge, AR
72476
OR
CANADA
Giles Tool Agency
47 Granger Av.
Canada M1K 3K9 1-416-287-3000
OUTSIDE CONTINENTAL UNITED STATES CONTINENTAL UNITED STATES
See your local distributor or write to:
Dremel Repairs 173 Lawrence 428 Dock #2 Walnut Ridge, AR 72476
We recommend that the package be insured against loss or in transit damage for which we cannot be responsible.
This warranty applies only to the original registered purchaser. DAMAGE TO THE PRODUCT RESULTING FROM TAMPERING, ACCIDENT, ABUSE, NEGLIGENCE, UNAUTHORIZED REPAIRS OR ALTERATIONS, UNAPPROVED ATTACHMENTS OR OTHER CAUSES UNRELATED TO PROBLEMS WITH MATERIAL OR WORKMANSHIP ARE NOT COVERED BY THIS WARRANTY.
No employee, agent, dealer or other person is authorized to give any warranties on behalf of Dremel. If Dremel inspection shows that the problem was caused by problems with material or workmanship within the limitations of the warranty, Dremel will repair or replace the product free of charge and return product prepaid. Repairs made necessary by normal wear or abuse, or repair for product outside the warranty period, if they can be made, will be charged at regular factory prices.
DREMEL MAKES NO OTHER WARRANTY OF ANY KIND WHATEVER, EXPRESSED OR IMPLIED, AND ALL IMPLIED WARRANTIES OF MERCHANTABILITY AND FITNESS FOR A PARTICULAR PURPOSE WHICH EXCEED THE ABOVE MENTIONED OBLIGATION ARE HEREBY DISCLAIMED BY DREMEL AND EXCLUDED FROM THIS LIMITED WARRANTY.
This warranty gives you specific legal rights and you may also have other rights which vary from state to state. The obligation of the warrantor is solely to repair or replace the product. The warrantor is not liable for any incidental or consequential damages due to any such alleged defect. Some states do not allow the exclusion or limitation of incidental or consequential damages, so the above limitations or exclusion may not apply to you.
For prices and warranty fulfillment in the continental United States, contact your local Dremel distributor.
Exportado por: © Robert Bosch Tool Corporation Mt. Prospect, IL 60056 -2230, E.U.A.
Importado a México por: Robert Bosch, S. de R.L. de C.V.
Calle Robert Bosch No. 405 – 50071 Toluca, Edo. de Méx. – México
Tel. 052 (722) 279 2300 ext 1160 / Fax. 052 (722) 216-6656

2610944292 03/2022


















