Mr Coffee Coffee Maker
Mr Coffee Coffee Maker
INTRODUCTION
Welcome and congratulations on the purchase of your new MR. COFFEE® Occasions™ Coffeemaker. Our number one goal is to give you the best-tasting cup of coffee or espresso every time, so if you have any questions about your new coffeemaker, please contact us at 1-888-800-9130 or visit us at www.mrcoffee.com.
IMPORTANT SAFEGUARDS
When using electrical appliances, basic safety precautions should always be followed to reduce the risk of fire, electric shock, and/or injury to persons including the following:
- Read all instructions.
- Do not touch hot surfaces. Use handles or knobs.
- To protect against electric shock, do not place or immerse cord, plugs, or appliance in water or other liquids.
- This appliance is not to be used by children or by persons with reduced physical, sensory or mental capabilities.
- Close supervision is necessary when any appliance is used near children. Children should not play with the appliance.
- Unplug appliance from outlet when not in use and before cleaning. Allow to cool before putting on or taking off parts, and before cleaning the appliance.
- Do not operate any appliance with a damaged cord or plug or after the appliance malfunctions, or has been damaged in any manner. Return appliance to an Authorized Service Center for examination, repair or adjustment. Do not attempt to replace or splice a damaged cord.
- The use of an accessory not recommended by the appliance manufacturer for use with this appliance may result in fire, electric shock or injury to persons.
- Do not use outdoors.
- Do not let cord hang over edge of table or counter, or touch hot surfaces.
- Do not place on or near a hot gas or electric burner, or in a heated oven.
- Always attach plug to appliance first, then plug cord into the wall outlet (for appliances with detachable cords). To disconnect, turn any control to the off position, then remove plug from wall outlet.
- Do not use appliance for other than intended use.
- All lids should be closed during use.
- Scalding may occur if the lid is removed during or immediately after the brewing cycles. Contents may be hot. Allow to cool before removing the lid.
- In order to avoid possible body burns and other injuries associated with steam and hot water, or damage to the unit, never remove the water tank or the portafilters while the Mr. Coffee® Occasions™ coffeemaker is brewing or frothing. For appliances with service panels:
WARNING: TO REDUCE THE RISK OF FIRE OR ELECTRIC SHOCK, DO NOT REMOVE THIS COVER. NO USER-SERVICEABLE PARTS INSIDE. REPAIR SHOULD BE DONE BY AUTHORIZED SERVICE PERSONNEL ONLY
SAVE THESE INSTRUCTIONS HOUSEHOLD USE ONLY
POLARIZED PLUG
This appliance has a polarized plug, (one blade is wider than the other). As a safety feature to reduce the risk of electrical shock, this plug is intended to fi t in a polarized outlet only one way. If the plug does not fi t fully in the outlet, reverse the plug. If it still does not fi t, contact a qualifi ed electrician. Do not attempt to defeat this safety feature or modify the plug in any way. If the plug fi ts loosely into the AC outlet or if the AC outlet feels warm do not use that outlet.
POWER CORD INSTRUCTIONS
A short power supply cord (or detachable power-supply cord) may be provided to reduce risks resulting from becoming entangled in or tripping over a longer cord. Longer detachable power-supply cords or extension cords are available and may be used if care is exercised in their use. If a long detachable power-supply cord or extension cord is used:
- The marked electrical rating of the detachable power-supply cord or extension cord should be at least as great as the electrical rating of the appliance;
- If the appliance is of the grounded type, the extension cord should be a grounding type 3-wire cord; and
- The longer cord should be arranged so that it will not drape over the counter top or table where it can be pulled on by children or tripped over unintentionally. Do not pull, twist or otherwise abuse the power cord
PRODUCT NOTICES
- Place the appliance on a hard, flat, level surface to avoid interruption of airflow underneath the coffeemaker.
- Do not operate the appliance with an empty water tank.
- Keep the area above the appliance clear during use, as hot steam will escape the appliance.
GET TO KNOW YOUR COFFEE MAKER
- Power Switch
- Display
- Knob
- Milk Frothing Wand
- Milk Frothing Wand Cover
- Height Adjustment Tray
- Drip Tray
- Drip Tray Cover
- Water Level Indicator
- Water Tank
- Water Tank Lid
- Water Tank Handle
- Tamper


- Clean Button
- Clean Indicator
- Brew Size Selector
- Display
- Ready Indicator
- Brew Now Button
- Brew Now Indicator
KNOB
- Steam milk
- Standby
- Brew coffee, espresso, single serve

ATTACHMENTS
- Coffee Pot
- Coffee Pot Lid
- Brew Basket
- Brew Basket Lid
- Espresso Portafilter
- Filter Retainer Clip
- 1-shot Filter
- 2-shot Filter
Single Serve Portafilter
COFFEE MAKER EXTRAS(not included with all models)
- Permanent Single Serve Filter
- Permanent Basket Filter
- Storage Tray

QUICK START GUIDE
WARNING: This Quick Start Guide is not intended to be a substitute for the rest of the user manual, and you should read and understand the warnings and instructions in the user manual before using this appliance.
Brief Guide to Brewing on the Mr. Coffee® Occasions™ Coffeemaker:
- Clean & prime the coffeemaker before brewing coffee for the fi rst time.
- Fill the water tank to the “MAX” marking with clean, fi ltered water.
- Turn the coffeemaker ON by using the power switch on the side.
NOTE: The ready indicator light will pulse while the coffeemaker heats up and will turn solid when the coffeemaker is ready to use. - Insert the desired attachment fi lled with coffee, espresso, or a K-Cup® Pod into the coffeemaker.
- Place the coffee pot or mug on the drip tray or height adjustment tray.
- Turn the knob to the “brew” position.
- Use the brew size selector to select the desired brew size.
- Press the “brew now” button.
- When the coffeemaker beeps and the brew now indicator light turns off, turn the knob to the “standby” position.
- Enjoy!
USER MANUAL
Getting Started
- Unpack your coffeemaker and remove plastic bags, cartons and any tape on the coffeemaker.
IMPORTANT: Remove the red plug from underneath the water tank. - Position the coffeemaker on a dry, stable, horizontal counter top.
IMPORTANT: KEEP PLASTIC BAGS AWAY FROM CHILDREN.
Clean & Prime Coffeemaker Before Use Just follow these simple steps:
- Wash all of the removable parts in warm water with mild liquid soap.
- Fill the water tank to the “MAX” marking with clean, fi ltered water.
- Turn the coffeemaker ON by using the power switch on the side.
NOTE: The ready indicator light will pulse while the coffeemaker heats up and will turn solid when the coffeemaker is ready to use. - Lock the brew basket lid onto the brew basket and slide it into the coffeemaker. Then, lock the coffee pot lid onto the coffee pot and place the coffee pot on the drip tray cover.
- Turn the knob to the “brew” position.
- “10 cup” will illuminate on the display.
- Press the clean button. NOTE: The ready indicator light will turn off and the clean indicator light will illuminate.
- When the coffeemaker beeps and the clean indicator light turns off, turn the knob to the “standby” position.
- Discard the water in the coffee pot. Your Mr. Coffee® Occasions™ coffeemaker is ready to use!
HOW TO MAKE YOUR FIRST POT OF COFFEE
- Fill the water tank to the “MAX” marking with clean, fi ltered water.
- Turn the coffeemaker ON by using the power switch on the side.
NOTE: The ready indicator light will pulse while the coffeemaker heats up and will turn solid when the coffeemaker is ready to use. - Remove the brew basket lid from the brew basket by twisting it to the right.
- Place a coffee fi lter into the brew basket and pour the desired amount of coffee into the fi lter.
- Lock the brew basket lid onto the brew basket by twisting it to the left.
- Slide the brew basket into the coffeemaker.
- Place the coffee pot on the drip tray cover.
- Turn knob to the “brew” position.
- Use the brew size selector to select the desired brew size.
- Press the brew now button.
NOTE: The ready indicator light will turn off and the brew now indicator light will illuminate.
NOTE: Some models have a blooming feature which pauses the brewing cycle for 30 seconds after all of the coffee grounds have been pre-soaked with water. This allows the coffee grounds to then release the richest coffee flavors during the remaining brew cycle. During this blooming phase, the pump will cycle on and off every few seconds, then return to full brewing mode after 30 seconds. - When the coffeemaker beeps and the brew now indicator light turns off, turn the knob to the “standby” position.
NOTE: After brewing a full pot of coffee, we recommend letting the coffeemaker cool down for 5 minutes before brewing a second pot of coffee. - Enjoy!
Suggested Coffee Measurement Chart:
| Cups of coffee | Ground Coffee |
| 10 cups | 10 tbs. (50 g.) |
| 8 cups | 8 tbs. (40 g.) |
| 6 cups | 6 tbs. (30g.) |
| 4 cups | 4 tbs. (20 g.) |
Bonus: For a BOLDER CUP, use heaped tablespoons
HOW TO MAKE YOUR FIRST SHOT(S) OF ESPRESSO
- Fill the water tank to the “MAX” marking with clean, filtered water.
- Turn the coffeemaker ON by using the power switch on the side.
NOTE: The ready indicator light will pulse while the coffeemaker heats up and will turn solid when the coffeemaker is ready to use. - Select the filter size: 1-shot filter or 2-shot filter. Make sure the bump on the filter is aligned with the notch on the espresso portafilter and place the filter into the espresso portafilter.
- Add espresso grounds into the filter
- Using the tamper, evenly tamp (press) espresso grounds. Then, wipe the edges to clear any excess grinds.
- If using a small cup, lower the height adjustment tray. If using a larger cup, leave the height adjustment tray in the upright position.
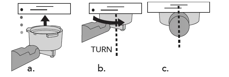
- Insert the espresso portafilter into the coffeemaker:
- Keep the espresso portafilter handle flat.
- Insert the espresso portafilter at a 45° angle (left).
- Turn the espresso portafilter handle to a 90° angle. The espresso portafilter should be in a centered position.

- Place the cup underneath the espresso portafilter.
- Turn the knob to the “brew” position.
- Use the brew size selector to select 1 shot or 2 shots.
- Press the brew now button.
- When the coffeemaker beeps and the brew now indicator light turns off, turn the knob to the “standby” position.
- Enjoy!
HOW TO MAKE YOUR FIRST SINGLE SERVE COFFEE
- Fill the water tank to the “MAX” marking with clean, filtered water.
- Turn the coffeemaker ON by using the power switch on the side.
NOTE: The ready indicator light will pulse while the coffeemaker heats up and will turn solid when the coffeemaker is ready to use. - Insert a K-Cup® Pod or permanent single serve filter inside the single serve portafilter and press it down firmly. Then, place the single serve portafilter lid over the K-CUP® Pod or permanent single serve filter and insert it into the coffeemaker.
NOTE: If using the permanent single serve filter, fill the basket with coffee up to the edge where the nylon mesh ends (about 10 grams of coffee). Do not over fill.
NOTE: The single serve portafilter lid does not lay flat when a K-Cup® Pod is inserted. - If using a small cup, lower the height adjustment tray. If using a larger cup, leave the height adjustment tray in the upright position.
- Insert the single serve portafilter into the coffeemaker:
- Keep the single serve portafilter handle flat.
- Insert the single serve portafilter at a 45° angle (left), ensuring the lid closes during insertion.
- Turn the single serve portafilter to a 90° angle. The single serve portafilter should be in a centered position.

- Place the cup underneath the single serve portafilter.
- Turn the knob to the “brew” position.
- Use the brew size selector to select the desired brew size.
- Press the brew now button.
- When the coffeemaker beeps and the brew now indicator light turns off, turn the knob to the “standby” position.
- Enjoy!
NOTE: After brewing, remove the single serve portafilter from the coffeemaker carefully and dump any remaining water into the sink before lifting the lid.
HOW TO STEAM MILK
- Fill the water tank to the “MAX” marking with clean, fi ltered water.
- Turn the coffeemaker ON by using the power switch on the side.
NOTE: The ready indicator light will pulse while the coffeemaker heats up and will turn solid when the coffeemaker is ready to use. - Fill a milk pitcher or cup about 1/3 to ½ full with cold milk.
NOTE: Any type of milk can be used – soy, rice, almond, coconut, etc. – but 2% fat dairy milk creates the best froth. - Insert the milk frothing wand tip just below the surface of the milk.
- Turn the knob to the “steam” position.
NOTE: The ready indicator light will pulse while the water is heating up. Once the coffeemaker reaches the correct temperature, the ready indicator light will turn solid. Some water and steam may come out of milk frothing wand while the coffeemaker heats up. - Steam your milk until it reaches the desired texture and temperature.
NOTE: Steaming milk makes a hissing noise. - When finished, turn the knob to the “standby” position. Then, remove the milk frothing wand from the milk pitcher or cup.
NOTE: After steaming milk, the knob must be turned to the “standby” position until the ready indicator light turns solid. If the knob is turned directly to the “brew” position after steaming milk, the coffeemaker will beep, the display will go blank and the coffeemaker will not brew coffee. To fi x the error, the knob will need to be turned to the “standby” position until the ready indicator light turns solid. - Remember to clean the milk frothing wand after every use. For instructions on how to do so, please refer to the cleaning section on page 12.
- Enjoy!
NOTE: When the knob is turned to the “standby” position after steaming milk, the coffeemaker will enter an automatic cool-down cycle that lasts approximately 35 seconds. During this cycle, the ready indicator light with pulse and water will be released into the drip tray though an internal channel. Steam may be emitted from the drip tray. When the ready indicator light turns solid, the coffeemaker has cooled down and is ready to use.
Helpful Tips for Steaming Milk:
- Insert the milk frothing wand tip just below the surface of the milk.
- Position the milk frothing wand and milk pitcher or cup at an angle that allows the milk to move in a whirlpool pattern.
- As the milk level rises, lower the milk pitcher or cup to keep the milk frothing wand tip just below the surface.
- When the desired texture is achieved, immerse the milk frothing wand half way.

ROUTINE CLEANING
Make sure your coffeemaker is unplugged and has cooled completely before cleaning. We recommend hand washing all removable parts to help preserve their appearance.
Pot of Coffee
- Remove the brew basket, brew basket lid, filter, coffee pot and coffee pot lid and wash them with warm water and mild liquid soap. Dry thoroughly.
Single Serve
- Remove the single serve portafilter from the coffeemaker carefully and dump any remaining water into the sink before lifting the lid. Then, discard the K-Cup® Pod into the trash bin
- Rinse the single serve portafilter with water, shake the water off and dry it on the outside.
WARNING: There is a sharp needle at the bottom of the single serve portafilter.
Espresso
- Remove the espresso portafilter from the coffeemaker. Then, release the filter retainer clip and press it over the filter. Hold it in place while you tap the espresso portafilter against the trash bin to discard the espresso grounds.
- Remove the filter from the espresso portafilter by twisting the filter until the bump on the filter is aligned with the notch on the espresso portafilter. Wash the filter and the espresso portafilter with warm water and mild liquid soap.
- Place the filter back into the espresso portafilter and insert the espresso portafilter back into the coffeemaker. Follow the same steps for brewing espresso, but with no espresso in the filter. Discard the water in the cup.
- Remove the espresso portafilter from the coffeemaker. Dry the filter and espresso portafilter thoroughly.
Milk Frothing Wand
- Remove the milk frothing wand cover and wash with warm water and mild liquid soap.
- With a damp cloth, wipe down the metal on the milk frothing wand.
- Fill the water tank and place a jug under the milk frothing wand.
- Turn the knob to the “steam” position and press the clean button. The clean indicator light will illuminate and the coffeemaker will enter a 2-minute clean cycle.
- When the clean indicator light turns off, turn the knob to the “standby” position. The coffeemaker will then enter an automatic cool-down cycle that lasts approximately 35 seconds
ROUTINE CLEANING CONT.
Deep Cleaning the Espresso Filters
Make sure to deep clean your espresso filters every 90 days for optimal brewing performance. Follow these disassembly instructions and rinse the pieces in a large bowl of warm water. Once rinsed thoroughly, wipe dry and reassemble
Emptying the Drip Tray
- When the water level indicator rises above the drip tray cover, carefully slide the drip tray out from the coffeemaker, remove the drip tray cover, and discard the water.
- Place the drip tray cover back on the drip tray and slide it into the coffeemaker.
DESCALING
After continued use, your coffeemaker may develop a build-up of mineral deposits, and therefore require occasional descaling. We recommend descaling your coffeemaker every 4-6 months, although this period will depend on the hardness of water and frequency of use.
IMPORTANT: If the descaling process is not completed or stopped part way through any of the descaling steps, you will need to start the descaling process again from the beginning.
Descaling: Coffeemaker
- In an empty water tank, add 1 1/2 tablespoons of white vinegar and 4 cups of water. Allow the solution to mix thoroughly.
- Place the water tank into position.
- Insert the brew basket into the coffeemaker without coffee in it.
- Place the coffee pot on the drip tray cover.
- Turn ON the coffeemaker.
- Turn the knob to the “brew” position.
- Press the clean button. During the descaling process the clean indicator light will be on.
NOTE: When the descaling process is complete, the clean indicator light will turn off and the ready indicator light will illuminate. - When the clean indicator light turns off, discard the water in the coffee pot.
- Repeat steps 1-8 using clean water without vinegar.
- Rinse the water tank, brew basket, brew basket lid, and coffee pot with warm water and mild liquid soap
TROUBLESHOOTING GUIDE
| Problem | Possible Causes | Solutions |
| Brew size options don’t show up on the display, even though the attachment is in the coffeemaker. | 1. Attachment is placed incorrectly in the coffeemaker or isn’t fully locked into place.
2. The knob was turned directly from the “steam” position to the “brew” position without being on the “standby” position until the ready indicator light turned solid. | 1. Reinsert the attachment into the coffeemaker until it locks in properly and is in a horizontal position.
2. Turn the knob to the “standby” position until the ready indicator light turns solid. |
| Single Serve: Coffeemaker leaks when brewing single serve pods. | 1. Too much force is applied to the lid of the single serve portafilter after the pod is inserted.
2. The single serve portafilter isn’t inserted properly. 3. Too much coffee was poured into the permanent single serve filter. | 1. Press the coffee pod down into the single serve portafilter. Then, place the lid over the coffee pod and place into the coffeemaker.
2. Remove the single serve portafilter from the coffeemaker. Then, reinsert it making sure it locks into place at a 90° angle. 3. Pour out excess coffee from the permanent single serve filter. |
| No steam is generated. | 1. The water tank is empty.
2. The coffeemaker is not turned on. 3. The milk frothing wand is blocked. | 1. Add water to the water tank, then turn the knob to the “standby” position and press the brew now button. When the ready indicator light turns solid, turn the knob back to the “steam” position and restart the steaming process.
2. Turn the coffeemaker ON and follow the operating instructions. 3a. Perform the milk frothing wand clean cycle. 3b.Turn off the coffeemaker, remove the milk frothing wand cover and use a needle or toothpick to unclog the nozzle opening. |
| Milk is not foamy after frothing. | 1. The milk is not cold enough.
2. The milk frothing wand is submerged too deep into the milk. | 1. Chill the milk prior to steaming.
2. Submerge the milk frothing wand just below the milk surface. |
| Espresso:
1. Coffee does not come out when brewing espresso. 2. Coffee comes out too quickly and/or is too weak. | 1a. The water tank is empty. 1b.Espresso grind is too fine. 1c. Espresso grinds were
tamped with too much pressure. 1d.Too much espresso in the filter. 1e. The filter is clogged and needs to be cleaned. 1f. The coffeemaker is not turned ON. 2a. Ground coffee is too coarse. 2b.Not enough coffee in the filter. | 1a. Add water to the water tank, then turn the knob to the “standby” position and press the brew now button. When the ready indicator light turns solid, turn the knob back to the “brew” position and restart the brewing process.
1b.Grind coffee to espresso ground level of fineness. 1c. Tamp (press) the espresso grounds with less pressure. 1d.Fill the filter with less coffee. 1e. Clean the filter. 1f. Turn the coffeemaker ON and follow the operating instructions. 2a. Use finer ground coffee. 2b.Add more coffee. |
TROUBLESHOOTING GUIDE CONT
| Problem | Possible Causes | Solutions |
| “0” flashes on the display. | The water tank is empty. | Add water to the water tank, then turn the knob to the “standby” position and press the brew now button. When the ready indicator light turns solid, the coffeemaker is ready to use. |
| The display
is blank when trying to brew coffee and the ready indicator light is flashing. | The knob was turned directly from the “steam” position to the “brew” position without being on the “standby” position until the ready indicator light turned solid. | Turn the knob to the “standby” position until the ready indicator light turns solid. Then, turn the knob to the “brew” position to restart the brewing process. |
| Steam is emitted from the drip tray and the pump operates intermittently. | The coffeemaker has overheated and entered the automatic cool-down cycle. | The coffeemaker will complete the automatic cool-down cycle. The ready indicator light will pulse during the cool- down cycle and will turn solid when the cycle is complete. |
| The drip tray fills with water on its own. | The coffeemaker has gone through a few automatic cool- down cycles. | When the water level indicator rises, pull out the drip tray and discard the water. |
| Coffeemaker does not brew for the first time even though it is turned on, there is water in the water tank and attachments are inserted properly. | The red plug has not been removed from underneath the water tank. | Remove the red plug from underneath the
water tank by pulling on the tag. |
| Brew size options don’t show up on the display even though the attachment is inserted properly. | The knob wasn’t fully turned to the “brew” position. | Turn the knob to the “brew” position. |
| Coffeemaker makes a buzzing sound when brewing. | The buzzing sound is normal and comes from the pump- based heating system used to achieve the best temperature control. | This is normal. |
RECIPE GUIDE
Lattes:
Iced Latte Using a large cup:
- Add 1 tablespoon of sugar
- Brew 2 shots of espresso into the cup
- Add 1 cup of ice
- Add ½ cup of milk
- Stir & enjoy!
Pumpkin Spice Latte
Using a large cup:
- Add 2 teaspoons of brown sugar
- Add a pinch of pumpkin pie spice
- Brew 1 shot of espresso into the cup
- Froth ½ cup of milk in a separate milk pitcher
- Pour milk into cup
- Stir & enjoy!
Honey-Vanilla Latte
Using a large cup:
- Add 2 to 3 teaspoons of honey
- Brew 1 shot of espresso into the cup
- Froth ½ cup of milk in a separate milk pitcher
- Pour milk into cup
- Add a drop of vanilla extract
- Stir until vanilla extract is completely blended
- Enjoy!
Toffee Latte
Using a large cup:
- Add 1 tablespoon of caramel syrup
- Add 1 to 2 teaspoons of toffee bits
- Brew 1 shot of espresso into the cup
- Froth ½ cup of milk in a separate milk pitcher
- Pour milk into cup
- Stir until toffee bits are dissolved
- Enjoy!
Cinnamon Sugar Latte
Using a large cup:
- Add 2 teaspoons of sugar
- Add a pinch of ground cinnamon
- Brew 1 shot of espresso into the cup
- Froth ½ cup of milk in a separate milk pitcher
- Pour milk into cup
- Stir & enjoy
Nutella Latte
Using a large cup:
- Add 1 tablespoon of Nutella (chocolate hazelnut spread)
- Brew 1 shot of espresso into the cup
- Froth ½ cup of milk in a separate milk jug
- Pour milk into cup
- Stir until it is completely blended
- Enjoy!
CAPPUCCINOS:
Café Mocha
Using a large cup:
- Add 2 tablespoons of chocolate syrup
- Add ½ teaspoon of sugar
- Brew 1 shot of espresso into the cup
- Froth ½ cup of milk in a separate milk pitcher
- Pour milk into cup
- Stir
- Top with additional foam (optional)
- Enjoy!
Sweet Cappuccino
Using a large cup:
- Add ½ teaspoon of sugar
- Brew 1 shot of espresso into the cup
- Froth ½ cup of milk in a separate milk pitcher
- Pour milk into cup
- Stir
- Top with additional foam (optional)
- Enjoy!
Raspberry Cappuccino
Using a large cup:
- Add 1 tablespoon of raspberry syrup
- Brew 1 shot of espresso into the cup
- Froth ½ cup of milk in a separate milk pitcher
- Pour milk into cup
- Stir
- Top with additional foam (optional)
- Enjoy!
Caramel Cappuccino
Using a large cup:
- Add 1 tablespoon of caramel syrup
- Add ¼ teaspoon of sugar
- Brew 1 shot of espresso into the cup
- Froth 1/4 cup of milk in a separate milk pitcher
- Pour milk into the cup
- Stir
- Top with additional foam (optional)
- Enjoy!
Coconut Cappuccino
Using a large cup:
- Add 2 teaspoons of coconut cream (not coconut milk)
- Brew 1 shot of espresso into the cup
- Froth ½ cup of milk in a separate milk pitcher
- Pour milk into cup
- Stir
- Top with additional foam (optional)
- Enjoy!
Café Conquistador (21+)
Using a large cup:
- Add 1 oz. (2 tablespoons) of Kahlua (coffee liqueur)
- Brew 1 shot of espresso into the cup
- Froth ½ cup of milk in a separate milk pitcher
- Pour milk into cup
- Stir
- Top with additional foam (optional)
- Enjoy!
Cappuccino Royale (21+)
Using a large cup:
- Add 1 oz. (2 tablespoons) of Frangelico (hazelnut liqueur) or Amaretto (almond liqueur)
- Brew 1 shot of espresso into the cup
- Froth ½ cup of milk in a separate milk pitcher
- Pour milk into cup
- Stir
- Top with additional foam (optional)
- Enjoy!
Espresso:
Café Cubano
Using a small cup:
- Add 1 tablespoon of sugar
- Brew 1 shot of espresso into the cup
Stir & enjoy!
Café Shakerato
- Fill a cocktail shaker half full with ice cubes
- Brew 2 shots of espresso in a cup and pour into the shaker
- Add 1 tablespoon of vanilla syrup
- Shake until foamy (about 30 seconds)
- Strain into a martini glass
- Enjoy!
Espresso con Panna
Using a small cup:
- Add ½ teaspoon of sugar
- Brew 1 shot of espresso into the cup
- Stir to dissolve sugar
- Fill cup with sweetened whipped cream
- Enjoy!
Café Bombon
Using a small cup:
- Add 1½ to 2 tablespoons of sweetened condensed milk
- Brew 1 shot of espresso into the cup
- Serve with a spoon to stir just before drinking
- Enjoy!
Mud Pie Milkshake
Using a large cup:
- Brew 2 shots of espresso and refrigerate until chilled
- In a blender add:
- 2 cups (about 4 scoops) of cookies ‘n cream ice cream,
- ¼ cup of milk,
- 2 shots of cold brewed espresso
- Cover and process until blended
- Enjoy!
Affogato al Café
- Brew 1 shot of espresso
- Add ½ cup (about 1 scoop) of vanilla ice cream in a dessert dish
- Pour hot espresso over ice cream
- Serve immediately with a spoon
Enjoy!
Espresso Martini (21+)
Using a large cup:
- Brew 2 shots of espresso
- Fill a cocktail shaker half full with ice
- Pour espresso into shaker
- Add to cocktail shaker:
- 1½ oz. (3 tablespoons) vodka,
- 1½ oz. (3 tablespoons) Kahlua (coffee liqueur),
- ¼ teaspoon of sugar
- Shake until foamy (about 30 seconds)
- Strain into a martini glass
- Enjoy!
USER MAINTENANCE
This appliance has no user serviceable parts. Any servicing beyond that described in the Cleaning and Descaling Section should be performed by an Authorized Service Representative only.
SERVICE MAINTENANCE AND WARRANTY
Service Maintenance and Warranty can be found online at www.mrcoffee.com or call us toll-free at the Consumer Service Department, 1-800-MR COFFEE (1-800-672-6333).
Frequently Asked Questions
Press the power button.
Press and hold the power button for 2 seconds.
It means that the coffee maker is heating up.
It means that the coffee maker is finished heating up.
Press and hold the power button for 2 seconds to set a time. The red light will flash while setting time, and then stay on once time is set. The time will be displayed in hours and minutes. You can change the time by repeating this process again.
Press and hold the power button for 2 seconds to set brew strength. The red light will flash while setting brew strength, and then stay on once brew strength is set. You can change brew strength by repeating this process again.
Press and hold the power button for 2 seconds to turn off auto-brew. The red light will flash while turning off auto-brew, and then stay on once auto-brew is turned off. To turn auto-brew back on, repeat this process again.
The primary cause for this type of problem is any type of blockage or water clog. The first thing to do is check the tube within the coffee pot. If there are obstructions here, or if the tube is clogged, water or any other liquid will not be able to pass through.
Step 1: Unplug your Wemo Coffeemaker. Step 2: Press and hold the RESTORE button. Step 3: While pressing the RESTORE button, plug the unit back in. Step 4: After 10 seconds, release the RESTORE button.
Mr. Coffee Coffee Maker – 9 tablespoons (10g/each) per 12 cups (60 fl. oz)
Fortunately, many repairs to coffee makers are simple to perform and require only basic tools. So, before you toss that coffee maker or defect to a coffee shop, consider how coffee makers work and what to do when they don’t.
Vinegar can damage the internal parts of the coffee machine, especially the seals and the rubber gaskets. In addition, it is very difficult to rinse, and its smell and taste will remain for a long time in the espresso machine.





COFFEE MAKER EXTRAS(not included with all models)

















