
NL2399 LED RGB Rangha Lamp
User Manual
Thank you for purchasing our products. in order to use this product safely, please read the instruction manual carefully before use. Please keep this instruction manual for future reference
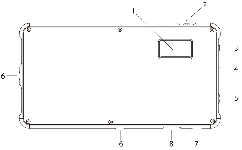
PRODUCT DESCRIPTION

- OLED Display
- Power Switch
- Mode Button
- Select/Adjustment Knob
- Brightness Knob
- ¼ threaded mounting lug
- US8-C Charging Port
- US8 Output Port
OLEO DISPLAY

- Battery Capacity
- Mode Selected (CCT/HSI/Effect)
- Color Temperature Display (CCT)
- Brightness Display (CCT
- Color Hue (HSI)
- Color Saturation (HSI)
- Scenario Effect Group (Effect)
- Effect Name (Effect)
TURNING POWER ON/OFF
Slide Power knob to power on /off the LED.
FEATURES
The is a compact and powerful light source for still and video and photography.
It uses the latest in flicker-free LED technology, making it more efficient and durable. The Light features
- Long-life, Low-heat LEDs
- Long-life built-In battery
- Adjustable brightness and color temperature
- Full 360° adjustment of hue and saturation
- 21 preset scenario effects
- Use as a power bank to charge other devices
LAMP MODES
Press Mode button to change mode between CCT/HS/EFFECT.
CCT MODE

- Turn Brightness knob to set the desired brightness level from 1%-100%.
- Turn Set/Adjustment Knob to set the desired color temperature from 2500K t0 9900K.
HSI MODE

- Press Select/Adjustment Knob to select between H (Hue) and S (Saturation)
- Turn Select/Adjustment Knob to set the desired Color Hue from 0-360°
- Turn Select/Adjustment Knob to set the desired Color Saturation from 0-100.
- Turn Brightness knob to set the desired brightness level from 1%-100%.
EFFECT MODE

- Press Select/Adjustment Knob to select Scenario Effect Group from A-G.
- Turn Select/Adjustment Knob to set the desired Scenario Effect. Each group has 3 different effects and will display the effect name on OLED.
- Turn Brightness knob to set the desired brightness level from 19%-100%
SCENARIO EFFECT LIST
Group A: Flash / Flash Fast/TV screen
Group B: Candle / Flame 1/ Flame 2
Group C: Police / Ambulance / Fire truck
Group D: Strobe Lights 1/ Strobe Lights 2 / Strobe Lights 3
Group E: Chase slow/ Chase mid / Chase fast
Group F: Fie work1/ Fire work 2/ Fire work 3
Group G: Club 1/ Club 2/ Romantic
COLD SHOE ADAPTER INSTALLATION
- Align the Cold Shoe Adapter with the threaded lug on
- Turn the lock screw clockwise to attach the Adapter to the Light.
MOUNTING ON A CAMERA/COLD SHOE /LIGHT STAND
- Turn off the LED Light
- Slide the Cold Shoe adapter into a camera hot shoe or cold shoe mount.
- Turn the locking ring clockwise to secure the adapter
CHARGING
Charging from SV USB-C input.
- Attach the appropriate cable to the Light
- Attach the cable to a power source
- The OLED display will display flashing battery icon while being charged
- Charging time varies depending on power source
Charging External Devices
The has a 5V USB Output port. This can be used to charge other portable devices such as smart phones, headphones, etc
- Attach the USB cable to the, The connected device will start to charge
- The does not need to be powered on to charge external devices.
WHAT’S INCLUDED:
- Product.
- US8-C recharge cable.
- Cold shoe adaptor.
- Printed user manual
SPECIFICATION:
| Color temperature | 2500K- 9900K |
| Color model | 0-360° full color control (HSI) |
| Brightness range | 1%-100% |
| Max. brightness/illuminance | 1200 Lux @ 0.5 m (5600K) |
| Max. Power | 12W |
| Color rendering index | 96+ |
| Battery Capacity: | 37V 4000 mAh |
| Charging/Input power | 5V 2A USB-C |
| External Output power | 5V 2A US8 |
| Dimension | 151 Χ 80 Χ 11.5 mm |
| Weight | 200g |
SAFETY INSTRUCTIONS
- The lamp is a precision device. Do not drop, hit, crush or expose to any shock
- The unit is not dustproof or waterproof. Store in a dry, cool and ventilated place. Do not expose to water or other sources of moisture
- Do not use near flammable materials and solvents
- Do not use the lamp too close to objects. Do not cover the ventilation holes.
- Do not insert metal parts into the lamp. Do not touch the electrical parts with conductive materials.
- The lamp can operate in a temperature range of 0 ºC -40 ºC
- The lamp will heat up slightly, but it is normal
- Do not stare directly at the LED panel that is turned on, it may cause eye damage
- Do not use the LED outside in direct sunlight for a long time.
- Disconnect the power supply for storage or transportation. Do not lift the camera while holding the lamp handle.
- Allow the unit to cool down before placing it in the package.
- For use by adults.
- If you notice smoke or a strange smell coming from the device, immediately disconnect the power. Do not disassemble. Disassembling the unit will void the warranty, If there are problems with the lamp, bring it to an authorized service center
Notes on temperature warning
- Product is used in an environment with a high ambient temperature, or if the product is used continuously for a long period of time, This will automatically turn of the product until it cools down.
- Product is used in an environment with a low ambient temperature. In such environments. the product may not operate properly
Maintenance
Use a dry and soft cloth to clean the unit. Do not clean with water. A little neutral detergent on the cloth to remove stubborn dirt.
Do not use strong detergents such as thinner, benzine or alcohol as they may damage the protective coatings.
The manufacturer reserves the right to change the information contained In this manual without prior notice.
WASTE MANAGEMENT
The crossed-out trashcan symbol means that waste electrical and electronic equipment, batteries and packaging’s must not be placed with other household waste. They must be handed over to a separate waste collection system.
WARRANTY
Newell products are covered by a 40-month manufacturer’s warranty.
Made in China




















