SUNSKY F11S Smart Fingerprint Password Lock Office Apartment Graffitu Bluetooth APP

Important Notes
- Do not use a power drill for installation
- Install and test the lock with the door open to avoid being locked out
- Please read all the instructions before returning the product to the store
- DO NOT install the batteries before installing the lock !Follow the instructions in sequential order
- If you have previously installed this lock on another door.you must performa Factory Default Reset FIRST ! See the User Guide for more information.
- This lock is designed for the following operating temperatures :Outside Lock Body(exterior mounted): -31 °F( -35 °C) to 158°F(?0°C)Inside Lock Body(interior mounted): 14°F(-10°C) to 131 °F(55°C)
INTRODUCTION
Specifications

- Communication mode Bluetooth 4.0ble
- Unlocking way Bluetooth, Code, Mechanical key
- Support System Android 4.3 / IOS 7.0 above
- Unlock time H 1.5 sec
- Power supply 4pcs AA batteries
- Static current d30uA
- Working current d200mA
Dimensions

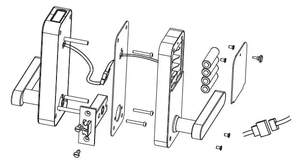
Preparing Door
if you are installing F11Son the door with an existing lock, please remove the current lock and latch

Installing Latch and Strike
- lnstall latch on the door.Make sure the latch angle faces door jamb.
- lnstall the strike on the door frame, ensuring you allow for the bolt to be centered in the strike.

Installing Interior Mounting Plate
- lnstall interior mounting plate
- Secure it to the exterior assembly using screws

Plug in the Spindle
Installing Interior Assembly
- Attach the cable to the connector on interior assembly by lining up notches on the cable connector to slots on that connector. press the connector in firmly using thumbs until completely seated.
- Secure interior assembly using screws.

Installing Batteries
- Insert 4 AA alkaline batteries
- lnstall battery cover

Installing Handles
- press lever handles onto handle posts
- Test the mechanical operation of the lock by rotating hadle from inside. The movement of the bolt should be smooth and unobstructed. If the operation is not smooth,review the previous steps to ensure proper installation.

Your smartphone is now a smart key-and more,lock and unlock your door, create virtual keys for guests, and know who comes and goes, all from your iOS or Android smartphone
IMPORTANT NOTICE
There is a protective film on the surface of the touch panel that can be taken off and you can keep it without affecting the use After installation but you can-I connect the lock to the smartphone,there is only one reason:the lock is connected to another smartphone. After opening the package and before installing the lock on door cl> install the batteries and connect the wire to make the lock electric on use needle or other sharp head thing to press the reset button hole 4 seconds beep sound and another short 2 beeps 1 O seconds later the lock return to factory mode
Account register
Click “Register”¢ There are 2 register methods:Mobile & Email,please choose one of them
Lock Initialization
After opening the package andbefore installing the lock on door¢ install the batteries and connect the wire to make the lock electricon ¢ use needle or other sharp head thing to press the reset buttonhole 4 seconds ¢1 beep soundand another short 2 beeps ¢ 10 seconds later the lock return to factory mode

App Manual
Please read the manual carefully before installation and keep this manual at a secure place. Please refer to sales agents and professionals for information not included in this manual.
Introduction
The App is a smart lock management software developed. It includes door locks, parkinglocks, safe locks, bicycle locks, and more. The App communicates with the lock via Bluetooth BLE, and can unlock, lock, firmware upgrade, read operation records, etc. The Bluetooth key can also open the door lock through the watch. The app supports Chinese, Traditional Chinese, English, Spanish, Portuguese, Russian, French, and Malay.
Register an APP account
APP XML: If you do not have an APP account, you can choose to register or log in via SMS verification code. Click “Create New Account” to enter the account registration page. Follow the prompts to obtain the SMS verification code and set the password. If you already have an account, you can click “Log in with an existing account” to log in to the APP. The login method supports password, verification code, and social account login.\

APP interface
The picture below is the main interface of the APP with various smart home devices configured. In the main interface of the APP-My Home tab, you can select home, add devices, view the current home weather conditions, start scenes, and control smart devices Click the smart device under “All Devices”, which is the operation panel of the smart device, covering all the functions supported in the APP of the device.
Add product via Bluetooth
- Click the “+” icon in the upper right corner of the app homepage
- Manually add method:
- Click on the “Security Sensing” category on the left
- Find the door lock (Bluetooth)
- Click the# key on the door lock to start the Bluetooth network configuration
- In the third interface, wait for the device to connect
- Automatic search method:
- Select the search device page
- Click the# key on the door lock, the door lock device will be automatically searched in the APP.
- Click the link and wait for the device to bind.

Bluetooth unlock
APP long press the unlock icon to automatically unlock.

Dynamic password
The dynamic password is valid within 5 minutes, the local time of the lock must be kept accurate, and it does not need to be connected to the Internet.

Add User
Add according to the APP interface instructions.

Set various password combinations
Various passwords can be set as needed

Gateway and accessories

FCC Warning
This device complies with part 15 of the FCC rules. Operation is subject to the following two conditions: (1) this device may not cause harmful interference, and (2) this device must accept any interference received, including interference that may cause undesired operation. Changes or modifications not expressly approved by the party responsible for compliance could void the user’s authority to operate the equipment.
NOTE: This equipment has been tested and found to comply with the limits for a Class B digital device, pursuant to part 15 of the FCC Rules. These limits are designed to provide reasonable protection against harmful interference in a residential installation. This equipment generates uses and can radiate radio frequency energy and, if not installed and used in accordance with the instructions, may cause harmful interference to radio communications. However, there is no guarantee that interference will not occur in a particular installation. If this equipment does cause harmful interference to radio or television reception, which can be determined by turning the equipment off and on, the user is encouraged to try to correct the interference by one or more of the following measures:
- Reorient or relocate the receiving antenna.
- Increase the separation between the equipment and receiver.
- Connect the equipment into an outlet on a circuit different from that to which the receiver is connected.
- Consult the dealer or an experienced radio/TV technician for help.
Radiation Exposure Statement
This equipment complies with FCC radiation exposure limits set forth for an uncontrolled environment. This equipment should be installed and operated with minimum distance 20cm between the radiator and your body.
Register an APP account
















