

Preschool Learning System Essential for Toddlers
User Manual Download a digital copy of the User Manual at: https://animalisland.us/user-manualanimalisland.us
Support: [email protected] (424) 465-1510 VERSION 3.1
Feature Overview
- DMAI’s cognitive A.I. algorithms are designed to deliver the right content at the right time, allowing any child to learn by visual, auditory, and active engagement.
- No Ads. No Junk. No Curation Needed.
- A robust and fun early preschool curriculum with our original series, Animal Island Learning Adventure (AILA).
- FREE content upgrades, no subscription required. * An intuitive parent mobile app that connects parents to their child’s learning and allows parents to check on their little one.
- Three (3) Modes of Learning: Broadcast for exposure, Learning Sessions for personalized content, and Lullaby for quiet time.
Three (3) Modes of Learning and Curriculum
Broadcast Mode
The default mode of your AILA Sit & Play. Broadcast mode plays learning content continuously, supporting a spiraled learning approach, by providing iterative exposure of key preschool concepts, following the scope and sequence of the early preschool curriculum.
Learning Session Mode
When your child is ready to learn, start a Learning Session with the AILA For Parents mobile app. The session will begin once the current video finishes. This mode is at the heart of your child’s personalized learning experience. Learning Sessions are stand-alone instructional units running approximately 15 minutes, designed to help build a child’s ability to pay attention. During learning sessions, AILA assesses your toddler’s level of engagement, determined by physical, emotional, and auditory reactions, and uses that input to customize future sessions, delivering the right content at the right time.
Lullaby Mode
In this mode, curated content is provided for quiet time.
Key Concepts
Each day (each session) is focused on a key concept such as letters, numbers, colors, or shapes, and each week is built around a theme. Each concept is introduced through a song and reinforced with videos highlighting different characters and showcasing interactive play. Daily stories expand the learning of key concepts, social-emotional learning (SEL), and/or the theme of the week. Each video is developed with an eye towards cultivating STEAM and the 4 Cs of the 21st Century skills in a toddler-friendly format.
AILA provides toddlers with repeated exposure to key concepts and skills, which is not only important in terms of mastering the skills, but AILA also takes the child’s preferences and learning styles into consideration through its unique algorithm.
Curriculum
The AILA Sit & Play curriculum focuses on supporting literacy, numeracy, and vocabulary skills. Integrated with this core curriculum, the interactions with the onscreen characters also support “soft skills” such as social-emotional skills, problem-solving skills, communication, collaboration, creativity, and critical thinking.
Literacy Skills
Letter Awareness: All twenty-six letters of the alphabet with their corresponding sounds, syllables, and rhymes leading to elementary phonics patterns and sight words.
Narrative Awareness: With immersive storybooks, toddlers gain an understanding of narrative as both fun and instructional, essential for preschool readiness.
Print Awareness: Understanding that print is read from left to right and top to bottom and knowing that words consist of letters and that spaces appear between words.
Numeracy Skills
Number Awareness: Recognizing and counting the numbers 1-10, and applying to size and quantity.
Concept Awareness: Under-standing of size, shape, and
quantity as a foundation for problem-solving skills.
Vocabulary
Awareness: Key vocabulary words utilizing initial letter sounds to help toddlers to-wards their goal of learning 1000 unique words by age three.
Soft Skills
STEAM: Colors, Shapes, Observation, and Exploration Social-Emotional Skills: Friend-ship Skills, Managing Emotions, Problem-Solving, and Skills for Learning.
4C’s: Collaboration, Critical Thinking, Communication, and Creativity.
Additional Features
Songs: Sing-along songs, along with original songs that reinforce letters, numbers, shapes, and colors.
Lullabies: For winding down the day or for quiet times.
AILA Setup
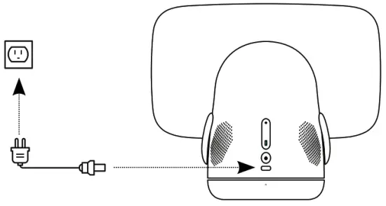
Step 1: Charging the Device
Only use the included 5V/2A power adapter and charging cable. It will take 2 to 3 hours to fully charge the device. Once fully charged, the device has up to 4 hours of battery life. (Please only charge using a wall power outlet.)
Note: If the device is completely drained, we recommend charging the device overnight. 
Step 2: Powering on the Device
Hold the Power Button for 3 seconds to power on the device. To power off, hold the Power Button for 3 seconds.
Step 3: Connect the AILA Sit & Play to Wi-Fi
Connect your AILA Sit & Play to your home Wi-Fi for important updates, new content, and to pair with the AILA For Parents mobile app. Once connected to your Wi-Fi, AILA Sit & Play will automatically connect the next time it is used. AILA Sit & Play comes preloaded with the virtual preschool learning system. The initial content can be played offline in the default broadcast mode, but a Wi-Fi connection is required to start a Learning Session or to download new content.
Step 4: Review Data and Privacy Policy
After clicking the link to our Data & Privacy policy, press the next arrow to continue onto the next screen for your review. The Data & Privacy Policy can also be found on our website (www.animalisland.us).
Step 5: Play Content in Broadcast Mode
After continuing to review each screen and pressing the next arrow, your device will begin playing content in the default Broadcast mode. Broadcast mode plays learning content continuously, supporting a spiraled learning approach, by providing iterative exposure of key preschool concepts, following the scope and sequence of the early preschool curriculum.
Step 1: Download the AILA For Parents Mobile App
Download the AILA For Parents mobile app onto your smartphone. Available via the Apple App Store or Google Play Store.


Step 2: Pair the AILA Sit & Play with the AILA For Parents Mobile App
To pair the AILA For Parents mobile app with your AILA Sit & Play, both devices need to be connected to Wi-Fi.
OR Code and Device Serial Number can be found in settings. Home Button —■ AILA Control Icon —, Settings —’ About Device.
Using the AILA For Parents Mobile App
Main Features:
- Control 3 Modes of Learning: Broadcast for exposure, Learning Sessions for personalized content, and Lullaby for quiet time.
- Check-In on your little one while AILA Sit & Play is in use.
- Send Media from your smartphone directly to the AILA Sit & Play (Mister Goose delivers your pictures/videos as “mail” to your little one).
- Review and rate your toddler’s learning session. * View Past Learning Sessions. * Monitor screen time and device settings.

Start a Learning Session
While the default mode is broadcast when your toddler is ready to learn, start a learning session with the AILA For Parents mobile app. The learning session will start once the current video finishes. During learning sessions, our cognitive Al personalizes future sessions based on your child’s level of engagement as determined by physical, emotional, and auditory reactions.
Each session, a stand-alone instructional unit designed to run approximately 15 minutes, the recommended amount of time for toddlers per day, follows our scope and sequence while our cognitive Al algorithm personalizes subsequent learning sessions.
You may stop a Learning Session by pressing the red square to return to the default Broadcast mode. If a Learning Session is stopped, the session is not recorded and a Learning Session Completed summary is not provided. To pause a Learning Session, simply press the On/Off button once on the device. To resume, press the On/Off button again.
Start a Learning Session
Parents can easily switch to Lullaby mode from the default Broadcast mode.
Lullaby Mode:
Content is curated for quiet time. 
Check-In
There is a built-in camera on the AILA Sit & Play, which acts as a fun monitor while your toddler is using AILA Sit & Play. Check-in on your little one anytime, anywhere on your mobile device while using the AILA For Parents mobile app.
To activate the Check-In feature, tap the “Check-In” icon to turn on the camera on AILA Sit & Play and enjoy seeing and hearing your little one. The Check-In feature is unavailable when AILA Sit & Play is not in use.
Send Media
Sending media to your toddler is a feature in the AILA For Parents mobile app, allowing parents to send pictures and videos directly to the AILA Sit & Play to further enhance the learning experience for their toddler. Mister Goose delivers your pictures and videos as mail to your child.
Select a photo or video by pressing “Gallery” on the Send Media screen, which will allow parents to choose from the album on your mobile phone to send to the AILA Sit & Play for the toddler to receive.
Choose “Camera” on the Send Media screen to use your mobile phone’s camera to snap a photo to be sent to the AILA Sit & Play for the toddler to receive.
Review and Rate the Learning Session
Once a Learning Session is completed, you will receive a push notification on your mobile phone. Click on the notification to open the AILA For Parents mobile app and view the Learning Session Completed screen where you will receive a summary of the content and curriculum delivered during each Learning Session. Each message summarizes the scope and sequence of the session curriculum—ABCs, 123s, Colors, Shapes, Vocabulary, Storybooks, Songs, Soft Skills, and more. You will also be able to Rate the Session. Based on this feedback, content for the next sessions is curated accordingly.
Note: Please ensure your mobile device has notifications enabled for the AILA For Parents mobile app in order to receive the notification to rate the session.
After rating the session, the mobile app will return to the home screen while the device continues playing content in the default Broadcast mode. You can choose to start a new Learning Session.
View Past Learning Sessions
Navigate to the menu and press on “Past Learning Sessions” to see your toddler’s past learning sessions.
Remote Power Off
Navigate to the menu and press “Turn Sit & Play Off” and confirm to power off the device remotely.
AILA Control
On the home screen, tap the AILA Control app icon
for the Device Control and Settings.
From AILA Control, parents and caregivers can perform the following functions:
- Start a Learning Session
- Turn on Lullaby Mode
- Review Learning Sessions
AILA Sit & Play does need to be connected to Wi-Fi to use Device Control.
Settings
Tap on the Settings icon
fo3 to access the following settings with:
- Wi-Fi
- Display Change brightness, adjust sleep and shutdown settings
- Date & Time
- About Device
Access QR Code for pairing with mobile app (AILA For Parents) Check for app and firmware updates Factory reset
Tips and Tricks
- Pausing the Session Simply press the Power Button once. To resume, press the Power Button again. The session will resume from where it was paused.

- Home Button Press Home Button to go to the Home Screen and AILA Control.

- Wi-Fi Settings On the Home Screen, tap the AILA Control icon and then the Settings icon.

- QR Code To locate the OR Code to pair with the AILA For Parents mobile app, press the Home Button followed by the AILA Control icon and then the Settings icon.
Home Button —0 AILA Control Icon —0 Settings —0 About Device —0 QR Code.
- Volume Control Adjust the volume with the volume control button on the back of the device.

Important Safety Information
Read all the important safety information and the following warnings before setup or use of the AILA Sit & Play. Failing to do so may cause injury. Throughout these instructions, you will see the symbol
followed by WARNING, CAUTION, or NOTICE. These terms have different levels of meaning as outlined below. Please read and understand these terms and the information that appears after them before using your AILA Sit & Play.
WARNING: Warns you about incorrect use of the device that could result in serious personal injury.
CAUTION: Cautions you about incorrect use of the device that could result in personal injury or damage to the device or accessories.
NOTICE: Informs you about incorrect use of the device that could result in damage to the device or accessories.
The AILA Sit & Play and the included accessories are not toys. Adult supervision is required. Adults should routinely check the device. If there is any damage or broken parts, remove the device from use.
WARNING: To avoid electric shock when you use this device:
- Please disconnect the power adapter during a lightning storm. There may be a risk of electric shock from lightning.
- To minimize the risk of damage to the device, only use the included USB Type C cable.
- Do not use the power supply if it has damaged, split, or broken cords or wires.
- Make sure that the power adapter is fully inserted into the wall outlet.
WARNING: The AILA Sit & Play contain a rechargeable lithium-ion battery. Leakage of ingredients contained within the battery, or the combustion of the ingredients, can cause personal injury as well as damage to your device. If battery leakage occurs, avoid contact with skin. If contact occurs, immediately wash thoroughly with soap and water. If liquid leaking from a battery comes into contact with your eyes, immediately flush thoroughly with water and see a doctor. To avoid battery leakage: - Do not expose the battery to excessive physical shock, vibration or liquids.
- Do not disassemble, attempt to repair or deform the battery.
- Do not dispose of battery in a fire.
WARNING: The AILA Sit & Play can emit radio waves that can affect the operation of nearby electronics, including cardiac pacemakers. - Do not operate AILA Sit & Play within 9 inches of a pacemaker.
CAUTION: When using the AILA Sit & Play, set the volume at a safe level. Setting the volume too high may harm or damage your hearing.
WARNING: This product can expose you to chemicals including Antimony Oxide (Antimony trioxide), which is known to the State of California to cause cancer, and Bisphenol A (BPA) which is known to the State of California to cause birth defects or other reproductive harm. For more information, go to P65Warnings.ca.gov.
System and Accessories Precautions and Maintenance
Do not disassemble or try to repair the AILA Slt &
Play or accessories. Doing so may damage them.
Do not store the AILA Sit & Play in a humid place, or in any location where it may contact moisture, dirt, dust, lint or any other foreign material.
Do not drop, or otherwise abuse the AILA Sit & Play. Doing so may damage the LCD screen or other critical components.
Make sure all connections to the AILA Sit & Play are made carefully and inserted into the correct location only.
When disconnecting any plugs from the AILA Sit & Play or wall outlet, always carefully pull by the plug itself rather than by the cord.
Do not expose the AILA Sit & Play or accessories to extreme heat or cold. The LCD may become slower or may not work when the temperature is low. The LCD will deteriorate at a high temperature. Take care not to expose the AILA Sit & Play to direct sunlight for extended periods of time.
The LCD screen may be damaged by sharp objects or pressure. Take care to protect the display from scratches and stains.
Do not spill liquids on the AILA Sit & Play or accessories. If liquids get into the device, do not charge the device.
when setting up and using the AILA Sit & Play. or accessories.
Do not expose the power adapter or AILA Sit & Play to any type of liquid or high humidity.
The power adapter including the USB Type C cable are not intended to be used as a toy, and should be handled by adults only.
Power Adapter Precautions
Please read and follow the precautions listed below Failure to do so may result in damage to your device
Plug the USB Type C Cable and a USB power adapter into an easily accessible standard wall outlet near your AILA Sit & Play.
Do not expose the power adapter or AILA Sit & Play to extreme heat.
Cleaning the System
NOTICE: If the screen becomes dirty, please clean it using a soft clean cloth, such as a lens or eyeglass cleaning cloth. If the outside of the AILA Sit & Play comes into contact with liquids, wipe clean with a soft, slightly damp cloth (use water only).
FCC Statement
This device complies with part 15 of the FCC Rules. Operation is subject to the following two conditions:(1) This device may not cause harmful interference, and (2) this device must accept any interference received, including interference that may cause undesired operation. This device and its antenna(s) must not be co-located or operating in conjunction with any other antenna or transmitter.
NOTE: This equipment has been tested and found to comply with the limits for a Class B digital device, pursuant to part 15 of the FCC Rules. These limits are designed to provide reasonable protection against harmful interference in a residential installation. This equipment generates, uses and can radiate radio frequency energy and, if not installed and used in accordance with the instructions, may cause harmful interference to radio communications. However, there is no guarantee that interference will not occur in a particular installation. If this equipment does cause harmful interference to radio or television reception, which can be determined by turning the equipment off and on, the user is encouraged to try to correct the interference by one or more of the following measures:
—Reorient or relocate the receiving antenna.
—Increase the separation between the equipment and receiver.
—Connect the equipment into an outlet on a circuit different from that to which the receiver is connected.
—Consult the dealer or an experienced radio/TV technician for help. CAUTION: any changes or modifications to this device not explicitly approved by the manufacturer could void your authority to operate this equipment.
FCC RF Exposure Information and Statement
Certification information (SAR) This device is also designed to meet the requirements for exposure to radio waves established by the Federal Communications Commission (USA). The SAR limit of USA (FCC) is 1.6 W/kg averaged over one gram of tissue. Device types: X4C-US21(FCC ID: 2AYDJ-X4C-US21) has also been tested against this SAR limit. During the product certification period, according to this standard report test, the highest SAR value reported to the FCC when the device is in use It is 1.420 w/kg. This device was tested for typical body-wom operations with the edge of the device kept 0mm from the body. To maintain compliance with FCC RF exposure requirements, use accessories that maintain a 0mm separation distance between the user’s body and the edge of the device.
FCC ID: 2AYDJ-X4C-US21 Model Number: X4C-US21 Input: DCSV/2A MAX Operating temperature:0-40°C This product conforms to Safety Requirements of ASTM F963.
WARRANTY
Your AILA Sit & Play has a standard Limited Warranty. Please contact us at [email protected] for more information.
App Store is a service mark of Apple Inc. Google Play and the Google Play logo are trademarks of Google LLC.
DMAI, Inc. ©2020. All rights reserved. Animal Island Learning Adventure’ (AILA), AILA Sit & Play’ 10940 Wilshire Blvd, Ste 1100 Los Angeles, CA 90024, USA
Customer Support:
www.animalisland.us
[email protected]
(424) 465-1510
![]()

animalisland.us
Support: [email protected] (424) 465-1510 VERSION 3.1
Feature Overview




















