ASSEMBLY INSTRUCTIONS
GREYSTONE DESK
MODEL # AXCRGREY08

DO NOT RETURN
FOR REPLACEMENT PARTS OR OTHER INQUIRIES PLEASE CONTACT US AT:
1-800-667-8992
PLEASE ENSURE TO HAVE THE COLLECTION NAME AND DESCRIPTION FROM THE PACKAGING OR INSTRUCTION BOOKLET
IMPORTANT : Please read this manual carefully before beginning the assembly of this product. Keep this manual for future reference.
SAFETY INFORMATION
Identify all the parts and hardware. Do not discard the packaging until you have checked that you have all of the parts and hardware required.
The hardware package may have spare parts.
WARNING: This item contains small parts which can be swallowed by children and pets. Keep children and pets away during assembly. To avoid the danger of suffocation, always keep plastic bags away from children and pets. We recommend that you assemble this unit on a carpeted floor to avoid scratches. If using power tools, set the tool to low torque to avoid damage.
May require 2 people for ease of assembly.
IMPORTANT: Please read this manual carefully before beginning the assembly of this product. Keep this manual for future reference.
CARE and MAINTENANCE
Perhaps the greatest environmental damage to wood furniture comes from wide swings in relative humidity (RH) in our homes.
Wood absorbs and desorbs water as relative humidity rises and falls, and in doing so it swells and shrinks.
Making matters worse, it expands and contracts unequally along with different grain directions.
As humidity changes, the components of wooden objects are continually pushing and pulling against each other.
This pressure often results in parts of furniture no longer fitting together closely or becoming distorted or breaking from their own internal stresses. The response to relative humidity changes begins with determining the annual average RH for your particular space.
Then try to keep the RH in the space where your furniture is as close to that average as possible, generally within about 10% up or down.
De-humidify in the summer and humidity in the winter. Be aware that raising the temperature lowers the humidity and vice versa.
Thus, modern heating systems, which can drive down interior RH in the winter, almost invariably cause problems for furniture.
To counteract their effect, you can either modify the RH by keeping furniture containing spaces cooler in the winter or most importantly, have a good working humidifier for your home.
A humidistat automatically works to balance the humidity in your home so it is constant.
Dry indoor air can suck enough moisture from its surroundings to do permanent damage to wood, causing it to crack or split.
Remember, that not all woods are created equal. Two factors that help determine how rapidly a wood will lose moisture are pore size and surface hardness.
A piece made from dense and hardwood will dry less rapidly than pieces made from softer woods.
Furniture that is sealed and lacquered will lose moisture more slowly than an unfinished piece while pieces with veneer finishes are not only stronger but lose moisture more slowly than other finishes.
To help protect your wood furniture, take these steps:
- Use a humidifier, preferably one with an automatic control system that can sense the humidity level and adjust itself accordingly. Don’t over-humidify; that can damage wood by causing it to expand and contract.
- Keep furniture out of direct sunlight, which can cause it to dry out, crack and warp.
- If you can avoid it, don’t put furniture near heating vents. If you must, keep the piece 3 to 4 inches away from the wall, giving the heat and air space to circulate.
- Dust with a soft dry cloth.
- Do not use liquid or aerosol products.
PRE-ASSEMBLY INFORMATION: MODEL # AXCRGREY08
PART DESCRIPTION

HARDWARE DESCRIPTION



NEED HELP? For help with assembly or if you are missing a part, Please call customer service at 1-800-667-8992.
COMPONENTS-KEY DIAGRAM: MODEL # AXCRGREY08

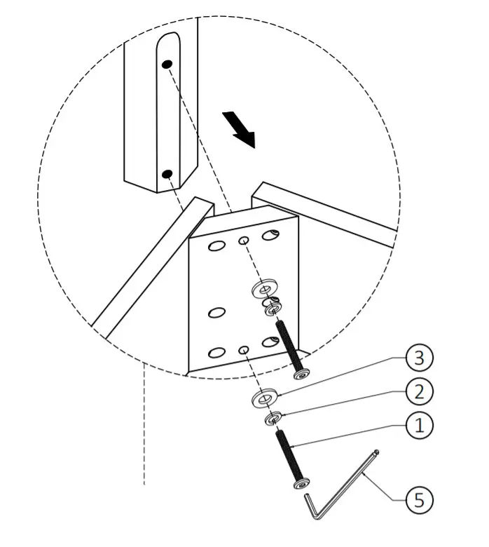
ASSEMBLY: MODEL # AXCRGREY08
STEP-1![]() | ![]()
|
![]()
| ![]() |
Note: Levelers on the bottom of legs can be adjusted if the floor is uneven.






















