GE 239D4106PO09 Bottom Freezer

IMPORTANT SAFETY INFORMATION
This is the safety alert symbol. This symbol alerts you to potential hazards that can kill or hurt you and others. All safety messages will follow the safety alert symbol and the word “DANGER”, “WARNING”, or “CAUTION”. These words are defined as:
- Indicates a hazardous situation that, if not avoided, will result in death or serious injury.
- Indicates a hazardous situation that, if not avoided, could result in death or serious injury.
- Indicates a hazardous situation that, if not avoided, could result in minor or moderate injury
WARNING
- This refrigerator must be properly installed and located in accordance with the Installation Instructions before it is used.
- Unplug the refrigerator before cleaning and making repairs.
NOTE: Repairs must be performed by a qualified Service Professional. - Replace all parts and panels before operating.
- Because of potential safety hazards under certain conditions, we strongly recommend against the use of an extension cord. However, if you must use an extension cord, it is absolutely necessary that it be a
- UL-listed (in the United States) or a CSA certified (in Canada), 3-wire grounding type appliance extension cord having a grounding type plug and outlet and that the electrical rating of the cord be 15 amperes (minimum) and 120 volts.
- To prevent suffocation and entrapment hazards to children, Remove the fresh food and freezer doors from any refrigerator before disposing of it or discontinuing its use.
- Do not store or use gasoline or other flammable vapors and liquids in the vicinity of this or any other appliance.
- Power to the refrigerator cannot be disconnected by any setting on the control panel, the refrigerator must be unplugged to remove power.
- Do not allow children to climb, stand or hang on the door handles or the shelves in the refrigerator. They could seriously injure themselves.
- In refrigerators with automatic ice makers, avoid contact with the moving parts of the ejector mechanism, or with the heating element that releases the cubes. Do not place your fingers or hands on the automatic ice-making mechanism while the refrigerator is plugged in.
- Do not clean glass shelves or covers with warm water when they are cold. Glass shelves and covers may break if exposed to sudden temperature changes or impact, such as bumping or dropping.
- Tempered glass is designed to shatter into many small pieces if it breaks.
- Keep fingers out of the “pinch point” areas; clearances between the doors and between the doors and cabinet are necessarily small. Be careful closing doors when children are in the area.
- Do not touch the cold surfaces in the freezer compartment when hands are damp or wet, skin may stick to these extremely cold surfaces.
- Do not refreeze frozen foods that have thawed completely.
- Use a sturdy glass when dispensing ice (on models with ice dispensers)
INSTALLATION
Explosion Hazard
Keep flammable materials and vapors, such as gasoline, away from the refrigerator. Failure to do so can result in f ire, explosion, or death.
Tip Over Hazard.
Built-in style models (model PYE, CYE, and PWE) are top-heavy, especially with any doors open. These models must be secured with the anti-tip floor bracket to prevent tipping forward, which could result in death or serious injury. Read and follow the entire installation instructions for installing the anti-tip floor bracket packed with your refrigerator
Electrical Shock Hazard.
Plug into a grounded 3-prong outlet Do not remove the ground prong Do not use an adapter Failure to follow these instructions can result in death, fire, or electrical shock.
Do not, under any circumstances, cut or remove the third (ground) prong from the power cord. For personal safety, this appliance must be properly grounded.
The power cord of this appliance is equipped with a 3-prong (grounding) plug which mates with a standard 3-prong (grounding) wall outlet to minimize the possibility of electric shock hazards from this appliance. Have the wall outlet and circuit checked by a qualified electrician to make sure the outlet is properly grounded. Where a standard 2-prong wall outlet is encountered. it is your personal responsibility and obligation to have it replaced with a properly grounded 3-prong wall outlet. Do not use an adapter. The refrigerator should always be plugged into its own individual electrical outlet which has a voltage rating that matches the rating plate. A 115 Volt AC, 60 Hz, 15- or 20-amp fused, grounded electrical supply is required. This provides the best performance and also prevents overloading house wiring circuits which could cause a fire hazard from overheated wires. Never unplug your refrigerator by pulling on the power cord. Always grip plug firmly and pull it straight out from the outlet. Repair or replace immediately all power cords that have become frayed or otherwise damaged. Do not use a cord that shows cracks or abrasion damage along its length or at either end.
When moving the refrigerator away from the wall, be careful not to roll over or damage the power cord.
Suffocation and child entrapment hazard.
Remove fresh food and freezer doors from the refrigerator, prior to disposal. result in child entrapment which can lead to death or brain damage. Child entrapment and suffocation are not problems of the past. Junked or abandoned refrigerators are still dangerous even if they will sit for ·:just a few days.” If you are getting rid of your old refrigerator, please follow the instructions below to help prevent
accidents. Take off the fresh food and freezer doors. Leave the shelves in place so that children may not easily climb inside.
Refrigerants
All refrigeration products contain refrigerants, which under federal law must be removed prior to product disposal. If you are getting rid of an old refrigeration product, check with the company handling the disposal about what to do.
About the features
- Space-saving ice maker and bin are located on the door creating more usable storage space.
- Showcase LED lighting is positioned throughout the interior to spotlight areas in the refrigerator. LEDs are located under the fresh food door to light the freezer when opened.
- The drop-down tray Allows for extra door storage when you need it and tucks away when you don’t.
- Full-width temperature-controlled drawer (on some models)
- Adjustable temperature control bin that can accommodate larger items.
- Dairy bin Separate compartments for your items.
- Dual ice maker/utility bin (on some models)An ice maker in both compartments gives you more ice whenever you need it or a utility bin designed for flexible storage.
- QuickSpace™ shelf Functions as a normal full-sized shelf when needed and easily slides back to store ta II items below.
- Spill-proof shelves Designed to capture your spills for easier clean-up.
- Removable condiment bin Separate bin designed for easy removal and storage.
- The removable door bin Can be removed for those with a wall limiting the door opening.
- Climate zone bin Separate bins for produce storage. fll In-the-door filter*
- Located in the door for more available space in the fresh-food section and easy replacement.
- Water filter Filters Water & Ice
About the features
Door ice bin
- Open left fresh food door.
- Pull down the latch to release bin door.
- Using a handhold lift ice bucket up and out to clear locators in the bottom of bin.
- To replace the ice bucket, set it on the guide brackets and push until the ice bucket seats properly.
- If the bucket cannot be replaced, rotate the Ice Bucket Fork 1 /4 turn clockwise.
Drop down dairy bin
- Open right fresh food
- Depress both buttons on the lower sides and bin will drop down.
- Reverse to reinstall.
Door ice/water filter
Remove filter/bypass plug Push the indent on the cover and open the filter door. Pull up on filter/bypass plug and pull straight out to remove. Installing the filter cartridge Push the indent at the bottom of the cover and open it. Lift the door and align tabs on a filter to filter/holder and push filter into place. Filter cover is designed to be\ reinstalled if accidentally removed
About the controls with temperature settings
NOTE: The refrigerator is shipped with a protective film covering the temperature controls. If this film was not removed during installation, remove it now.The temperature controls are preset in the factory at 37°F for the refrigerator compartment and 0°F for the freezer compartment. Allow 24 hours for the temperature to stabilize to the preset recommended settings.The temperature controls can display both the SET temperature as well as the actual temperature in the refrigerator and freezer. The actual temperature may vary slightly from the SET temperature based on usage and operating environment.
About the controls with temperature settings
Changing the Temperature for Control Style A To Change the Refrigerator Temperature:
Access By: Temperature Button- Activate By: Below the word “Refrigerator”, use the arrows to select the desired temperature. Press
- DONE when finished to return to HOME screen.
- To Change the Freezer Temperature:
- Access By: Temperature Button Tempernwc,
- Activate By: Below the word “Freezer”, use the arrows to
- select the desired temperature.
- Press DONE when finished to return to the HOME screen.
- To turn OFF the cooling system, access SETTINGS from the
- HOME screen. Page over and tap COOLING SYSTEM ON.
- Press DONE to return to the HOME screen.
- To turn ON the cooling system, access SETTINGS from the HOME screen. Page over and tap COOLING SYSTEM OFF. Press
- DONE to return to HOME screen.
- Turning the cooling system off stops the cooling to refrigerator, but it does not shut off the electrical power.
Changing the Temperature for Control Style B
- To change the temperature, press and release the pad
. The ACTUAL TEMP light will come on and the display will show the actual temperature. To change the temperature, tap either the [EE] pad until the desired temperature is displayed. - Changing the Temperature for Control St)1e C To change the temperature, press and release the pad. The ACTUAL TEMP light will come on and the display will show the actual temperature.To change the temperature, tap either the pad until the desired temperature is displayed.
Changing Temp. for Control Style D
The temperature Display is located on inside of left-hand refrigerator door. To change the temperature, press and release the REFRIGERATOR or FREEZER pad. The ACTUAL TEMP light will come on and the display will show the actual temperature. To change the temperature, tap either the REFRIGERATOR or FREEZER pad until the desired temperature is displayed.NOTE: For optimal temperature performance, we recommend avoiding placing food items directly at the air flow vents of the
fresh food air tower and thus blocking the airflow.
About the controls – features.
- Hands-free Autofill
Hands-free Autofill uses sensors to monitor container height to automatically dispense filtered water without having to activate the paddle. - PreciseFill setting
Precisely dispenses filtered water in accurate measurements in ounces, cups, quarts, or liters using a paddle. - Refrigerator temp control
Adjust freezer compartment temperature. - Fresh food temp control
Adjust fresh food compartment temperature. - TurboFreeze™ setting
Activate T urboFreeze to quickly restore freezer temperatures after frequent door openings. - T urboCool™ setting
Activate T urboCool to quickly restore fresh food temperature after frequent door openings. - Lock controls
Press and hold 3 seconds to lock out ice and water dispenser and all feature and temperature buttons. - LED dispenser light
LED lighting that can be turned on/off to light your dispenser. - Door Alarm
Sounds to alert when the freezer or fresh food doors have been left open. - Reset filter
Press and hold for 3 seconds after replacing the filter. - Photo Upload
Insert a USB memory stick to upload personal photos to the refrigerator LCD screen. LCD will provide on-screen prompts to load and view the slideshow. - Additional settings:
- Photo upload and delete
- Slideshow
- Connected Home ready
- Reset water filter
- Ice maker on/off
- Door alarm
- Sound control
- Cooling system On/Off
- Metric/English units
- Autofill video tutorial
- Additional Modes
- Sabbath Mode
- Light

About the controls – features.

- Door Alarm
Sounds to alert when the freezer or fresh food doors have been left open. - Reset Filter
Hold for 3 seconds after replacing filter. - Lock Controls
V Press and hold 3 seconds to lock out ice and water dispenser and all feature and temperature buttons. - LED dispenser light
LED lighting that can be turned on/off to light your dispenser. - Freezer temp control
V Adjust freezer compartment temperature - Refrigerator temp control
W Adjust fresh food compartment temperature - Dual ice maker control
Turn your ice makers on/off. - TurboCool™ setting
W Activate T urboCool to quickly restore the refrigerator temperature after frequent door openings. - Ice maker setting
Turn your ice makers on/off.
About the dispenser
Laceration Hazard
Never put fingers or any other object into ice crusher discharge opening. Doing so can result in contacting the ice-crushing blades and lead to serious injury or amputation Use a sturdy glass when dispensing ice. Delicate glass may break and result in personal injury.If no water is dispensed when the refrigerator is first installed, there may be air in the water line system. Press the dispenser
paddle for at least five minutes to remove trapped air from the water line and to fill the water system.To flush out impurities in the water line, throw away the first six full glasses of water.
- To remove Dispenser Tray
- Pull Dispenser Tray out until it stops.
- Locate tab in the center on the bottom and push up.
- Pull the Dispenser Tray assembly out.
- Lift metal Dispenser Tray out at center notch to clean.
- To reinstall Dispenser Tray
- Place the Dispenser Tray cover on top of the catch tray and position it under the two plastic retainers on either side.
- Center Dispenser tray, and align with center guides.
- Push in until it is firmly in place
Important Facts About Your Dispenser
- Do not add ice from trays or bags to the door ice maker bucket. It may not crush or dispense.
- Avoid overfilling glass with ice and use of narrow glasses.
- Backed-up ice can jam the chute or cause the door in the chute to freeze shut. If ice is blocking the chute remove the ice bucket, poke it through with a wooden spoon.
- Beverages and foods should not be quick-chilled in the door ice maker bin. Cans, bottles or food packages in the storage drawer may cause the ice maker or auger to jam.
- To keep dispensed ice from missing the glass, put the glass close to, but not touching, the dispenser opening.
- Some crushed ice may be dispensed even though you selected CUBED ICE This happens occasionally when a few cubes accidentally get directed to the crusher.
- After crushed ice is dispensed, some water may drip from the chute.
- Sometimes a small mound of snow will form on the door in the ice chute. This condition is normal and usually occurs when you have dispensed crushed ice repeatedly. The snow will eventually
evaporate.
To Use the Internal Water Dispenser
The water dispenser is located on the left wall inside the refrigerator compartment.
To dispense water:
- Hold the glass against the recess.
- Push the water dispenser button.
- Hold the glass underneath the dispenser for 2-3 seconds after releasing the dispenser button. Water may continue to dispense after the button is released.If no water is dispensed when the refrigerator is first installed, there may be air in the water line system. Press the dispenser button for at least 5 minutes to remove trapped air from the water line and to fill the water system. During this process, the dispenser noise may be loud as the air is purged from the water line system.To flush out impurities in the water line, throw away the first 6 glassfuls of water.
NOTE: To avoid water deposits, the dispenser should be cleaned periodically by wiping with a clean cloth or sponge.
About autofi/1
To Use HANDS-FREE AUTO FILL:
- Center container on Recess Dispenser Tray (not touching bottom sensors) and remove hand from the container
- Press AUTO FILL
- To Stop AUTO FILL
- Press CANCEL, to resume filling press AUTO FILL.
Important Facts about AUTO FILL
- For optimum results, use a uniform container between 4-8″ tall and 2-6″ wide. The container should be as tall as the bottom sensors.
- Container shape, fill level and functionality may vary on containers taller than 8″.
- Container volumes may vary, if the error message “Container Not Found” is given, try a different container.
- AUTO FILL will time out.
- Handles and garnishes on the rim of the container my cause overfilling or variation in fill volumes
- Splashing may occur depending on the location of the container, water flow rate, container shape, and ice cubes.
- Keep sensors clean with a clean damp cloth, and do not spray liquid or cleaners directly on sensors
- AUTO FILL works best with household water pressure of 60 to 100 psi.

About the GE® RPWF water filter cartridge
Water Filter Cartridge
The water filter cartridge is located in one of the following places: Bottom-freezer (BF) refrigerators:
- In the water filter compartment on the right side wall of the left-hand fresh food door.
- In the fresh food interior on the left side wall, near the top.
- When to replace the filter cartridge
- The fi lter cartridge should be replaced every six months or earlier if the flow of water to the dispenser or icemaker decreases.
- Touch Screen Models: A fi lter status message will appear on the screen when the water filter needs to be replaced. The filter status message must be reset manually.
- The “Water Filter: Replace” status message can be reset by entering the Settings menu from the home screen. Then, select the Water Fi lter menu and press the RESET button. This wi ll reset
the fi lter status. Non-touch Screen Models: A fi lter indicator light (or message) wi ll illuminate on the screen when the waterfi lter needs to be replaced. This light must be reset by pressing and holding the Reset Fi lter button for three seconds. The fi lter cartridge has a maximum life of six months and should be replaced when indicated by the fi lter indicator on the refrigerator, or sooner if a significant reduction in flow occurs.
Rearranging the Shelves
Shelves in the refrigerator compartment are adjustable. To remove:
- Remove all items from the shelf.
- Tilt the shelf up at the front.
- Lift the shelf up at the back and bring the shelf out.
To replace: - While tilting the shelf up, insert the top hook at the back of the shelf in a slot on the track.
- Lower the front of the shelf until the bottom of the shelf locks into place
Spillproof Shelves
Spill-proof shelves have special edges to help prevent spills from dripping to lower shelves.
Quick Space Shelf
This shelf splits in half and slides under itself for storage of tall items on the shelf below. This shelf can be removed and replaced or relocated Dust-like spill-proof shelves).
NOTE The location of the upper Quick Space Shelf is not adjustable.
Non-Ac!)unstable Dairy Bin
To remove: Lift the dairy bin straight up, then pull out.
unstable Bins on the Door
Adjustable bins can easily be carried from the refrigerator to the work area. To remove: Lift the bin straight up, then pull out. To replace or relocate: Slide in the bin just above the molded door supports, and push down. The bin will lock in place. See page 33.
Drop-down tray (tray open)
- Open right fresh food door

- Depress both buttons on the lower sides of the bin and the bin will drop down.
- Reverse to reinstall.

- Non-Ac!)unstable Bins on the Door To remove: Lift the bin straight up, then pull out. To replace: Engage the bin in the molded supports on the door and push down. It will lock in place.
The ice maker door bins are not inter interchangeable, note the location upon removal and replace the bin in its proper location.
About the climate zone and temperature-controlled drawer
climate zone
Keep fruits and vegetables organized in separate compartments for easy access. Excess water that may accumulate in the bottom of the drawers or under the drawers should be wiped dry.
Temperature Controlled Drawer
The Temperature Controlled Drawer is a full-width drawer with adjustable temperature control. This drawer can be used for large miscellaneous items. To change the setting, press the select button.
How to Remove and Replace the Ac!)unstable Deli/Produce Drawer
To remove:
- Pull the drawer out to the stop position.
- Lift the front of the drawer up and out.
How to Remove and Replace Drawer Divider
To remove:
- Pull the drawer out to the stop position.
- Raise the front side of the divider to unhook it from the rear wall of the drawer.

Freezer Basket and Drawer
- Basket.
- Drawer
- Utility Bin/ Ice Bucket

Non-Ac!)unstable Bin in the Freezer
To remove: push in plastic tab on either left or right side
To replace: slide bin into the location until it locks into place.
Basket Removal
To remove, Standard Depth models only:
- Open the freezer door to the stop position.
- Remove the freezer door bin by pushing the plastic tab on either left or right side to release bin hinge pin.
- Remove the freezer basket by lifting up the rear of the basket and moving the basket rearward until the front of the basket can be rotated upward and out.
- Lift it out to remove it.

Automatic Ice Maker
The ice maker will produce seven cubes per cycle approximately 100-130 cubes in a 24-hour period, depending on the freezer compartment temperature, room temperature, number of door openings and other use conditions. The ice maker will fill with water when it cools to 15°F (-10°C). A newly installed refrigerator mayv take 12 to 24 hours to begin making ice cubes. If the refrigerator is operated before the water line connection is made to the unit or if the water supply to an operating refrigerator is turned off, make sure that the ice maker is turned off. Once the water has been connected to the refrigerator, the ice maker may be turned on. See the table below for details.
Ice Bucket and Dispenser
- Open the ice box door on the inside of the left door.
- To replace the ice bucket, set it on the guide brackets and push until the ice bucket seats properly.
- Pull up and out on on the ice bucket in the left-hand door to remove it from the compartment.
Extra Ice Storage
- If the bucket cannot be replaced, rotate the ice bucket fork 1 /4 turn clockwise.
- There is additional ice storage in the freezer compartment drawer.
- Open the freezer drawer.
- The ice bucket is located on the left side below the mullion.
- Pull the ice bucket forward.
Care and cleaning of the refrigerator
Cleaning the Outside
The stainless steel panels, door handles and trim. Do not use appliance wax, polish, bleach, or other products containing chlorine on stainless steel. Stainless steel (on some models) can be cleaned with a commercially available stainless steel cleaner. A spray-on stainless steel cleaner works best with Silver-accented plastic parts. Wash parts with soap or other mild detergents. Wipe clean with a sponge, damp cloth or paper towel. Do not use scouring pads, powdered cleaners, bleach or cleaners containing bleach because these products can scratch and weaken the paint finish
Cleaning the Inside
To help prevent odors, leave an open box of baking soda in the refrigerator and freezer compartments. Unplug the refrigerator before cleaning. If this is not practical, wring excess moisture out of sponge or cloth when cleaning around switches, lights or controls. Use an appliance wax polish on the inside surface between the doors. Use warm water and baking soda solution-about a tablespoon (15 ml) of baking soda to a quart (1 liter) of water.This both cleans and neutralizes odors. Rinse and wipe dry.
Behind the Refrigerator
Be careful when moving the refrigerator away from the wall. All types of floor coverings can be damaged, particularly cushioned coverings and those with embossed surfaces. Raise the leveling legs located at the bottom front of the refrigerator.
Preparing to Move
Secure all loose items such as shelves and drawers by taping them securely in place to prevent damage. When using a hand truck to move the refrigerator, do not rest the front or back of the refrigerator against the hand truck. This could damage the refrigerator.
Replacing the lights.
There is LED lighting in fresh food compartment and on the bottom of the fresh food doors to light the freezer compartment.* An authorized technician will need to replace the LED light.
If this assembly needs to be replaced, call GE Service at 1.800.432.2737 in the United States or 1.800.561.3344 in Canada
Installation Instructions
BEFORE YOU BEGIN
Read these instructions completely and carefully
Tip Over Hazard
Built-in style models (model PYE, CYE, and PWE) are top-heavy, especially with any doors open. These models must be secured with the anti-tip floor bracket to prevent tipping forward, which could result in death or seriou injury. Read and follow the entire installation instructions for installing the anti-tip floor bracket packed with your refrigerator
IMPORTANT
Observe all governing codes and ordinances. Save these instructions for the local inspector’s use.
- Note to Installer – Be sure to leave these instructions with the Consumer.
- Note to Consumer – Keep these instructions for future reference.
- Skill level – Installation of this appliance requires basic mechanical skills.
- Completion time – Refrigerator Installation can vary
- Water Line Installation 30 minutes
- Proper installation is the responsibility of the installer.
- Product failure due to improper installation is not covered under the Warranty.
TOOLS YOU MAY NEED
DIMENSIONS
Moving THE REFRIGERATOR
- Using the chart below determine if the width of your passageway can accommodate the depth of the refrigerator. Ensure you have clearance to prevent damage to the refrigerator before safety moving it to the final location.
- If passageways are large enough to accommodate the refrigerator without removing the handles skip to Step 6. Leave tape, film and all packaging on doors until the refrigerator is in the final location.
- NOTE: Use a padded hand truck or moving straps to move this refrigerator. Place the refrigerator on the hand truck with a side against the truck. We strongly recommend that two people move and complete this installation

REFRIGERATOR LOCATION
- Do not install the refrigerator where the temperature will go below 60°F (16°C) because it will not run often enough to maintain proper temperatures.
- Do not install the refrigerator where the temperature will go above 100°F (37°C) because it will not perform properly.
- Install it on a floor strong enough to support it fully loaded.
CLEARANCES
Allow the following clearances for ease of installation, proper air circulation and plumbing and electrical connections.
- Sides 1 /8″ (3 mm)
- Top 1″ (25 mm) Cabinet/Hinge Cover
- Back 2″ (50 mm)
REMOVING THE REFRIGERATOR DOORS
- IMPORTANT NOTE This refrigerator is 36¼ ” deep (31 ¼” for CD models). Doors and passageways leading to the installation location must be at least 36¼ ” wide in order to leave the doors and handles attached to the refrigerator while transporting it into the installation location. If passageways are less than 36¼”, the refrigerator doors and handles can easily be scratched and damaged. The top cap and doors can be removed to allow the refrigerator to be safely moved indoors. If passageways are less than 31 ¼ “, start with Step 1.
- If it is not necessary to remove doors, skip to Step 11. Leave tape and all packaging on doors until the refrigerator is in the final location.
- NOTE Use a padded hand truck to move this refrigerator. Place the refrigerator on the hand truck with a side against the truck.
REMOVE THE FRESH FOOD DOOR HANDLE
Handle Design varies based on models, however, Installation is the same. Stainless steel and plastic handle: Loosen the set screws with the 1 /8″ Allen wrench and remove the handle.
NOTE: If the handle mounting fasteners need to be tightened or removed, use a 1 / 4″ Allen wrench
REMOVE THE FREEZER DOOR HANDLE
Handle Design varies based on models, however, Installation is the same.
Stainless steel and plastic handle: Loosen the set screws with the 1 /8″ Allen wrench and remove the handle.
NOTE: If the handle mounting fasteners need to be tightened or removed. use a 1 /4″ Allen wrench.
REMOVE THE REFRIGERATOR DOORS
Securely tape the door shut with masking tape or have a second person support the door.
Start with the left-hand door first: Remove the hinge cover on top of the left refrigerator door by removing all hex screws and pulling it up. Do the same for the right-hand door and the middle cover.
Disconnect both electrical connectors at the top cover
Remove the 1 / 4″ hex head screw to disconnect the ground wire from the hinge. Remove the 1/4″ hex head screw to remove the strain relief from the water line.
Disconnect the water line from the back of the unit by pressing down on the dark grey collar while pulling up on the water line. Pull the water line through case conduit from the top to free the line for door removal. The water line is more than 4′ long and may need to be taped to the Door for accessibility when reinstalling.
Remove the tape and keep the door as
straight as possible, open the door to 90° then lift straight up to remove it.
REMOVE OPPOSITE DOOR
Follow the same procedure on the opposite door. There are no wires or water lines on the opposite side
REMOVE CENTER HINGE (if necessary)
Remove the 3/8″ screws securing the center hinge to the cabinet. Use the T20 driver to remove an outboard screw
REINSTALLING THE REFRIGERATOR DOORS
Reverse steps 1 through 4 to reinstall the refrigerator, follow details below for critical alignments. Reinstall center hinge first and torque the screws to 65 in-lbs. With the LH door at 90° to the front of
the case, lower the refrigerator door onto the center hinge. Ensure that the door and hinge align correctly.
Rotate doors closed and make sure the moveable center sealing portion of the door aligns with the striker. If the door will not self-close a~er reinstalling, remove door, turn door upside down, check alignment mark and arrow; (there is an alignment mark on the door closure mechanism It corresponds to an alignment arrow on the plastic ring. Rotate door closure mechanism to align mark and arrow, reinstall door).
If the door cannot be installed at 90° follow steps below:
- Insta ll door at 180″ to case front.
- If space limits opening door to less than 180″, then:
- Remove door, carefully turn door upside down.
- Check alignment of door closure mechanism shaft on the underside of the door. The flats on the shaft should correspond to the alignment tab on the plastic ring or mark on a bottom end cap.
- If shaft is not aligned to tab/mark, using 5/32″ Allen wrench, rotate door closure mechanism shaft counterclockwise for right door and clockwise for left door.
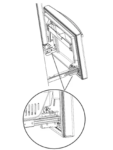
REMOVE THE FREEZER DOOR
Pull the freezer door open to full extension. Remove 3 attachment screws, located at the bottom on each side of the freezer door using 3/8″ hex socket driver.
Lifting Hazard
The freezer door is heavy Use both hands to secure the door before lifting.Lift the freezer door to disengage it from the slide mechanism.
REPLACING THE FREEZER DOOR
Pull the slide Mechanism to full extension using both hands simultaneously. Remove the basket resting on the slides.
Lifting Hazard
The freezer door is heavy Use both hands to secure the door before lifting. Lift the freezer door and place it on the slide mechanism
Replace the attachment screws and torque the screws to 65 in-lb For adjusting freezer door gaps, follow the instructions on pg 27. Replace the basket
INSTALLING THE REFRIGERATOR
The 6 mounting screws (3 on each side) are NOT interchangeable with the center or top hinge screws. Drawer screws have flat washer heads, and other screws have lines/ribs on the washer heads.
After installation of the freezer door, check for uniform gaps (top and bottom of right and left-hand side) with the template provided. In the event of excessive gaps use the following steps to adjust the freezer door.
Step 1 – Loosen the 3 screws on each side (right and left) of the freezer door.
Step 2 – Adjust set screw clockwise if gap at the top is too big (see template). Turn the set screw using a 3/32″ hex key clockwise by a quarter to half a rotation
Step 3 – Adjust set screw counter-clockwise if gap at the bottom is too big (see template). Turn the set screw using a 3/32″ hex key counter-clockwise by a quarter to half a rotation
Step 4 – Tighten the 3 screws on each side (right and left).
Step 5 – Re-check the gaps using the template and repeat steps 1 to 4 if required and complete with step 5.
LEVEL THE FREEZER DOOR
- Locate the height adjuster cam in the freezer door. Slightly loosen the three door attachment screws on both sides using a 3/8″ hex socket driver.
- Locate and loosen the cam screw using the T-27 screwdriver.

LEVEL THE FREEZER DOOR (cont.)
IA] Lift the door on the side requiring adjustment, and rotate the cam to the required position.
- 0 – Initial position
- 1 – Lift by 0.050″
- -1 – Lower by 0.050″
- -2 – Lower by 0.100
- -3 – Lower by 0.150″
Tip Over Hazard.
Built-in style models (model PYE, CYE, and PWE) are top-heavy, especially with any doors open. These models must be secured with the anti-tip floor bracket to prevent tipping forward, which could result in death or serious injury. Read and follow the entire installation instructions for installing the anti-tip floor bracket packed with your refrigerator.
MATERIALS YOU MAY NEED
For Anti-Tip Bracket Mounted on CONCRETE Floors Only
Measure the width of the cabinet opening where the refrigerator will be placed, W. Be sure to account for any countertop overhang, baseboard thickness and any clearance desired. Width, W, should not be less than 36″. The refrigerator will be placed approximately in the middle of this opening.
LOCATING THE ANTI-TIP FLOOR BRACKET
Place the anti-tip floor bracket locator template (included inside the anti-tip kit) onto the floor up against the rear wall, within W, and in line with the desired location of the RH side of the refrigerator (see Figure 1 ).
- Place the anti-tip floor bracket onto the locator template with its RH floor holes lined up with the floor holes indicated on the template sheet, approximately 15 ¼” from the edge of the sheet
or the RH side of the refrigerator. - Hold down in position and use the anti-tip floor bracket as a template for marking the holes based upon your configuration and type of construction as shown in Step 3. Mark the hole locations with a pencil, nail or awl.
LOCATING THE ANTI-TIP FLOOR BRACKET (cont.)
ANTI-TIP BRACKET INSTALLATION WOOD
Wall and Floor Construction:
- Drill the appropriate number of 1/8″ (3 mm) pilot holes in the center of each floor bracket hole being used (a nail or awl may be used ifa drill is not available) AND remove the locator template from the floor.
- Mount the anti-tip floor bracket by fastening the 2, or recommended 4, #10-16 hex-head screws tightly into place as illustrated in

CONNECTING THE REFRIGERATOR TO THE HOUSE WATER LINE
- A cold water supply is required for automatic ice maker operation. If there is not a cold water supply, you will need to provide one. See Installing the Water Line section.
NOTES: - Before making the connection to the refrigerator, be sure the refrigerator power cord is not plugged into the wall outlet.
- If your refrigerator does not have a water filter, we recommend installing one if your water supply has sand or particles that could clog the screen of the refrigerator’s water valve. Install it in the water line near the refrigerator. If using GE SmartConnecf” Refrigerator Tubing Kit, you will need an additional tube (WX08X10002) to connect the filter. Do not cut the plastic tube to install filter.
- Before connecting the water line to the house, purge the house line for at least 2 minutes. If you are using copper tubing, place a compression nut and ferrule (sleeve) onto the end of the tubing coming from the house cold water supply. If you are using the GE SmartConnecfMtu bing, the nuts are already assembled to the tubing.

TURN ON THE WATER SUPPLY
Turn the water on at the shutoff valve (house water supply) and check for any leaks.
PLUG IN THE REFRIGERATOR
See the grounding information attached to the power cord.
LEVEL THE REFRIGERATOR
The leveling legs have 2 purposes:
- Leveling legs adjust so the refrigerator is firmly positioned on the floor and does not wobble.
- Leveling legs serve as a stabilizing brake to hold the refrigerator securely in position during operation and cleaning. The leveling legs also prevent the refrigerator from tipping.
- Turn the leveling legs clockwise to raise the refrigerator, and counterclockwise to lower it.

LEVEL THE REFRIGERATOR DOORS
Remember a level refrigerator is necessary for getting the doors perfectly even. If you need help, review the previous section on leveling the refrigerator.
- If you open the freezer door, you can see the center hinge.
- Insert 1 / 4″ Allen wrench into the shaft of the center hinge.
- Adjust the height by turning clockwise or counterclockwise. When you turn counterclockwise, the door will move up.

Refrigerator Assembly Instructions suggested assembly.

- To place bins into doors:
- Divider
- (Select models only)
- Match your bin with the letter shown.
- Position the bin hooks over the bin locator and push forward until inserted fully.
- Push bin down until locked into position

INSTALLING THE WATER LINE
BEFORE YOU BEGIN Recommended copper water supply kits are WX8X2, WX8X3 or WX8X4, depending on the amount of tubing you need. Approved plastic water supply lines are GE SmartConnecfM Refrigerator Tubing (WX08X10006, WX08X10015 and WX08X10025). When connecting your refrigerator to a GE Reverse Osmosis Water System, the only approved installation
is with a GE RVKit. For other reverse osmosis water systems, follow the manufacturer’s recommendations. If the water supply to the refrigerator is from a Reverse Osmosis (RO) Water Filtration System AND the refrigerator also has a water filter, use the refrigerator’s filter bypass plug. Using the refrigerator’s water filtration cartridge in conjunction with the RO water filter can result in
hollow ice cubes. This water line installation is not warranted by the refrigerator or ice maker manufacturer. Follow these instructions carefully to minimize the risk of expensive water damage. Water hammer (water banging in the pipes) in house plumbing can cause damage to refrigerator parts and lead to water leakage or flooding. Call a qualified plumber to correct water hammer before installing the water supply line to the refrigerator. To prevent burns and product damage, do not hook up the water line to the hot water line.
For PFE27 and PYE23K Models:
If the refrigerator is operated before the water connection is made to the ice maker, press and hold both the CRUSHED and CUBED buttons together for 3 seconds to isengage the ice maker. When the refrigerator has been connected to the water supply, press and hold both the CRUSHED and CUBED buttons together for 3 seconds to re-engage the ice maker.
For Non-LCD Models:
If the refrigerator is operated before the water connection is made to the ice maker, press and release the ICE MAKER button on the control panel to disengage the ice maker. When the refrigerator has been connected to the water supply, press and release the ICE MAKER button on the control panel to re-engage the ice maker.
WHAT YOU WILL NEED
- Copper or GE SmartConnecr Refrigerator Tubing kit, 1 / 4″ outer diameter to connect the refrigerator to the water supply. If using copper, be sure both ends of the tubing are cut square.
- 6′ (1.8 m) – WX08X10006
- 15′ (4.6 m) – WX08X10015
- 25′ (7.6 m) – WX08X10025
WHAT YOU WILL NEED (CONT.)
NOTE: The only GE-approved plastic tubing is supplied in GE SmartConnect’M Refrigerator Tubing kits. Do not use any other plastic water supply line because the line is under pressure at all
times. Certain types of plastic will crack or rupture with age and cause water damage to your home.
- AGE water supply kit (containing tubing, shutoff valve and fittings listed below) is available at extra cost from your dealer or from Parts and Accessories, 800.626.2002 (in Canada 1.800.661.1616).
- A cold water supply. The water pressure must be between 20 and 120 p.s.i. (1.4-8.1 bar).

- Power drill. ~
- 1 /2″ or adjustable wrench.
- Straight and Phillips blade screwdriver.

- Two 1/4″ outer diameter compression nuts and 2 ferrules (sleeves)-to connect the copper tubing to the shutoff valve and the refrigerator water valve. OR
- If you are using a GE SmartConnecr Refrigerator Tubing kit, the necessary fittings are preassembled to the tubing.

- If your existing copper water line has a flared fitting at the end, you will need an adapter (available at plumbing supply stores) to connect the water line to the refrigerator OR you can cut off the flared fitting with a tube cutter and then use a compression fitting. Do not cut formed end from GE SmartConnect’M Refrigerator tubing.

- CHOOSE THE VALVE LOCATION
Choose a location for the valve that is easily accessible. It is best to connect into the side of a vertical water pipe. When it is necessary to connect into a horizontal water pipe, makethe connection to the top or side, rather than at the bottom, to avoid drawing off any sediment from the water pipe.
DRILL THE HOLE FOR THE VALVE
Drill a 1 / 4″ hole in the water pipe (even if using a self-piercing valve), using a sharp bit. Remove any burrs resulting from drilling the hole in the pipe. Take care not to allow water to drain into
the drill. Failure to drill a 1/4″ hole may result in reduced ice production or smaller cubes.
FASTEN THE SHUTOFF VALVE
Fasten the shutoff valve to the cold water pipe with the pipe clamp.
TIGHTEN THE PIPE CLAMP
Tighten the clamp screws until the sealing washer begins to swell.
NOTE: Do not over-tighten or you may crush the tubing
CONNECT THE TUBING TO THE VALVE
Place the compression nut and ferrule (sleeve) for copper tubing onto the end of the tubing and connect it to the shutoff valve. Make sure the tubing is fully inserted into the valve. Tighten the compression nut securely. For plastic tubing from a GE SmartConnecfM Refrigerator Tubing kit, insert the molded end of the tubing into the shutoff valve and tighten the compression nut until it is hand tight, then tighten one additional turn with a wrench. Over-tightening may cause leaks.
FLUSH OUT THE TUBING
Turn the main water supply on and flush out the tubing until the water is clear. Shut the water off at the water valve after about one quart (1 liter or 2 minutes) of water has bee flushed through the tubing.
Before you call for service
Troubleshooting Tips Save time and money/ Review the charts on the following pages first and you may not need to call for service.


Truth or Myth (cont.)
Refrigerator Warranty
All warranty services is provided by our Factory Service Centers, or an authorized Customer Care'”‘ technician. To schedule service, visit us online at GEAppliances.com, or call BOO GE CARES
(8004322737), Please have serial number and model number available when calling for service. Servicing your refrigerator may require the use of the onboard data port for diagnostics. This gives a GE
Factory Service technician the ability to quickly diagnose any issues with your appliance and helps GE improve its products by providing GE with information on your appliance. If you do not want your appliance data to be sent to GE, please advise your technician NOT submit the data to GE at the time of service
This warranty is extended to the original purchaser and any succeeding owner for products purchased for home use within the USA If the product is located in an area where service by a GE Authorized Servicer is not available, you may be responsible for a trip charge or you may be required to bring the product to an Authorized GE Service location for service. In Alaska, the warranty excludes the cost of shipping or service calls to your home. Some states do not allow the exclusion or limitation of incidental or consequential damages. This warranty gives you specific legal rights, and you may also have other rights which vary from state to state. To know what your legal rights are, consult your local or state consumer affairs office or your state’s Attorney General.
RPWF Water Filter Cartridge Limited Warranty
- Service trips to your home to teach you how to use the product.
- Improper installation.
- Failure of the product if it is abused, misused, used for other than the intended purpose or used commercially.
- Replacement of house fuses or resetting of circuit breakers.
- Replacement of the water filter cartridge due to water pressure that is outside the specified operating range or due to excessive sediment in the water supply.
- Damage to the product caused by accident, fire, floods or acts of God.
- Incidental or consequential damage caused by possible defects with this appliance
This warranty is extended to the original purchaser and any succeeding owner for products purchased for home use within the U.S.A. In Alaska, the warranty excludes the cost of shipping or service calls to your home. Some states do not allow the exclusion or limitation of incidental or consequential damages. This warranty gives you specific legal rights, and you may also have other rights which vary from state to state. To know what your legal rights are, consult your local or state consumer affairs office or your state’s Attorney General. For Purchases Made In Iowa: This form must be signed and dated by the buyer and seller prior to the consummation of this sale. This form should be retained on file by the seller for a minimum of two years.
Use Replacement Cartridge RPWF.
The concentration of the indicated substances in water entering the system was reduced to a concentration less than or equal to the permissible limit for water leaving the system as specified in NSF/ANSI Standard 42 and Standard 53. System tested and certified by NSF International against NSF/ANSI Standard 42 and Standard 53 for the reduction of substances listed below. Ca acit 170 Gallons (643.5 Liters).It is essential that the manufacturer’s recommended installation, maintenance and filter replacement requirements be carried out for the product to perform as advertised.
See Installation Manual for Warranty information.
Note: While the testing was performed under standard laboratory conditions, actual performance may vary. Replacement Cartridge: RPWF. For estimated costs of replacement elements please call 1-800-626-2002 or visit our website at www.geapplianceparts.com.
WARNING
To reduce the risk associated with ingestion of contaminants: Do not use water that is microbiologically unsafe or of unknown quality without adequate disinfection before and after the system. Systems certified.
NOTICE
To reduce the risk associated with property damage due to water leakage:
- Read and follow use instructions before in sta collation and use of this system.
- Installation and use MUST comply with all state and local plumbing codes.
- Do not install if water pressure exceeds 120 psi 1827 kcal. If your water pressure exceeds 80 psi, you must install a pressure-limiting valve. Contact a plumbing professional if you are uncertain how to check your water pressure.
- Do not install where water hammer cond it ions may occur. If water hammer conditions exist you must install a water hammer arrester. Contact a plumbing professional if you are uncertain how to check for this condition.
- Do not install on hot water supply lines. The maximum operating water temperature of th is filter system is 100° F 138° Cl.
- Protect the filter from freezing. Drain filter when temperatures drop below 33°F I0.6°C).
- The disposable fi lter cartridge must be replaced every 6 months at the rated capacity, or sooner if a noticeable reduction in flow rate occurs.For cond it ions of use, health claims cert if ied by the California Department of Public Health, and replacements, see the performance data sheet. California Department of Public Health Certification #11-2110. The contaminants or other substances
removed or reduced by th is water filter are not necessarily in all users’ water
GE Appliances Website In the U.S.: GEAppliances.com
Have a question or need assistance with your appliance? Try the GE Appliances website, 24 hours a day, any day of the yearl For greater convenience and faster service, you can now download Owner’s Manuals, order parts or even schedule service online. In Canada: www.GEAppliances.ca
Schedule Service
Expert GE repair service is only one step away from your door. Get online and schedule your service at your convenience any day of the year Or call 800.GE.CARES (800.432.2737) during normal business hours. In Canada, call 1.800.561.3344
Extended Warranties
Purchase a GE extended warranty and learn about special discounts that are available while your warranty is still in effect. You can purchase it online anytime, or call 800.626.2224 during normal business hours. GE Consumer Home Services will still be there after your warranty expires. In Canada, call 1.888.261.2133
Parts and Accessories
Individuals qualified to service their own appliances can have parts or accessories sent directly to their homes (VISA, MasterCard and Discover cards are accepted). Order online today, 24 hours every day or by phone at 800.626.2002 during normal business hours. Instructions contained in this manual cover procedures to be performed by any user. Other servicing generally should
be referred to qualified service personnel. Caution must be exercised, since improper servicing may cause unsafe operation. Customers in Canada should consult the yellow pages for the nearest Mabe service center, or call 1.800.661.1616.






















































