Brandt BFU4251SW Upright Freezer

Product Information
- Product Name: BFU4251SW BFU4325SW
- Product Type: Refrigerator
- : Unknown
Product Usage Instructions
Before switching on your appliance, read the user guide carefully to familiarize yourself with its operation.
Safety guidelines:
- This appliance is intended for domestic use in private households and should only be used in a roofed, enclosed, and heated environment such as a kitchen.
- Avoid placing the appliance near any source of flame during installation, servicing, and use.
- Ensure proper ventilation and avoid obstructing the ventilation openings in the appliance enclosure or built-in structure.
- Do not modify the composition of the appliance in any way.
- Check that the power cord is not trapped or damaged when positioning the appliance. If the power cord is damaged, it should be replaced by the manufacturer or a qualified person.
Installation:
- Follow the instructions in the manual for installation and securing the appliance.
- Maintain clear ventilation openings to ensure proper functioning.
Temperature adjustment:
- Use the thermostat indicator to adjust the temperature as desired.
Cleaning:
- Clean the appliance regularly following the instructions provided.
Troubleshooting:
- If the appliance does not cool properly, ensure that enough food is present.
- If abnormal noises occur, check if the appliance is touching the wall or other objects.
- If you cannot identify the cause of a malfunction, contact the manufacturer or their after-sales service department.
For more information, contact the consumer relations department or intervention services in France. Warranty details are also available.
Dear Customer,
You have just purchased a BRANDT product and we thank you for your trust.
We designed and manufactured this product with you, your lifestyle and your needs in mind, in order to best meet your expectations. We have put into it our expertise, our spirit of innovation and all the passion which has driven us for over 60 years.
We make every effort to ensure our products better meet your requirements, and our Customer Relations Department is at your disposal and will be happy to hear any questions or suggestions you may have.
You may also visit our website www.brandt.com where you will find our latest innovations, as well as useful and complementary information.
BRANDT is happy to assist you in your daily life and hopes you will fully enjoy your purchase.
Important: Before switching on your appliance, please read this user guide carefully in order to familiarise yourself more quickly with its operation.
SAFETY
This appliance complies with the European directives.
SAFETY GUIDELINES
For your safety and in order to use your appliance correctly, carefully read these instructions (including the warnings and useful advice), before installation and first use.
To avoid damaging the appliance and unnecessary injury, it is important that the persons who use the appliance fully understand how it works and the safety instructions.
Always keep these instructions close to the appliance so that they can accompany it in the event of resale or a change of house. In this way, the appliance will continue to function optimally and any risk of injury will be avoided.
The manufacturer shall not be held liable in the event of misuse of the appliance.
GENERAL SAFETY AND WARNINGS
This appliance is exclusively intended for domestic use in private households. It may only be used in a roofed, enclosed and heated environment such as a kitchen or any other room fulfilling these conditions. Its use on shared or professional premises such as in an office or workshop break room, a camp site building, or a hotel, etc., does not comply with the use defined by the manufacturer.
WARNING! Keep your appliance away from any source of flame during installation, servicing and use. The symbol in the margin which is found on the rear of your appliance, means that there are inflammable materials in this area.
The refrigerating and insulating agents used in this appliance contain inflammable gases.
When transporting, installing and servicing the appliance, make sure that none of the components of the cooling circuit are damaged. If the cooling circuit is damaged:
- Avoid naked flames and all sources of inflammation.
- Ventilate the room in which the appliance is installed.
Installation safety
- Your appliance must be installed and, if necessary, secured and used in accordance with the instructions in this manual in order to avoid any risks due to poor installation.
- Maintain clear of obstruction ventilation openings in the appliance enclosure or in the built-in structure.
- It is dangerous to change the composition of this model in any way whatsoever.
- Ensure that the power cord is not trapped or damaged when you position your appliance.
- Any damage to the power cord may result in a short circuit and/or electrocution.
- If the power cord is damaged, it should be replaced by the manufacturer, its after-sales service department or a similarly qualified person, so as to avoid danger.
- Do not place multiple plugs or portable power supply units behind the appliance.
- For models fitted with a water dispenser or an ice compartment, only fill or connect using a supply of drinking water.
Safety of vulnerable persons
- This appliance may be used by children aged 8 years or more and by people with physical, sensual or metal deficits and lacking experience or knowledge of the device provided that they are correctly supervised or have been provided with instructions regarding the safe use of the appliance and provided that the risks present have been fully understood.
- Children must not play with the appliance.
- Children must not clean and maintain the appliance without supervision.
- Children aged 3 to 8 are allowed to load and unload refrigeration appliances.
- Keep all the packaging materials out of the reach of children, as they can cause suffocation.
Safety of use
- Do not damage the refrigerating circuit.
- Do not use any mechanical or other means, other than those recommended by the manufacturer, to speed up the defrosting process.
- Do not use any electric appliances inside the compartment for food, unless they are of a type recommended by the manufacturer.
- Do not store any explosive substances, such as aerosols containing inflammable propellant gases, inside the appliance.
Food safety
To avoid contaminating food, follow the instructions below:
- Leaving the door open for long periods of time may significantly raise the temperature in the appliance compartments.
- Regularly clean any surfaces that may come into contact with food and accessible drain systems.
- Clean water containers if they have not been used for 48 hours. Properly rinse the water distribution system connected to a fresh water network if no water has been drawn off for five days.
- Store raw meat and fish in the appropriate refrigerator compartments so that the latter products are not in contact with other food and do not drip onto other food.
- The “two star” compartments for frozen foods are suitable for storing food that is already frozen, for storing or making ice cream and ice cubes.
- The “one, two and three star” compartments are not suitable for freezing fresh foods.
- If the refrigerator remains empty for an extended period of time, switch it off, defrost it, clean it, dry it and leave the door open to prevent any mould from forming inside the appliance.
DISPOSAL
This symbol indicates that this product should not be treated as household waste.
Only dispose of the appliance in certified collection centres. Your appliance contains a large amount of recyclable material. It is marked with this label to indicate the used appliances must be disposed of in certified collection points.
Contact your town hall or your retailer for the used appliance collection points closest to your home. This way, the appliance recycling organised by your manufacturer will be done under the best possible conditions, in compliance with European Directive on Waste Electrical and Electronic Equipment.
This appliance’s packing materials are also recyclable. Help recycle it and protect the environment by dropping it off in the municipal receptacles provided for this purpose.
In accordance with the most recent legislative provisions applying to the protection and respect for the environment, your appliance does not contain any CFCs, but a refrigerant called R600a. The exact type of coolant gas used in your appliance is clearly shown on the ID plate inside the fridge part of your appliance, at the foot of the left-hand side panel. R600a is a non-polluting gas that does not harm the ozone layer and hardly contributes to the greenhouse effect at all.
Used appliances must be immediately made unusable.
Disconnect the power cord and cut it as close to the appliance as possible. Inhibit the closing mechanism of the door or, even better, detach the door, so that children or pets cannot remain enclosed inside the appliance when playing.
ECODESIGN
To access the data on your model, stored in the product database in line with regulation (EU) 2019/2016 and data relating to energy labelling, please connect to the dedicated website at https://eprel.ec.europa.eu/
Find the reference of your appliance on the website by entering the service reference shown on the ID plate on your appliance.
Another way to access this information is to flash the QR code found on the energy label on your product.
Layout and presentation of your appliance
- This refrigeration appliance is not intended to be used as a built-in appliance
- Your appliance was designed and tested to optimize its energy use.
- The proposed layout represents the ideal solution for achieving ideal energy consumption and optimum food storage.

This illustration is only for hinting, the detail please check your appliance.
You can only keep your food in good condition and optimize your energy consumption by following the instructions in this installation and user guide.
Energy-saving measures
In order to reduce the power consumption of your appliance:
- Install it in a suitable location (see “Installing your appliance”).
- Leave the doors open for the shortest time possible.
- Never put hot food in the fridge or the freezer, and in particular soups and other preparations that release a lot of steam.
- Check that your appliance is working correctly and do not allow too much ice to accumulate in the freezer (defrost when the ice is more than 5-6 mm thick). Clean the condenser on a regular basis.
- Regularly check the door seals and make sure that the doors can be closed properly. If this is not the case, contact after-sales service.
- Do not adjust the temperature too low.
Storing food
Here are some rules you should follow:
- Maintain the cold chain and select “Booster” mode at least 6 hours before coming home with groceries.
- Defrost the freezer and clean it at least once a year.
- Keep home-made food in the refrigerator after first taking care to leave it to cool.
- Make sure that your appliance is set to the recommended temperatures shown below. The temperatures for every compartment are recommended to optimise storing food and avoid any waste.
| Area | Type of compartment | Recommended temperature |
| Frozen food compartments | 0 star compartment (depending on model) | 0°C |
| 1 star compartment (depending on model) | -6°C | |
| 2 star compartment (depending on model) | -12°C | |
| 3 star compartment (depending on model) | -18°C | |
| 4 star freezer drawers/shelves (depending on model) | -18°C |
- Place the food in the locations recommended in the tables below.
Frozen food compartments (compartments available depending on model)
| Freezer compartments | Logos & Markings | Type of food |
| 0 star compartment | To store sorbet for a few hours and make ice cubes. This compartment is not suitable for freezing fresh food. | |
| 1 star compartment |
| To store frozen products for a few hours and make ice cubes. This compartment is not suitable for freezing fresh food. |
| 2 star compartment | ![]() | To store frozen products for a few days, make ice cream and ice cubes. This compartment is not suitable for freezing fresh food. |
| 3 star compartment | ![]() | To store frozen products for a few weeks/months and make ice cubes. This compartment is not suitable for freezing fresh food. |
| 4 star freezer drawers/shelves | ![]()
| To freeze food and store:
|
INSTALLATION
Care before installation
Before installing the appliance and connecting it to the power, wash the interior and all internal accessories with lukewarm water and some neutral soap so as to remove the typical smell of a brand new product, then dry thoroughly.
Never use detergents or abrasive cleaners, they will damage the inside coating.
When using the appliance for the first time or after a period of non-use, before putting the food in the compartment let the appliance run at least two hours on the higher settings.
Location
Warning! Never expose the appliance to a naked flame.
- Install the appliance in a dry and well ventilated place.
- The appliance should be located far from heat sources like radiators, boilers, sunlight, etc.
- Your appliance is designed to function optimally at a given ambient temperature. In this case, it is said to be designed for a particular “climate class”. The climate class is clearly shown on the ID plate (see the “Contact” chapter). The refrigerator may not maintain satisfactory inside temperatures if it operates outside of the temperature limits set for the “climate class” it is designed for. Ensure that the chosen location is compliant with these temperature limits:
| Class | Ambient temperature |
| SN | This refrigeration appliance is designed for use at ambient temperatures between 10°C and 32°C |
| SN-ST | This refrigeration appliance is designed for use at ambient temperatures between 10°C and 38°C |
| SN-T | This refrigeration appliance is designed for use at ambient temperatures between 10°C and 43°C |
| N | This refrigeration appliance is designed for use at ambient temperatures between 16°C and 32°C |
| ST | This refrigeration appliance is designed for use at ambient temperatures between 16°C and 38°C |
| T | This refrigeration appliance is designed for use at ambient temperatures between 16°C and 43°C |
- Based on the above, avoid locating your appliance on balconies, verandas, terraces, in garages, etc. Excessively high temperature in summer and excessively low temperatures in winter can prevent it from functioning properly and therefore properly conserving food.
- Appliance levelling is achieved by adjusting one or more adjustable feet located under the unit (refer to the “Levelling the appliance” section).
If your appliance is fitted with casters, then remember that they should only be used for short movements. Do not move the appliance over long distances on its casters.
Door Reversibility
Tool required: Philips screwdriver, Flat bladed screwdriver, Hexagonal spanner.
- Ensure the unit is unplugged and amply.
- To take the door off, it is necessary to tilt the unit backwards. You should rest the unit on something solid so that it will not slip during the door reversing process.
- All parts removed must be saved to do the reinstallation of the door.
- Do not lay the unit flat as this may damage the coolant system.
- It’s better that 2 people handle the unit during assembly.
Required tools: Flat screwdriver, cross (Phillips) screwdriver, spanner.
- Carefully remove the hinge cover using a flat screwdriver.

- Unscrew the upper hinge.

- Remove the hole cover

- Transfer it from left to right, then remove the upper door and place it on a flat padded surface to prevent it from being scratched.

- Unscrew the mounting plate with the lower hinge pin and refit it.

- Transfer the lower hinge from left to right. Refit the two adjustable feet.

- Place the door back on. Ensure the door is horizontally and vertically aligned so that the seals are tight on all sides before tightening down the upper hinge. Then insert the hinge and screw it onto the top of the appliance.

- Reclip the hinge cover and refit the hole cover onto the top of the appliance.

- Remove the seals from the refrigerator and the freezer doors. Pivot and refit them.

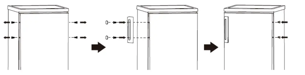
Install door external handle

Space required
- Choose a location that is not directly to sunlight.
- Choose a location with enough space so that the refrigerator can open easily.
- Allow a safety distance to the right (F), to the left (F), to the rear (D) and above (E) the appliance when installing it. This allows optimising product performance, reduces your power consumption and therefore limits your electricity bill (see diagram below).
- Make sure that air can freely circulate behind the appliance.

Note that this appliance is not designed for built-in installation.
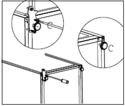
Levelling the appliance
Choose a place to install the refrigerator on a flat surface.

If the appliance is not level, the doors will not be correctly aligned and compartment sealing will not be ensured.
To level the appliance laterally, adjust the two adjustable feet on the front of the product.
Once the appliance is installed, ensure that it is slightly inclined rearwards. In this way, it will be easier to close the door. If necessary, adjust the setting of the adjustable feet.
Procedure for adjusting the feet at the front of the product

Electrical connections
Warning! It must be possible to unplug the appliance from the mains power, so the plug must remain easy to access after installation.
- The electric connections must meet the applicable standards and be capable of withstanding the maximum power shown on the ID plate.
- The power plug must be easily accessible and out of the reach of children.
- For your safety this appliance must be earthed. If the power plug is not earthed, consult a qualified electrician to connect your appliance in line with applicable regulations.
- Do not use extensions, adapters or multiple plugs.
- Do not place multiple plugs or portable power supply units behind the appliance.
The manufacturer declines all liability if the above-mentioned safety precautions are not complied with. If in doubt, refer to your reseller.
USE & TIPS
User interface introduction

Temperature Setting
- The temperature in the cabinet is controlled by the main control board, and the display board shows the current gear and mode.
- There are five gears to choose from. The first gear has the highest set temperature and the fifth gear has the lowest set temperature.
- User self setting mode: press the “setting” key, the LED gear indicator will flash, and the gear can be adjusted at this time. Each time you press this key, the temperature? setting cycle will be gear 1, gear 2, gear 3, gear 4 and gear 5. After flashing for 5 seconds, it will be determined. Normally, gear 3 is recommended.
- SUPER freezing mode: press and hold the “setting” key for 3S to enter the SUPER freezing mode, and the “super” indicator light is on;
- Press the “setting” key for 3S again to exit the quick freezing mode, and the “super” indicator light goes out.
Ice cubes
This appliance can accept one or more ice cube trays for making ice cubes.
Freezing tips
To help you optimize the freezing process, here are some important tips:
- The maximum amount of food that you can freeze every 24 hours can be found on the ID plate.
- The freezing process takes 24 hours. Do not add any more food to freeze during this time.
- Only freeze good quality, fresh and properly washed food.
- Prepare food in small portions to enable it to be rapidly and completely frozen and to make it possible to subsequently thaw only the quantity required.
- Wrap up the food in aluminum foil or polyethylene food wraps which are airtight.
- Do not allow fresh, unfrozen food to touch the food which is already frozen to avoid raising their temperature.
- Iced products, if consumed immediately after removal from the freezer compartment, may cause frost burns to the skin.
- We recommend labelling and dating each frozen package.
- To obtain ice cubes faster, we recommend placing the ice cube trays in the top drawer.
Thawing food
- Before eating, frozen or deep frozen food may be thawed in the refrigerator compartment or at ambient temperature, depending on the time available.
- Some food may also be cooked directly when taken out of the freezer, while it is still frozen. In this case, cooking will take longer.
Important
In the event of accidental thawing, caused for example by a power break, quickly eat the thawed food. Never refreeze thawed food.
Hints for the storage of frozen food
To guarantee optimum performance, comply with the following instructions:
- Ensure that frozen food has been stored correctly by the food retailer.
- Ensure that frozen food is quickly carried from the retailer to your freezer.
- Do not open the door too often or avoid leaving the door open longer than necessary.
- Once thawed, food will deteriorate rapidly and should never be refrozen.
- Do not exceed the storage states shown on the food.
CARE & CLEANING
Warning!
Always unplug your appliance before any maintenance work. Never pull on the power cord, but only on the plug itself.
Cleaning
For hygiene reasons, regularly clean the appliance (sidewalls and interior and exterior accessories).
Important!
Ethereal oils and organic solvents can damage plastic parts, e.g. lemon juice, butyric acid or acetic acid.
- Do not allow such substances to come into contact with appliance parts.
- Do not use any abrasive cleansers.
- Remove food from the appliance. Store it in a cool place and keep well covered.
- Clean the appliance and the interior accessories with a cloth and lukewarm water with a diluted white vinegar or bicarbonate of soda solution.
- After cleaning them, rinse surfaces with clear water and dry them.
- After everything is dry, plug the appliance back into the plug.
Never clean the appliance with a steam cleaner.
Replacing the light
The light inside the fridge uses a LED. To replace it, please contact your after sales service or an approved technician.
Defrosting the freezer
Warning! No thawed food may be replaced in the freezer. Place it in the refrigerator then eat it quickly.
A thin coating of frost will slowly form on the inside walls of the freezer. This layer should be removed. Never use a sharp object as it could damage the appliance.
For hygiene and food conservation reasons, we recommend defrosting the freezer at least once a year by proceeding as follows:
- Pull out the mains plug from the mains socket.
- Remove any food from the compartment and place it in a special container to ensure that there is no break in the cold chain (e.g. in an ice box or insulated bag, etc.).
- Leave the freezer door open (NB: leave the refrigerator door closed) and place a basin under the appliance to recover the water from defrosting. You can also speed up this process by placing a bowl of hot water inside the compartment.
- Once defrosting is complete, dry the inside properly.
- Plug the power cord back in to return the appliance to service.
- Wait until the freezer has reached the recommended temperature before putting the food back in it.
Refreezing a thawed product encourages the spread of bacteria. This may become a health hazard if the bacteria that spreads are pathogens, as these may cause more or less serious food poisoning depending on the type of bacteria involved. If in doubt, cook the food involved.
Troubleshooting
Warning! If there is any anomaly, unplug your appliance. Only a qualified electrician or competent person may carry out troubleshooting.
If there is any anomaly during operation, check the following points before calling our approved after sales service or a qualified professional.
| Problem | Possible cause | Solution |
| Appliance does not work. | The power cord is not plugged in or is loose. | Connect the power cord. |
| Fuse has blown or is defective. | Check fuse, replace if necessary. | |
| Outlet is defective. | Electrical malfunctions need to be repaired by an electrician. | |
| Appliance freezes or cools too much. | Temperature is set too cold | Turn the thermostat to a warmer setting temporarily. |
| Food is not frozen enough. | Temperature is not properly set. | Please refer to the section on setting the temperature. |
| Door was open for an extended period. | Only open the door when necessary. | |
| A large quantity of warm food was placed in the appliance within the last 24 hours. | Turn the thermostat to a colder setting temporarily. | |
| The appliance is near a heat source. | Please refer to the installation location section | |
| Heavy build- up of frost on the door seal. | The door seal is not sealing. | Carefully warm the leaking sections of the door seal with a hair dryer (on a cool setting). At the same time, handle the heated door seal with your hands to ensure that the appliance seals. |
| Unusual noises | The appliance is not level. | Readjust the feet. |
| The appliance is touching the wall or other objects. | Move the appliance slightly. | |
| A component, e.g. a pipe, on the rear of the appliance is touching another part of the appliance or the wall. | If necessary, carefully bend the component out of the way. |
Some noises may be heard during normal appliance operation (compressor operating cycle, automatic defrosting, circulation of the refrigerating gas through the appliance, etc.).
If you cannot find the cause of the anomaly, only call our approved after sales service or a qualified professional.
CONTACTS & INFORMATION
Customer Relations
For more information about our products or to contact us, please:
Visit our website: www.brandt.com
Servicing and repairs
A qualified professional accredited must make any repairs to your appliance; When making contact, mention the complete reference of your appliance (model, type, serial number). This information is provided on the ID plate located at the bottom left of the refrigerator (above the shelf or behind the crisper).

| Reference | |
| Serial number | |
| Type | |
| Model | |
| Service Reference |
You can find a list of approved service centres on our website www.brandt.com This website also allows access to information on spare parts.
Original replacement parts
When any maintenance work is being performed, ask that only certified original spare parts be used..
The minimum length of time for making available spare parts listed in European Regulation 2019-2019-EU and accessible especially to the appliance user is 10 years under the terms set out in the above regulation.
Guarantee
Please contact your reseller to benefit from the guarantee. The manufacturer does not offer any commercial guarantee for the refrigeration appliance.






























