UNIROOF 300 Welder
Instruction Manual

Congratulations on your purchase of the UNIROOF 700/300.
You have chosen a first-class hot-air welder.
It was developed and produced in accordance with the latest state-of-the-art technology in the plastics-processing industry.
It has also been manufactured using high-quality materials.
We recommend that you always keep the instruction manual with the device.
UNIROOF 700/300
Hot-air welder
You can find more information on the UNIROOF 700/300 at www.leister.com
Important safety instructions
Read through the operating instructions before commissioning for the first time.
In addition to the safety instructions contained in the individual sections of this instruction manual, the following regulations must always be observed.
Warning
Danger to life
Before opening the device, pull the power plug out of the socket, because voltage-bearing components and connections will be exposed when it is opened.
The danger of fire and explosion
Risk of fire and explosion caused by improper use of the automatic welding machine (such as material overheating), particularly in the vicinity of flammable materials and explosive gases.
Risk of burning
Do not touch the heating element tube and nozzle when they are hot. The device should always first be allowed to cool down.
Never point the hot air flow at people or animals.
Caution
Connect the device to an outlet with a protective conductor. Any interruption of the protective conductor inside or outside of the device is dangerous.
Only use extension cables with protective conductors.
The local supply voltage must match the nominal voltage specified on the device. Maximum network impedance according to EN 61000-3-11 / UL 499 / CSA C22.2 No 88: Zmax = 0.141 Ω + j 0.088 Ω.
In case of doubt, the responsible electricity supply company should be contacted.
If the line voltage fails, then the main switch and the drive must be switched off (extend the hot-air blower).
If the device is being used on construction sites, a fault current circuit breaker must be used to protect site personnel.
Do not touch moving parts.
There is a risk of inadvertently becoming caught and being pulled in. Do not wear loose articles of clothing such as scarves or shawls. Tie up long hair or protect it by wearing headgear.
The device may only be operated under supervision as waste heat can reach flammable materials.
The device should only be operated by trained specialists or under their supervision. Children are not permitted to operate the device.
Protect the device from moisture and wet conditions.
Two persons are required for transporting the machine with the transport box.
1.1 Intended use
UNIROOF 700/300 is intended for professional use on flat roofs and sloping roofs up to a 30-degree angle of inclination.
Only use original Leister spare parts and accessories; otherwise, any warranty or guarantee claims will be invalidated.
Welding procedures and types of materials
- Overlap welding of thermoplastic sealing sheets/elastomer sealing sheets (such as TPO, PVC, ECB, modified EPDM, EVA, FPO, PIB, PMI, PO, PP)
- Overlap welding for base seams
- Near-edge welding on the verge (roof parapets and eaves) up to 100 mm
- Welding on the verge (roof parapets and eaves)
- Welding widths 20, 30, 40 mm.
- Welding with Leister Quality System (LQS) with GPS and automatic data documentation of the seam joint
1.2 Non-intended use
Any other use or any use beyond the type of use described is deemed to be a non-intended use.
Technical data
| UNIROOF 700 UNIROOF 700 UNIROOF 700 1001/ 120V 220 — 240 V | ||
| V∼ | 100120230 | |
| W | 150018003680 | |
| Hz | 50/60 | |
| ºc °F | 100 — 620 212 — 1148 | |
| % | 45 —100 | |
| m/min ft/min | 1 —10 3.2 — 32.8 | |
| LpA (dB) | 70 (K . 3 dB) | |
| kg* Ibs* | 17.0 37.5 | |
| a)mm / inch b)mm / inch c)mm / inch | 475 / 18.7 244 / 9.6 260 / 10.2 | |
| UNIROOF 700 UNIROOF 700 UNIROOF 700 1001/ 120V 220 — 240 V | ||
| V∼ | 100120230 | |
| W | 150018003680 | |
| Hz | 50/60 | |
| ºc °F | 100 — 620 212 — 1148 | |
| % | 45 —100 | |
| m/min ft/min | 1 —10 3.2 — 32.8 | |
| LpA (dB) | 70 (K . 3 dB) | |
| kg* Ibs* | 17.0 37.5 | |
| a)mm / inch b)mm / inch c)mm / inch | 475 / 18.7 244 / 9.6 260 / 10.2 | |
Transport
Comply with applicable national regulations regarding the carrying or lifting of loads.
The weight of your UNIROOF 700/300, including the transport box, is 21.5 kg (17.0 kg without the transport box, including 3 weights).
Use only the transport box included in the scope of delivery (see
the scope of delivery [4.2]) and the handle fitted on the transport box for transporting the hot air welder.
The hot-air blowers (10) MUST be allowed to cool down prior to transport.
Never store flammable materials (such as plastic, wood, or paper) in the transport box.
Never use the carrying handle (5) on the device or on the transport box for transporting with a crane.
Never lift the hot air welder by the additional weights (7)!

To lift up the hot air welder by hand, use the carrying handle (5).

To position, the hot air welder, press the guide bar (22, 24) and then roll it into the desired welding position.
Your UNIROOF 700/300
4.1 Type plate and identification
The model and serial number are indicated on your device’s type plate (20). Transfer this information to your operating instructions; in the event of any inquiries to our representatives or authorized Leister service center, please always refer to this information.
Model:…………………………………………………………………………………………………………………………………………..
Serial no.: ………………………………………………………………………………………………………………………………………
Example:

4.2 Scope of delivery (standard equipment in the case)
- 1 x UNIROOF 700/300 device
- 1 x weight, laterally mounted
- 1 x weight, laterally hooked in
- 1 x weight, mounted at rear
- Movable transport axle (patent EP3 028 836 pending), 220 mm, mounted
- Guide bar, folded in
- Upper handle, separate in the case
1 x wire brush
2 x welding protection plate
1 x hexagonal pin spanner, size 4
1 x safety instructions
1 x Quick Reference Guide
1 x folding brochure
4.3 Overview of device parts

| 1. Power cord | 15. Hot-air blower lock |
| 2. Control panel | 16. Track guide roller |
| 3. Housing | 17. Clamping plate for movable transport axle |
| 4. Opening for fastening any holding/carrying handles and device fastening equipment | 18. Star knob screw for detaching the movable transport axle |
| 5. Carrying handle | 19. Main switch (On/Off switch) |
| 6. Holder for the power cord (with carabiner for hooking up) | 20. Type plate with model designation and series marking |
| 7. Additional weights at the rear/on the side | 21. Locking screw (guide bar) |
| 8. Drive/pressure roller (Patent EP3 028 836 issued) | 22. the Lower part of the guide bar |
| 9. 40 mm welding nozzle | 23. Clamping lever, guide bar, the top part |
| 10. Hot air blowers | 24. Guide bar, the top part |
| 11. Starting switch | 25. Spiral holder for power supply cord |
| 12. Swivel-in mechanics | 26. Press-down belt |
| 13. Transport roller | 27. Deflection roller |
| 14. Movable transport axis (Patent EP3 028 836 granted) |

Settings on the UNIROOF 700/300
5.1 Adjusting the welding nozzles

Retool the drive/pressure roller (8) and welding nozzle (9) to match the desired welding width as needed (see
Retooling for different welding width [5.5]).

5.2 Additional weights for increasing the contact pressure weight

- The weight is transferred to the drive/pressure roller (8).
- As required, the additional weights (7) included in the scope of delivery can be attached (weight on the side 2 kg, weights at the rear 1.5 kg each, total 11.5 kg).
5.3 Adjusting the guide bar
- Move the guide bar lower part (22) with the locking screw (21), then guide bar upper part (24) with the clamping lever (23) into the desired position (angle).

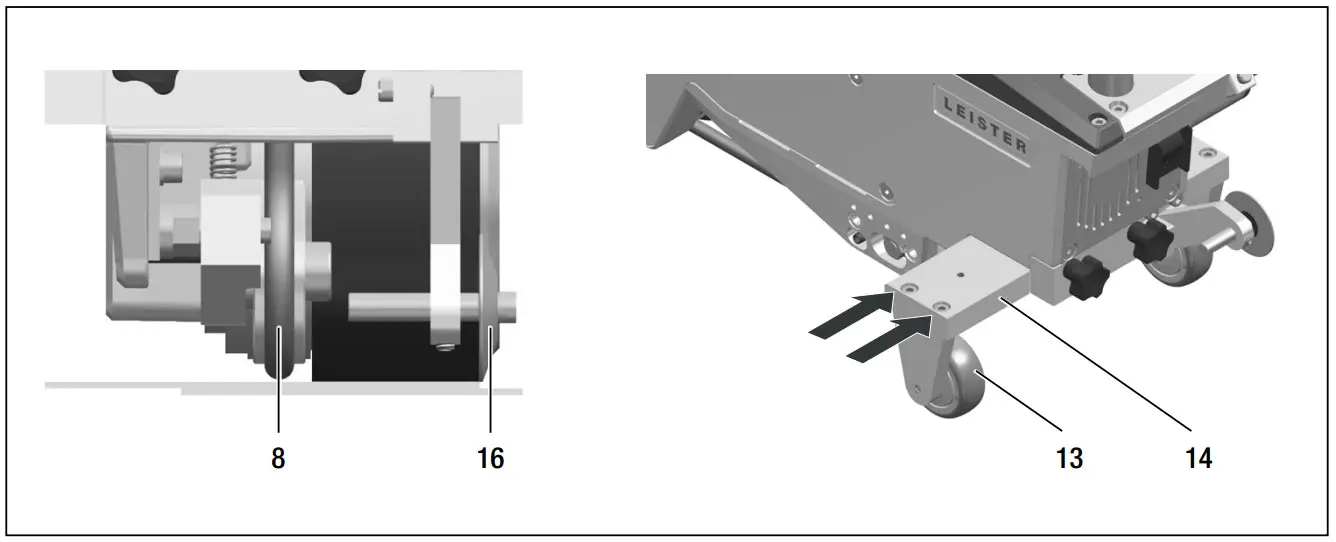
5.4 How to set the movable transport axle (patent EP3 028 836 pending)

- Loosen both star grip screws (18) on the clamping plate for the movable transport axis (17).
- Bring the movable transport axle (14) into the required position (see illustration).
- Re-tighten the star knob screw (18) on the clamping plate for the movable transport axle (17).

5.5 Retooling for different welding widths
To retool to a different welding width, proceed in accordance with the sequence described below.
Step 1: Safety precautions
Allow the device to cool down in cool-down mode.
Before beginning with dismantling work, make sure that the device has been switched off at the main switch (19) and that the power supply cord (1) is disconnected from the power supply.
Step 2: Adjusting the roller width (analogous to the 20-, 30-, or 40-mm welding nozzle)
- Undo the two M4 x 12 cheese-head screws.
- Remove the cover plate.
- Replace the intermediate rings of the drive/pressure roller (8) and the press-down belt (26).
- Mount the cover plate.
- Retighten the two M4 x 12 cheese-head screws.


Step 4: Changing the welding nozzle (20, 30, 40 or 80 mm)

- Loosen the 4 Torx screws.
- Remove the currently mounted welding nozzle (9).
- Insert the desired welding nozzle (9).
- Adjust the welding nozzle (9) (see Adjusting the welding nozzles [5.1]).
- Retighten the 4 Torx screws.
Commissioning your UNIROOF 700/300
6.1 Work environment and safety
Health risk
Welding PVC materials creates harmful hydrogen chloride vapors. The hot air welder should be used
only in well-ventilated indoor areas.
Read the material safety data sheet from the manufacturer of the material and follow that company’s instructions. Be careful not to burn the material during the welding process.
The danger of fire and explosion
Never use the hot-air welder in explosive or readily inflammable surroundings. Maintain sufficient distance from combustible materials or explosive gases at all times.
Caution
The device should only be used on a horizontal (roof slope up to 30°) and fireproof support.
Caution
Comply with national statutory requirements regarding occupational safety (securing personnel or devices).
Anti-fall protection when working in areas where there is a danger of falling.
When welding on roof parapets (parapet, eaves), the hot air welder on the carrying handle (5) must be secured to a stop fixture with horizontal guides (such as rail or rope safety systems) as protection against falling.
With respect to the safety chain, care must be taken to ensure that all of the safety elements (carabiner hooks, ropes) have a minimum load-carrying capacity of 7 kN in every direction that can be anticipated.
For the suspension of the machine, it is mandatory to use clasp carabiners (Twist-Lock or screw types). All safety chain connections must be installed and checked in accordance with manufacturer specifications.

Before each use and after unusual occurrences, the carrying handle (5) that is used for fastening the safety rope must be inspected by an individual with expertise in this area. The carrying handle (5) is not permitted to exhibit any cracks, corrosion, notches or other material faults.
The additional weights must be reliably secured with the safety clamps (1 each at the front and rear) provided for this purpose.

Caution
Only secure the hot air welding machine by the carrying handle (5).
Caution
The hot wedge welding machine must never be fastened to single anchoring points which allow ropes to sag. The connection equipment must always be set to the shortest length possible in order to eliminate any chance of falling over the edge of the parapet.

Caution
The effects of gravity mean a danger of uncontrolled falling or sinking. The securing point is not designed to withstand the shock-like stress of an abrupt fall.
Absolutely contact the manufacturer if anything is unclear during installation or operation.

In cases of supply power failure, during work interruptions, or when cooling down, you must swivel the hot-air blowers (10) into the park position and allow them to engage there.
Take care to ensure that the hot-air blower lock (15) engages.
Power cord and extension cable
- The nominal voltage specified on the device (see technical data [2]) must match the supply voltage.
- The power cord (1) must be able to move freely and must not hinder the user or third parties during work (trip hazard).
- The extension cables must be authorized for the utilization site (such as, outdoors) and be marked accordingly.
Take the necessary minimum cross-section for extension cables into account as required.
On-site generators for power supply
When using on-site generators as a power supply, please ensure that the on-site generators are grounded and equipped with residual-current circuit breakers.
For the nominal output of the power plants, the formula “2 x nominal output of the hot-air welder” applies.
6.2 Operating readiness
Hook up the strain relief of the power supply cord (1) into the spiral holder (25) and then check the basic setting of the welding nozzle (9).
6.3 Positioning the device
- Check whether the material to be welded is clean between the overlap on both the upper and lower sides.
- Then check whether the welding nozzle (9), drive/pressure roller (8), deflection roller (27), and press-down belt (26) are clean.
- Swivel the hot-air blower (10) so it engages in the park position.
- Now raise up the hot air welder by the guide bar (22, 24) and move the device to the desired welding position.
- Now position the welding plate (see the scope of delivery[4.2]) and then swivel the track guide roller (16) downwards.
- Take care to ensure that the track guide roller (16) is positioned parallel to the drive/pressure roller (8).

Caution
The effects of gravity mean a danger of uncontrolled falling or sinking. The securing point is not designed to withstand the shock-like the stress of an abrupt fall.
Absolutely contact the manufacturer if anything is unclear during installation or operation.
Operation of your UNIROOF 700
7.1 Starting the device
- Once you have prepared the working area and the hot air welder in accordance with the description, connect the hot air welder to the supply voltage.
- Use the main switch (19) to switch the hot-air welder on.

After startup, the Start screen will appear briefly in the display, with the version number of the current software release and the device designation.

If the device was allowed to cool down beforehand, this will be followed by a static display of the setpoints of the most recently used profile (the Basic profile is displayed when the device is first commissioned).
The heating is not yet switched on at this stage.
- Select the desired welding profile or define the welding parameters individually.
- Now switch the heating on with the heating On/Off button (31).

If the device was allowed to cool down beforehand, this will be followed by a static display of the setpoints of the most recently used profile (the Basic profile is displayed when the device is first commissioned).
The heating is not yet switched on at this stage.
- Select the desired welding profile or define the welding parameters individually.
- Now switch the heating on with the heating On/Off button (31).
7.2 Welding sequence
Preparing for welding
As soon as you have switched on the heating, you will see a dynamic display of the current air temperature with a progress bar (setpoint and actual values).
- Make sure that the welding temperature has been reached before commencing work (the heating time is 3–5 minutes).
- Now carry out test welds in accordance with the welding instructions of the material manufacturer and/or national standards or regulations and inspect the results. Adjust the welding profile as required.
Start welding
- Pull the hot-air blower lock lever (15), lower the hot-air blower (10) and guide the welding nozzle (9) between the overlapping sheets up to the stop.
- The drive motor starts automatically as soon as the hot-air blower (10) is engaged.
- You can also start the device manually with the Drive On/Off button (30).
- Guiding the device during the welding process
- Guide the hot-air welder by the guide bar (22, 24) or by the carrying handle (5) along the overlap and also observe the position of the track guide roller (16).
- Avoid applying pressure to the guide bar (22, 24) during the welding process, since this may lead to welding faults.
7.3 Finishing welding
- After finishing welding, pull the hot-air blower lock lever (15), extend the hot-air blower (10) up to the stop (this stops the drive motor) and swivel it upwards until it engages.
- Then swivel the track guide roller (16) upwards.
7.4 Switching off the device / Maintenance
Use the Heating On/Off button (31) to switch off the heating, so the welding nozzle (9) cools down.
This will trigger the cool-down mode.
- The blower switches off automatically after approx. 6 minutes.
- Now switch off the device with the main switch (19) and disconnect the power cord (1) from the electrical network.

- Wait until the device has cooled down.
- Check the power cord (1) and plug for electrical and/or mechanical damage.
- Use a wire brush to clean the welding nozzle (9).
Quick Reference Guide UNIROOF 700
8.1 Switching on/Starting
- Make sure that the main switch (19) is switched off and the hot-air blowers (10) are in the parking position.
Connect the supply voltage plug. - Switch on the main switch (19).
- Switch on the heating with the heating On/Off (31) button; wait 3–5 minutes until the desired temperature is reached.
- Swivel the hot-air blower (10) downwards (the machine starts automatically).
8.2 Switching off
- Swivel the hot-air blowers (10) upwards (stops the drive motor).
- Switch off the heating with the Heating On/Off button (31) and wait for the cooling process to finish (approx. 5 minutes).
- Switch off the main switch (19).
- Pull out the supply voltage plug

Control panel of the UNIROOF 700
The control panel (2) is comprised of the function buttons with which you control the various menu functions and the display where the respectively selected setting, menu options or the values valid for the running time are displayed.
9.1 Function buttons

30. Button Drive On/Off
31. Button Heating On/Off
32. Buttons Back/reduce and Advance/increase
33. Button Confirm
34. Button Menu
Multiple allocations of function buttons Control panel (2) / Symbols Display
| Symbol | Name | In the work display (41) | In the menu, after pressing the button (34), briefly press |
| Button Drive On/Off (30) | Selection of line when editing text | ||
| Button Heating On/Off (31) | Selection of line when editing text | ||
| Buttons Plus/Minus (32) | |||
| short press | Sets the required setpoint in 0.1m/min, 10°C or 5% steps | Changing the position/changing the menu, setting parameters | |
| press and hold | Rapid setting of the required setpoint | Changing the position/changing the menu, setting parameters | |
| Button Confirm (33) | The set value is applied and shown in the Menu selection (42). | The desired function or menu is executed. | |
| Button Menu (34) | Switching to the menu area | Return to the working display | |
9.2 Display
The display is subdivided into two display areas:
9.3 Setting the welding parameters
To adjust a welding parameter before welding, proceed as follows:
Example for setting the welding temperature

Press the Minus (32) button to select the temperature and then the Confirm (33) button.

You can now use the Minus/Plus (32) buttons to set the desired temperature setpoint. If you do not make any more entries, the cursor automatically jumps back to the temperature symbol. Use the Minus/Plus (32) buttons to select the next welding parameter, if desired.
During the welding process, the cursor is always on the Drive icon. You can adjust the welding speed at any time using the Minus/Plus (32) buttons.
If you want to adjust another parameter, first press the Confirm (33) button.
Then you can select the desired parameter with the Minus (32) button.
Now press Confirm (33). button.
You can now use the Minus/Plus (32) buttons to set the desired setpoint. If you do not make any further entries, the cursor automatically jumps back to the Drive icon if Info Mode is not switched on.
9.4 Display symbols of the status display (Display 40)
The Status display is subdivided into a left-hand (1) and a right-hand area (2).
| Status display 1 / Left | ![]() |
| Profile name | Displays the name of the selected currently valid welding profile (such as Basic). If a profile name contains more than 6 characters, the first 6 characters are shown first, one after the other, followed by the remaining 6 characters. The system presents the first 6 characters afterward. |
| Voltage | Display of the supply voltage |
| Status display 2 / Right | ![]() |

9.5 Display symbols of the work display (Display 41)
During operation, the setpoints of the welding parameters (drive-in m/min or ft/min, the temperature in degrees Celsius or Fahrenheit, air volume in percent and, if applicable, information notes (see Info Mode: Show current values [10.10]) are displayed.
Use the Minus/Plus (32) buttons to switch between the welding parameters. By pressing the Confirm (33) button, the respective parameter can be individually adjusted with the Minus/Plus (32) buttons.
| Symbol drive/welding speed [m/min or ft/min] | |
| Symbol air temperature [°C or °F] | |
| Symbol air volume [%] | |
| The welding temperature is too low, and the heating process up arrow and progress bar show that the desired higher temperature has not yet been achieved. The flashing number above the progress bar designates the currently achieved actual value (345); the value to the right of the bar (440) shows the nominal value of the selected welding profile or of the individual setting. | |
| The welding temperature is too high, and the cooling process down arrow and progress bar shows that the desired lower temperature has not yet been achieved. The flashing value above the bar designates the currently achieved actual value (485); the value to the right of the bar (440) shows the nominal value of the selected welding profile or of the individual setting. | |
| The symbol for the Cool-down mode | |
| The symbol for the hardware error message. The device is no longer ready for operation. Contact an authorized Leister Service Center. (Note the respective error code in Section Warning and Error Messages). | |
| The symbol for the Hardware error message (heating element is defective). The device is no longer ready for operation. Contact an authorized Leister Service Center. | |
| The symbol for the Overtemperature warning message. Allow the device to cool down. |
Settings and functions of the UNIROOF 700 software
10.1 Overview menu navigation UNIROOF 700
Note: Pressing the
Menu (34) button will return you to the working display for each menu item.


10.2 Basic settings and Advanced Mode

From the default setting via the menu Settings, you can access the recipes, and display the setpoints, Eco Mode and Advanced Mode. 
If you activate Advanced Mode, further information and setting options are available.

10.3 Recipes
Recipes can be found under Select for saved recipes. To select a recipe, press the Confirm (33) button. If no recipes are available, you can create recipes under New
Use the Minus/Plus (32) buttons to select the desired recipe. By pressing the Confirm (33) button, the corresponding recipe is accepted. Exit the menu by pressing the Menu (34) button.
The message appears that a test weld must be carried out.
You can create a recipe yourself under the New menu item.
To change the name, press the Confirm (33) button.
Use the Minus/Plus (32) buttons to select characters or digits and accept with the Confirm (33) button. Line change with the drive (30) or heating (31) buttons.
To save the selected name and exit the character editor, select the check mark and then accept it with the Confirm (33) button.
You can adjust the parameters of your own recipes at any time.
To do this, in the menu Recipes select the submenu Edit by pressing the Minus (32) button.
Press the Confirm (33) button.
All customizable recipes are displayed.
Use the Minus (32) button to select the recipe to be adjusted.
Press the Confirm (33) button.
Use the Minus (32) button to select the parameter to be adjusted and then press the Confirm (33) button.
You can now set the desired value with the Minus/Plus (32) buttons.
The set value is accepted with the Confirm (33) button.
To save the setting, use the Minus (32) button to select the Save Recipe menu item and then press the Confirm (33) button.
10.4 Displaying target values (Set values)


Factory activated
If you do not wish to display the setpoint and actual value on the working display (41), you can deactivate Set Values by pressing the Confirm (33) button.
If the Set Values function is activated (factory setting), the actual temperature (high) and the target temperature (low) are shown in the work display (41).
This applies analogously to the drive (m/min) or air volume (percent).
10.5 Eco mode
Switched off at the factory
You can activate Eco Mode by pressing the Confirm (33) button.
You can set the desired time interval individually by selecting the value to be adjusted with the Minus/Plus (32) buttons.
Press the Confirm (33) button.
You can now set the value individually with the Minus/Plus (32) buttons.
To accept the set value, press the Confirm (33) button again. 
If you have activated Eco Mode and the device remains inactive for the set period of time, you will automatically switch to standby mode. The air volume is automatically reduced to 45%. In the working display (41), the standby mode is displayed with the corresponding symbol.
After the standby timer has expired without activity, the cooling process is initiated.
You can interrupt the process with the Heating On/Off (31) button.
10.6 Settings for LQS data recording
Select the LQS menu item in the menu by pressing the Minus (32) button. Then press the Confirm (33) button.

To switch on data recording, press the Confirm (33) button.
Monitored Welding
If Monitored Welding is switched on, limit values of the recorded welding parameters are logged.
Select the Monitored Welding menu item in the menu by pressing the Minus (32) button.
Then press the Confirm (33) button.
Stop Device on Alert
If Stop Device on Alert is switched on, the heating and drive are switched off if the limit value is exceeded. The limit values are specified.
The maximum permissible temperature deviation of the hot-air blower is 10°C; the permissible deviation of the drive speed is 4% and the fan speed is 4%.
If the limit value is exceeded, the machine stops automatically after 30 seconds. The Stop Device on Alert symbol is displayed in the status display (40).

If the Audible Alarm is switched on, an acoustic alarm sounds when the limit value is exceeded.
To activate the Audible alarm, select the Audible Alarm menu item in the menu by pressing the Minus (32) button and then pressing the Confirm (33) button.
If Stop Device on Alert is not enabled, you can set the alarm limit deviations individually.
Individually set limit deviation setting for Speed, Heat, and Air when Stop Device on Alert is disabled.
Select the limit value to be set by pressing the Minus (32) button and then pressing the Confirm (33) button. Use the Minus/Plus (32) button to set the limit value.
Seam Naming
Press the Minus (32) button to select Seam Naming and then press the Confirm (33) button.
Seam Name
Press the Minus (32) button to select the Seam Name and then press the Confirm (33) button. To adjust the name, press the Confirm (33) button.
Use the Minus/Plus (32) button to select characters or digits and accept with the Confirm (33) button. Line change with the buttons drive (30) or heating (31).
To save the selected name and exit the character editor, select the check mark and then accept it with the Confirm (33) button.

Rec. Interval
Select the Rec. menu item in the menu by pressing the Minus (32) button interval. Then press the Confirm (33) button.
Use the Minus/Plus (32) button to set the value for the recording interval. Pressing the Confirm (33) button accepts the set value.

Number of Files
Select the Number of Files menu item in the menu by pressing the Minus (32) button.
The number of recorded files is displayed.
Select the Free Memory menu item in the menu by pressing the Minus (32) button.
The free memory capacity is displayed.
Switched off at the factory
To switch on GPS, select the GPS menu item in the menu by pressing the Minus (32) button; then press the Confirm (33) button. The GPS coordinates of the welds are now displayed in the welding protocol.

Select the GPS Position menu item in the menu by pressing the Minus (32) button. Then press the Confirm (33) button.
With the Minus/Plus (32) button you can view the GPS position data if there is a connection to the satellite.
The symbol for GPS reception is displayed in the status display (40). If the symbol is filled out in black, satellites were found. If the symbol is not filled out, satellites are searched for.
10.7 Advanced mode settings




Note: Pressing the Menu (34) button will return you to the working display in each menu item.
If you have activated Advanced Mode, additional menu options are available.
10.8 WLAN settings
Switched off at the factory
Select the WLAN menu item in the menu by pressing the Minus (32) button. Then press the Confirm (33) button.

To switch on the WLAN, press the Confirm (33) button.

10.9 Machine settings
Select the Machine Settings menu item in the menu by pressing the Minus (32) button. Then press the Confirm (33) button.

Date and time setting
Select the Date & Time menu item in the menu by pressing the Minus (32) button. Then press the Confirm (33) button.
Here you can set the hour, minute, year, month and day. Use the Minus/Plus (32) buttons to select the value you wish to change. Then press the Confirm (33) button. Then set the desired value with the Minus/Plus (32) buttons. Then save the set value by pressing the Confirm (33) button.
Unit
Select the Unit menu item in the menu by pressing the Minus (32) button. Then press the Confirm (33) button.
Here you can select the unit of the display; metric and imperial.
You can set your selection by pressing the Confirm (33) button. If you only want to change one unit, use the Minus
(32) button to select the desired unit and then press the Confirm (33) button.


LCD Contrast
Select the LCD Contrast menu item in the menu by pressing the Minus (32) button. Then press the Confirm (33) button.
Use the Minus/Plus (32) button to set the contrast.
Pressing the Confirm (33) button accepts the set value.

LCD Backlight
Select the LCD Backlight wh or LCD Backlight rd menu item in the menu by pressing the Minus (32) button.
Then press the Confirm (33) button.
Use the Minus/Plus (32) button to set the intensity of the white backlight or red backlight.
Pressing the Confirm (33) button accepts the set value.
Backlight button
Select in the menu by pressing the button Minus (32) the menu item Key Backlight. Pressing the Confirm (33) button enables you to turn the illumination of the keyboard on or off.
Reset to defaults
Select the Reset to default menu item in the menu by pressing the Minus (32) button. Press the Confirm (33) button and then the Plus (32) button. If you now press the Confirm (33) button, all settings are reset to the factory settings.
10.10 Info Mode
Switched off at the factory
If Info Mode is activated, additional information is displayed at the work level.
The following information is displayed:
- Speed in a resolution of 1 cm/min
- Capacity utilization of the heating output in percent as well as the temperature in 1°C resolution
- Ambient temperature
- Supply voltage in 1V resolution

To activate Info Mode, proceed as follows:
Select the Info Mode menu item in the menu by pressing the Minus (32) button.
The Info Mode is activated by pressing the Confirm (33) button. 
10.11 Duty information
Select the Duty Info menu item in the menu by pressing the Minus (32) button. Then press the Confirm (33) button.
The runtimes of the machine, the drive and the blower are displayed.
In the two lines below, you can see the distances traveled as a day counter and as total run time. The day counter can be deleted.

To delete the day counter, select the menu item Trip Distance by pressing the Minus (32) button. Press the Confirm (33) button and then the Plus (32) button.
Pressing the Confirm (33) button again deletes the day counter.

10.12 General information
Select the General Info menu item in the menu by pressing the Minus (32) button. Then press the Confirm (33) button.
The following information is displayed:
- Software version HMI and PCU
- Production date of the machine
- Serial number
UNIROOF 700 Warning and error messages

In the menu, select the menu item Warnings by pressing the Minus (32) button. Then press the Confirm (33) button.
All warnings are now displayed.

If there is a warning pending, you can still continue to work largely without restrictions.
In contrast to the warning message, it is not possible to continue working once an error message has appeared.The heating is switched off automatically and the drive is blocked. The corresponding error code is immediately displayed in the working display (41).
Concrete information regarding the type of error or the warning can be called up at any time, including via the menu Settings under Show Warnings.
| Message type | Display | Error code | Description and measures |
| Warning | ![]() | — | Example warning symbol in the status display (33). Supply voltage is too high At the same time, the red backlight of the LCD module is switched on alternately |
| Error | ![]() | 8 | Error symbol and text of note (Error No. 0008/Excessive temperature) in the work display. Solution: Let the device cool down |
| Error | ![]() | 20 | Error symbol and text of note (Error No. 0020/Heating element defective) in the work display. Solution: Replace the heating element |
| Error (with address of Leister Service Center as needed)* | ![]() | 0002 0004 0008 0100 0200 0400 | Undervoltage/overvoltage Hardware error Thermoelement is defective Blower is faulty Communication module error Drive error |
FAQ, causes and actions UNIROOF 700
– The machine switches on automatically after the blowers have been switched on:
- If the air temperature is higher than 100°C when the device is switched on – which can occur, for example, if the device is disconnected from the power supply without cooling down – the device automatically switches to cooldown mode. The cool-down process is finished when the air temperature is less than 100°C for 2 minutes.
– The machine switches off automatically:
- In Standby operation, the heating is switched off automatically after the time elapses that the user has stored (see also Standby mode [10.5]).
Welding result of deficient quality:
- Check drive speed, welding temperature and air volume.
- Clean the welding nozzle (9) with a wire brush (see Maintenance [7.4])
- Welding nozzle (9) set incorrectly (see Setting the welding nozzles [5.1]).
If the set welding temperature still has not been reached after 5 minutes:
- Check the supply voltage
- Reduce the air volume
The device does not move forward in a straight line:
- Align the track guide roller (16) so that it is parallel and linear to the drive/pressure roller (8) (see welding sequence [7.2]).
- Adjust the transport roller (13) to the movable transport axle (14) (see Adjust the movable transportation axle [patent EP3 028 836 pending] [5.4])

Operation of your UNIROOF 300
13.1 Starting the device
- Once you have prepared the working area and the hot air welder in accordance with the description, connect the hot air welder to the supply voltage.
- Use the main switch (19) to switch the hot-air welder on.
After connection, the start screen appears briefly on the display of the operating unit (2) with the version number of the current software release and the device designation.

If the device was allowed to cool down beforehand, this will be followed by a static
display of the setpoints for the most recent set welding parameters.
At this stage, the heating, blower, and drive are switched off.
Now switch the heating on with the Heating On/Off button.
13.2 Welding sequence
Preparing for welding
As soon as you have switched on the heating, you will see a dynamic display of the current air temperature (setpoint and actual value). All welding parameters (welding speed, temperature and air volume) can be set.
- Make sure that the welding temperature has been reached before commencing work (LED stops flashing). The heat-up time is 3–5 minutes.
- Now carry out test welds in accordance with the welding instructions of the material manufacturer and/or national standards or regulations and inspect the results. Adjust the welding profile as required.

Start welding
- Pull the hot-air blower lock lever (15), lower the hot-air blower (10), and guide the welding nozzle (9) between the overlapping sheets up to the stop.
- The drive motor starts automatically as soon as the hot-air blower (10) is engaged.
Guiding the device during the welding process - Guide the hot-air welder by the guide bar (22, 24) or by the carrying handle (5) along the overlap, and also observe the position of the track guide roller (16) at all times.
- Avoid applying pressure to the guide bar (22, 24) during the welding process, as doing so could lead to welding faults.
13.3 Finishing welding
- After finishing welding, pull the hot-air blowers lock (15), extend the hot-air blowers (10) up to the stop, and swivel them upwards until they engage.
- Then swivel the track guide roller (16) upwards.
13.4 Switching off the device/Maintenance
- Use the heating (31) button to switch off the heating so that the welding nozzle (9) cools down.
The blower switches off automatically after approx. 6 minutes.
Wait until the device has cooled down.
Now switch off the device with the main switch (19) and disconnect the power cord (1) from the electrical network.
Check the power cord (1) and plug for electrical and/or mechanical damage.
Use a wire brush to clean the welding nozzle (9).
Quick Reference Guide UNIROOF 300
14.1 Switching on/Starting
- Make sure that the main switch (19) is switched off and the hot-air blower (10) is in the parking position. Connect the supply voltage plug.
- Switch on the main switch (19).
- Switch on the heating with the Heating On/Off (31) button; wait 3–5 minutes until the desired temperature is reached.
- Swivel the hot-air blower (10) downwards (the machine starts automatically).
14.2 Switching off
- Swivel the hot-air blowers (10) upwards (stops the drive motor).
- Switch off the heating with the Heating On/Off (31) button.
- Wait for the end of the cool-down process (approx. 5 minutes).
- Switch off the main switch (19).
- Pull out the supply voltage plug

The UNIROOF 300 operating unit
15.1 Function buttons
30. Button Drive On/Off
31. Button Heating On/Off
32. Buttons Plus/Minus
33. Button Confirm
Function buttons
| Symbol | Name | Function |
| Button Motor On/Off (30) | Switches drive on and off | |
| Button Heating On/Off (31) | Switches heating on and off | |
| Blower symbol | No function | |
| Buttons Plus/Minus (32) | Setting the required setpoint in increments of 0.1 m/min, 10°C or 5% | |
| Button Confirm (33) | Switches between the setpoint values to be set |
15.2 Display

During operation, the setpoints of the welding parameters (drive-in m/min or ft/min, the temperature in degrees Celsius or Fahrenheit), air volume in percent and, if applicable, information notes are displayed.
Use the Confirm (33) button to switch between the welding parameters and adjust the values individually with the Minus/Plus arrow (32) buttons.
15.3 Display symbols of the status display (Display 34)
Status display
| The symbol for the Cool-down mode | |
| The symbol for a warning note, a warning message or an error message: Allow the device to cool down. (see also Warning notes / Symbols for warning and error messages [17]) | |
| Reference to service. • Symbol for the hardware error message. The device is no longer ready for operation. Contact an authorized Leister Service Center. (Note the respective error code in Section Warning and Error Messages [17]). |
15.4 Display symbols for the welding speed (Display 35)
Actual and setpoint value of the welding speed
The arrow in the display for the welding speed indicates the drive direction.

15.5 Display symbols for the welding temperature (Display 36)
- Welding temperature too low, the heating process up arrow indicates that the desired higher temperature has not yet been reached. The flashing number designates the currently achieved actual value (430); the value below (450) shows the setpoint of the individual setting.
- Welding temperature too high, cool-down process.
Down arrow shows that the desired lower temperature has not yet been reached.
The flashing value designates the currently achieved actual value (470); the value below (450) shows the setpoint of the individual setting.
15.6 Display symbols for the air volume (Display 37)
Actual and setpoint value of the air volume

15.7 Status LED display
Heating
The LED on the Heating On/Off (31) button displays the condition of the heating.
| LED status Heating On/Off (31) | Condition |
| LED off | The heating is switched off. |
| LED flashes green | The heating is switched on. Temperature is outside the tolerance. |
| LED continuously green | The heating is switched on. Temperature is inside the tolerance. |
drive
The LED on the Drive On/Off (30) button displays the condition of the drive.
| LED status Drive On/Off (30) | Condition |
| LED off | Drive is switched off |
| LED continuously green | Drive is switched on |
Heating and drive
If the two LEDs for the Heating On/Off (31) button and the Drive On/Off (30) button flash simultaneously, an error is present (see Section Error message [17]).
Settings and functions of the UNIROOF 300 software
16.1 Setting the parameter units
The units for the welding speed and for temperature can be adjusted.

- Hold down the Drive On/Off (30) and Heating On/Off (31) buttons and connect the power cord to the power supply. The display now shows UNIT.
- Press the Confirm (33) button to confirm and use the Plus/Minus (32) buttons to set the desired units.
- Press the Confirm (33) button to confirm and use the Plus/Minus (32) buttons to select SAVE. Press the Confirm (33) button to confirm; the units are then saved.
The device then restarts automatically.
16.2 Setting the welding parameters
You can regulate the setpoints of the three welding parameters individually, even during operation.
During operation, the selected range automatically switches back to the row welding speed (35) after 5 seconds.
Proceed as follows:

Select:
Select the desired setpoint for drive, temperature, or air with the Confirm (33) button.
Representation:
The selected area is indicated by a bar at the side
Setting:
Use the Plus/Minus buttons (32) to adjust the selected setpoint to match your requirements.
16.3 Cool-down mode
The heating is switched off during the cool-down process. The setpoints cannot be changed during the cool-down process.
If the air temperature is more than 60°C when the device is switched on, the device switches to cool-down mode automatically.
The cool-down process is finished when the air temperature is less than 100°C for 2 minutes.
If the heating is to be switched on again, you must press the Heating On/Off (31) button.
16.4 Monitoring welding parameters for runtime
Welding speed, air temperature, and air volume are monitored continuously.
If an actual value deviates from the setpoint according to the individual settings, this is indicated in the working display (see Section Display symbols of welding temperature [15.5]). 
| Error group | Description | Measures |
| 1 | Electronics temperature measurement | Temperature > 90°C. Allow the device to cool down |
| 4 | Supply voltage | Connect the device to a different power socket. If the error is still displayed, contact the Leister Service Center. |
| 8 | Thermoelement/heating element | Contact Leister Service Center |
| 100 | Blower motor | Contact Leister Service Center |
| 400 | Drive motor | Contact Leister Service Center |
| BLOWER | Carbon brushes for the blower motor | Appears after 1400 operating hours. The carbon brushes of the blower motor must be replaced. |
FAQ, causes and actions UNIROOF 300
Welding result of deficient quality:
- Check drive speed, welding temperature, and air volume.
- Clean the welding nozzle (9) with a wire brush (see Maintenance [13.4]).
- Welding nozzle (9) incorrectly set (see Adjusting welding nozzles [5.1]).
If the set welding temperature has still not been reached after 5 minutes:
- Check supply voltage.
- Reduce air volume.
The device does not move forward in a straight line:
- Align the track guide roller (16) so that it is parallel and linear to the drive/pressure roller (8) (see Welding sequence [13.2]).
- Adjust the transport roller (13) on the movable transport axle (12) (see Adjusting the movable transport axle [Patent EP3 028 836 issued] [5.4]).

Accessories
Only use original Leister spare parts and accessories; otherwise, any warranty or guarantee claims will be invalidated.
You can find more information at www.leister.com.
Service and repair
Repairs shall be performed exclusively by authorized Leister Service Centers.
Leister Service Centers guarantee a professional and reliable repair service within 24 hours
with original spare parts in accordance with circuit diagrams and spare parts lists. You will find the address of your
authorized Service Center on the last page of these operating instructions.
You can find more information at www.leister.com.
Training
Leister Technologies AG and its authorized Service Centers offer welding courses and introductory training classes.
You can find more information at www.leister.com.
Warranty
- The guarantee or warranty rights granted for this device by the direct distribution partner/salesperson apply from the date of purchase.
- In the event of a guarantee or warranty claim (verification by invoice or delivery note), manufacturing or processing errors will be rectified by the sales partner through replacement delivery or repair.
- Other guarantees or warranty claims are excluded within the framework of mandatory law.
- Damage resulting from natural wear, overload, or improper handling is excluded from the warranty.
- Heating elements are excluded from warranty obligations or guarantees.
- Guarantee or warranty claims cannot be asserted for devices that have been converted or changed by the purchaser or for which non-original Leister spare parts have been used.
Declaration of Conformity
EU Declaration of Conformity
Leister Technologies AG, Galileo-Strasse 10, 6056 Kaegiswil, Switzerland confirms that this product fulfills the requirements of the following EU Guidelines in the models that we have made available for purchase.
Directives:
2006/42/EC, 2014/30/EU, 2014/53/EU, 2011/65/EU
Harmonized EN ISO 12100, EN 60335-1, EN 60335-2-45, EN 55014-1, EN 55014-2,
standards: EN 61000-3-2, EN 61000-3-3, EN 61000-3-11, EN 61000-6-2, ETSI EN 300 328,
EN IEC 63000
Name of authorized representative for documentation: Thomas Schäfer, Manager Product Conformity
Kaegiswil, 04/14/2021
![]()
Bruno von Wyl, CTO
![]()
Christoph Baumgartner, GM
Disposal
Do not dispose of electrical tools in household waste.
Electrical equipment, accessories, and packaging should be recycled in an environmentally friendly manner.
Your authorised Service Centre is:
Sales and service center
Leister Technologies AG
Galileo-Strasse 10
CH-6056 Kaegiswil/Switzerland
Tel. +41 41 662 74 74
Fax +41 41 662 74 16
www.leister.com
[email protected]























