PENTAIR AQUALUMIN III Nicheless Pool Light

Product Information
The AquaLumin III Nicheless Pool Light is a light fixture designed for use in fresh water pools, spas, and hot tubs. It is not suitable for use in ocean salt water pools, spas, and hot tubs. The product should be installed with the AquaLumin III Nichless Pool Light Mounting Brackets manufactured after June 6, 1994, including Vinyl Mounting Bracket Assembly 1 (P/N 78887800) and Vinyl Mounting Bracket Assembly 3/4 (P/N 78887700). The product kit required for installation includes all parts necessary for installing the light in a new installation.
Product Usage Instructions
Before installing the light fixture, always read and follow the safety instructions provided in the user manual. When installing the product during new vinyl pool construction, follow the instructions provided in Section 1 of the user manual. If replacing a light fixture in an existing pool, follow the instructions provided in Section 2. If replacing a lamp only, refer to Section 3 of the manual. It is important to note that the light lens may get hot when in use, and users should avoid contact with the light as serious burns may result from prolonged contact. Additionally, always install a new lens gasket when reassembling the light to prevent water from leaking into the assembly and causing electrical hazards or damage to property. When connecting the light wires to the corresponding circuit wires in the Junction Box, connect all three light wires (or two light wires) to the black wire for power, white wire for common, and green wire for ground. The product transformer can be used to power luminaries, as shown in the diagram provided in the user manual.
IMPORTANT NOTICE
- This AquaLumin III Nicheless Pool Light will install only with the following AquaLumin III Nichless Pool Light Mounting Brackets, manufactured after JUNE 6, 1994:
- Vinyl Mounting Bracket Assembly 1″ (P/N 78887800 – For more information see page 2)
- Vinyl Mounting Bracket Assembly 3/4″ (P/N 78887700 – For more information see page 2)

AquaLumin III Nichless Pool Light – Manufactured after June 6, 1994
- WARNING! DO NOT install the AquaLumin III Nichless Pool Light in ocean salt water pools, spas and hot tubs. The AquaLumin III Nichless Pool Light is designed for use in fresh water pools, spas and hot tubs (including those using salt chlorine generators).
- WARNING! THE LIGHT LENS MAY GET HOT WHEN IN USE. USERS SHOULD AVOID CONTACT WITH THE LIGHT AS SERIOUS BURNS MAY RESULT FROM PROLONGED CONTACT WITH THE LIGHT.
Contact Technical Support at: (800) 831.7133
Web sites: visit www.pentairpool.com and www.staritepool.com
IMPORTANT NOTICE
Kits required for installation Required for new installation (Contains all parts required to install light in a new installation) 78887700 3/4 inch conduit 78887800 1 inch conduit The following part may be required for new light in an existing installation (Contains only the mounting parts on the water side of the vinyl liner) 619547 Bracket Wall Mount Assembly
Follow these guidelines when installing Pentair Aquatic Systems Pool and Spa fixed luminaries: Before Installing luminaries read the following:
WARNING! Always install a new lens gasket (see part number in User’s Guide), when ever reassembling the light. Failure to do so may permit water to leak into the assembly which could cause; (a) an electrical hazard resulting in death or serious injury to pool users, installer, or others due to electrical shock, or (b) breakage of the lamp or lens, which likewise could result in serious injury to pool user, installers, or bystanders, or in damage to property.
REPLACE ANY CRACKED PROTECTIVE SHIELD (CRACKED LENS) WITH NEW LENS AND GASKET.
- FOR 12 VAC LUMINARIES: ALWAYS USE A SEPARATE SAFETY ISOLATION TRANSFORMER TO POWER LUMINARIES. See diagram below.
Note: Connect all three light wires (or two light wires) to the corresponding circuit wires in the Junction Box. For 3-wire connection; connect black wire to power, white wire to common, and green wire to ground). - 12 VAC LUMINARIES SPECIFICATION: 120VAC , 50/60 Hz

Luminaires not suitable for direct mounting on normally flammable surfaces (suitable ONLY for mounting on non-combustible surfaces.
Installing a mounting
Installing a mounting bracket and light fixture during new vinyl pool construction
WARNING !
DO NOT install the AquaLumin® III Nichless Pool Light in ocean salt water pools, spas and hot tubs. The AquaLumin III light is designed for use in fresh water pools, spas and hot tubs, including those using salt chlorine generators).
DANGER !
RISK OF ELECTRICAL SHOCK OR ELECTROCUTION
This Nicheless light fixture must be installed by a licensed or certified electrician or a qualified pool service person in accordance with the current National Electrical Code and all applicable local codes and ordinances. Improper installation will create an electrical hazard which could result in death or serious injury to pool users, installers or others due to electrical shock and may also cause damage to property. Always discon-nect power to the pool light at the circuit breaker before servicing the light. Failure to do so could result in death or serious injury to serviceman, pool users or others due to electrical shock.
Preparatory steps which must be completed by the electrician before light is installed, see Figure 1.
- Be sure the electrical system of the pool conforms with the requirements of the current National Electrical Code (NEC) and all local codes and ordinances. A licensed or certified electrician must install the electrical system to meet or exceed those requirements before the AquaLumin III Nicheless Pool Light is installed. Some of the requirements of the NEC are listed on the next page.

AquaLumin® III Nicheless Pool Light is installed. Some of the requirements of the NEC are listed below.- The lighting circuit must have a Ground Fault Circuit Interrupter (GFCI), and have an appropriately rated circuit breaker.
- The mounting bracket and mounting hub must be properly installed so that the top edge of the face ring of the Nicheless Light is at least 18 inches below the surface of the water in the pool. The top of the face ring will line up with the center of the Plastic Mounting Hub, see Figure 1 on page 3.
- If using plastic conduit, install PVC conduit adapter (provided) before installing plastic mounting hub. Use only recommended sealant for PVC/ABS threads. Position mounting hub over hole with the word “TOP” at the top, and secure with mounting flange and two (2) hex nuts and lock washers. Tighten hex nuts evenly with equal torque. When non-metallic conduit (PVC) is used, a No. 8 AWG bonding/grounding wire must be installed through the conduit from the Junction Box to the bonding/grounding lug on the mounting bracket (see Figure 3). Seal the wire/lug connection with a listed sealant such as 3M™ Scotchcast™ Potting Kit 2136 or equivalent, to protect the connection from possible pool water corrosion. See 680.23 (D).
- The junction box or the low voltage transformer shall be located at least 8 inches above the maximum water line and at least 4 inches above the ground level or pool deck whichever provides the greater elevation. The junction box shall be no less than 48 inches from the inside wall of the pool, unless separated from the pool by a solid fence, wall or other permanent barrier. See NEC 680.24
- The light fixture and all metal items within five (5) feet of the pool must be properly electrically bonded using a No. 8 AWG wire (see Figure 2). The connection point for the #8 AWG is located at the rear of the mounting assembly. See NEC 680.26.

B. Perform the following steps after the electrical system requirements are met (see Section 1A (page 3) for requirements)
- Locate position on a vertical wall where light is to be installed. The top of the light face ring must be 18 inches below normal water level as required by NEC Article 680.23 (5).
- Cut or punch a three (3) inch diameter hole through pool wall with center 18 inches below normal water level for mounting hub and mounting bracket installation.
- If using plastic conduit, install PVC conduit adapter (provided) before installing plastic mounting hub. Use only recommended sealant for PVC/ABS threads. Position mounting hub over hole with the word “TOP” at the top, and secure with mounting flange and two (2) hex nuts and lock washers. Tighten hex nuts evenly with equal torque. When non-metallic conduit (PVC) is used, a No. 8 AWG bonding/grounding wire must be installed through the conduit from the Junction Box to the bonding/grounding lug on the mounting bracket (see Figure 4). Seal the wire/lug connection with a listed sealant such as 3M™ Scotchcast™ Potting Kit 2136 or equivalent, to protect the connection from possible pool water corrosion. See 680.23 (D).
NOTE: Attach the stainless steel mounting bracket temporarily to ABS mounting hub. Perfect top and bottom alignment of ABS hub will be easier.
CAUTION: Remove mounting bracket before liner is installed. Failure to remove mounting bracket can damage the liner during installation.
- Before installing liner, be sure gasket is firmly attached to mounting hub. After liner is installed and properly stretched into position, locate bolt holes in hub and punch liner for four bracket mounting bolts. Install the mounting spacer against the liner and hold in position with mounting bracket. Secure with four (4) bracket mounting bolts and washers.
- Wrap a length of the cord up to a maximum of eight (8) feet long on the back of the light assembly. Wind a maximum of three (3) wraps of cord so the last wrap stops at the top of the light. This extra cord allows you to bring the light out of the pool to install a new lamp and for servicing.

NOTE: Leave 2″ to 3″ of slack cord at the top so that the light may be tipped back for removal. - Feed the remaining cord through the conduit hole in the mounting hub. Place hook mounting bracket over the pin on the bottom of the mounting bracket and press down lightly to secure in place. Secure at the top of the light with the captive screw. When installed properly, the housing spacer should fill any gap between the pool wall and the light.
- Cut the cord at the junction box, leaving at least six (6) inches of cord to make connections.
- Strip 6 inches of the outer cord jacket to expose the three insulated wires. Be careful not to damage the insulation on the three inner wires.
- Connect cord to electrical wires at Junction Box, be careful to not pull the three (3) in. of slack cord at the light through the conduit when connecting the wires. All wiring should be connected to a Class A Ground Fault Circuit Interrupter (GFCI), in accordance with electrical codes, see Section 1.A.1.a on page 3.
- Connect all three wires to the corresponding circuit wires in the junction box and secure the junction box cover in place.
- For lights with 2-conductor cords only (no ground wire) connect two wires to the corresponding circuit wires in the Junction Box, black wire to power, white wire to common and secure the Junction Box cover in place.
WARNING: Never operate the AquaLumin® III Nicheless Pool Light for more than 10 seconds unless it is totally submerged in water. Without total submersion, the light assembly will get extremely hot, which may result in serious burns or in breakage of the lamp or lens. This may result in serious injury to pool users, installer, or bystand-ers, or in damage to property.
WARNING: Use only the special stainless steel captive screw (see Light Assembly Parts, item 4, on page 14) provided with this AquaLumin III pool light. This screw mounts and electrically grounds the housing securely to the AquaLumin III pool light fixture. Failure to use the screw provided could create an electrical hazard which could result in death or serious injury to pool users, installers or others due to electrical shock. - Before operating the light for more than 10 seconds, fill pool until the AquaLumin III pool light fixture is completely submerged in water. To check for proper operation, turn on main switch or circuit breaker, as well as the switch which operates the AquaLumin III pool light.
Winterizing: Light should be left in place for winterization.
Replacing light fixture in existing pools
WARNING: Use only the special stainless steel captive screw (see Light Assembly Parts, item 4, on page 15) provided with this AquaLumin® III Pool Light. This screw mounts and electrically grounds the housing securely to the Nicheless fixture. Failure to use the screw provided could create an electrical hazard which could result in death or serious injury to pool users, installers or others due to electrical shock.
IMPORTANT NOTICE
This AquaLumin III pool light will install only with the following AquaLumin III pool light Mounting Brackets, manufactured after JUNE 6, 1994.
DANGER!
RISK OF ELECTRICAL SHOCK OR ELECTROCUTION
This Nicheless light fixture must be installed by a licensed or certified electrician or a qualified pool service person in accordance with the current National Electrical Code and all applicable local codes and ordinances. Improper installation will create an electrical hazard which could result in death or serious injury to pool users, installers or others due to electrical shock and may also cause damage to property. Always disconnect power to the pool light at the circuit breaker before servicing the light. Failure to do so could result in death or serious injury to ser-viceman, pool users or others due to electrical shock.
A. The following are preparatory steps which must be completed by the electrician or qualified pool service person before replacing light fixture, see Figure 7 on page 9.
- Verify the pool meets the requirements of the current National Electrical Code and all local codes and ordinances. A licensed or certified electrician must install the electrical system to meet or exceed those requirements before the Nicheless Light is installed. Some of the requirements of the current National Electrical Code which the pool’s electrical system must meet are as follows:
- The lighting circuit must have a Ground Fault Circuit Interrupter (GFCI), and an appropriately rated circuit breaker.
- The junction box or the low voltage transformer shall be located at least 8 inches above the maximum water line and at least 4 inches above the ground level or pool deck whichever provides the greater elevation. The junction box shall be no less than 48 inches from the inside wall of the pool, unless separated from the pool by a solid fence, wall or other permanent barrier. See NEC 680.24
- The light fixture and all metal items within five (5) feet of the pool must be properly electrically bonded using a No. 8 AWG wire. The connection point for the #8 AWG is located at the rear of mounting hub assembly. See NEC 680.26
- The mounting bracket must be properly installed so that the top edge of the face ring of the Nicheless Light is at least 18 inches below the surface of the water in the pool, see Figure 6.
- Consult the local building department to be certain that the pool’s electrical system meets all applicable requirements.
- Install this light fixture only in a Pentair Aquatic Systems mounting bracket. Mounting brackets made by other manufacturers may not provide proper bonding and grounding connections.

Replacing light fixture after electrical system requirements are met
- Turn off main electrical switch or circuit breaker, as well as the switch which operates the Nicheless Light.
WARNING: Failure to bring the pool’s electrical system up to code requirements before installing this AquaLumin® III Nichless Pool Light will create an electrical hazard which could result in death or serious injury to pool users, installers, or others due to electrical shock, and may also cause damage to property. - To remove light assembly, remove captive screw at top of housing, remove light assembly from mounting bracket, and place assembly on deck. Take care not to scratch the lens.
- Remove junction box cover, disconnect the light fixture wires, and pull the cord through the conduit.
- Feed the new light fixture cord through the conduit from the AquaLumin III pool light fixture to the junction box.
NOTE: Depending on the length of the conduit, special tools may be required to pull the cord through the conduit. - Wrap a length of the cord up to a maximum of eight (8) feet long on the back of the light assembly. Wind a minimum of three (3) wraps of cord so that the last wrap stops at the top of the light. This extra cord allows you to bring the light out of the pool for installation of a new lamp and for servicing.
NOTE: Leave 2″ to 3″ of slack cord at the top so that the light may be tipped back for removal. - Feed the remaining cord through the conduit hole in the mounting hub. Place hook mounting bracket over pin on the bottom of the mounting bracket and press down lightly to secure into place. Secure at top of the light with the captive screw.
- Cut the cord at the junction box, leaving at least six (6) inches of cord to make connections.
- Strip six (6) inches of the outer cord jacket from the cord to expose the three insulated wires. Be careful not to damage the insulation on the three inner wires.
- Connect cord to electrical wires at Junction Box, be sure not to pull the three (3) inches of slack cord at the back of the light through the conduit when connecting the wires. All wiring should be connected to a Class A GFCI in accordance with electrical codes, see Section 2. A.1.a on page 7.
- Connect all three wires to the corresponding circuit wires in the junction box and secure the junction box cover in place.
- Before operating the light for more than 10 seconds, fill pool until the AquaLumin III pool light is completely submerged in water. To check for proper operation, turn on main switch or circuit breaker, as well as the switch which operates the Nicheless Light.
Replacing a lamp only
The following steps may be performed by a qualified pool service person or a homeowner.
NOTE: Use ONLY the Pentair Aquatic Systems Bulb Replacement Kit when relamping (P/N 600139 -12V/100W or P/N 600138-120V/250W). See relamping installation instructions provided with the light.
WARNING Never operate this AquaLumin® III Nichless Pool Light for more than 10 seconds unless it is totally submerged in water. Without total submersion, the light assembly will get extremely hot, which may result in serious burns or in breakage of the lamp or lens. This may result in serious injury to pool users, installer, or bystanders, or in damage to property.
WARNING Use only the special stainless steel pilot screw (see Light Assembly Parts, item 4, on page 14) provided with this Nicheless Light. This screw mounts and electri-cally grounds the housing securely to the AquaLumin® III pool light fixture. Failure to use the screw provided could create an electrical hazard which could result in death or serious injury to pool users, installers or others due to electrical shock.
DANGER !
RISK OF ELECTRICAL SHOCK OR ELECTROCUTION
Always disconnect power to the pool light at the circuit breaker before servicing the light. Failure to do so could result in death or serious injury to installer, serviceman, pool users, or others due to electrical shock.
- Turn off main electrical switch or circuit breaker as well as the switch which operates the Nicheless Light.
- Unscrew the captive screw on the top of the light, then tilt the top of the light out from the wall and lift the bottom of the light out of the bracket. Unwind the excess cable that is stored in the back of the light.
- Place the light face down on the deck on a flat soft clean surface. Take care not to scratch the lens.
- Using a Phillips head screwdriver, loosen (do not remove) all ten 10 screws on the back of the light.
- Using a Phillips head screwdriver, remove the two (2) screws located at the TOP (12 o’clock) and BOTTOM (6 o’clock) on the back of the light.
- While holding the glass lens and plastic face ring, turn the light over. Rotate the face ring in a counter-clockwise direction such that the heads of the sealing screws align with the large circular holes of the keyways slots. Lift the plastic face ring away from the housing to remove the lens and lens gasket.
- To remove the lens and lens gasket, gently pull on the tabs located around the perimeter of the lens gasket. This will allow air to enter the housing and will assist with removal of the lens.
WARNING: Be sure power is OFF before installing or removing lamp. Allow lamp to cool before relamping. This light fixture uses a Halogen Quartz lamp. Do Not touch lamp with bare hands, this may severely reduce its life. Use the plastic furnished with the replacement lamp to eliminate finger prints from getting on lamp.
- To remove the lamp:
- Place the light in front of you so that the captive screw hole is at the top, and the lamp is in a horizontal position.
- Grasp the lamp on the right side.
- Push the lamp to the left, compressing the spring in the spring loaded lamp socket, until the right side of the lamp comes free from the fixed socket end.
- Install the new lamp by performing step 8, a through c, in reverse order. NOTE: Select proper lamp for either 12 volt or 120 volt applications. Take care not to touch the halogen bulb with bare hands.
WARNING Always install a new lens gasket, part number 619599Z, whenever reassembling the light. Failure to do so may permit water to leak into the assembly which could cause; (a) an electrical hazard resulting in death or serious injury to pool users, installer, or others due to electrical shock, or (b) breakage of the lamp or lens, which likewise could result in serious injury to pool user, installers, or bystanders, or in damage to property. - Never reuse the old lens gasket when reassembling the light. Replace the old lens gasket with a new genuine Pentair Aquatic Systems AquaLumin® III Pool Light lens gasket (P/N 619599Z), provided in the Bulb Replacement Kit. The orientation of the tabs on the lens gasket is not important.
- Replace the eight (8) sealing screws left in the face ring with eight (8) new sealing screws provided in the Bulb Replacement Kit. NOTE: Install the new sealing screws in the same location as those removed, leaving “TOP” (12 o’clock) and “BOTTOM” (6 o’clock) open.
- Reinstall the lens gasket, lens and plastic face ring. While replacing the lens, be sure the tabs around the perimeter of the lens gasket are not under the flange of the lens. Orientate the lens so that the word “TOP” is aligned with the captive screw hole. When reinstalling the plastic face ring, align the heads of the sealing screws with the large circular holes of the keyway slots. Press down on the plastic face ring and rotate in the clockwise direction until the sealing screws interfere with the housing (at the end of the slot).
- While holding the glass lens and plastic face ring, turn the light over and place it face down on a flat soft clean surface. Be careful not to scratch the lens.
- Insert one new sealing screw, provided with the Bulb Replacement Kit, through the circular hole located at the TOP (12 o’clock) of the back of the housing and loosely tighten it into the face ring. Insert the remaining new sealing screw through the circular hole located at the BOTTOM (6 o’clock) of the back of the housing and loosely tighten it into the face ring. The BOTTOM (6 o’clock) circular hole is accessible through a hole drilled in the center of the hook mounting bracket.
- Continue to tighten all the sealing screws into the face ring. It is recommended that opposing sealing screws be tightened in order (12 o’clock and 6 o’clock; 3 o’clock and 9 o’clock, etc.) to the recommended torque of 10-15 in-lbs. This provides even pressure on the lens and lens gasket and creates a seal between the environment and the inside of the light fixture.
- Wrap a length of the cord up to a maximum of eight (8) feet long on the back of the light assembly. Wind a maximum of three (3) wraps of cord so that the last wrap stops at the top of the light. This extra cord allows the light to be brought out of the pool for servicing. NOTE: Leave 2″ to 3″ of slack cord at the top so that the light may be tipped back for removal.
WARNING Always install a new lens gasket, part number 619599Z, whenever reassembling the light. Failure to do so may permit water to leak into the assembly which could cause; (a) an electrical hazard resulting in death or serious injury to pool users, installer, or others due to electrical shock, or (b) breakage of the lamp or lens, which likewise could result in serious injury to pool user, installers, or bystanders, or in damage to property. - Feed the remaining cord through the conduit hole in the mounting hub. Place the hook mounting bracket over the pin on the bottom of the mounting bracket. Press down lightly to secure in place. Secure at the top of the light with the captive screw.
- Before operating the light for more than 10 seconds, be sure the Nicheless Light is completely submerged in water. To check for proper operation, switch on the main switch or circuit breaker, as well as the switch which operates the Nicheless Light.
WARNING Use only the special stainless steel captive screw (see Light Assembly Parts, item 4, on page 14) provided with this Nicheless Light. This screw mounts and electrically grounds the housing securely to the AquaLumin® III Nichless Pool Light fixture. Failure to use the screw provided could create an electrical hazard which could result in death or serious injury to pool users, installers or others due to electrical shock.
Vinyl Liner Mounting Bracket Parts

| Vinyl Liner Replacement Parts | ||
| Item | Part Number | Description |
| 1 | 619547 | Wall mounting bracket assembly |
| 2 | 619548 | Metal bracket cup assembly |
| 3 | 619549 | Mounting hub 3/4 in. assembly |
| 4 | 619550 | Mounting hub 1 in. assembly |
| 5 | 78872600 | Mounting spacer |
| 6 | 619617 | Housing spacer |
| 7 | 86001800 | Nipple, 1 in. |
| 8 | 78887800 | Housing fixture vinyl 1 inch |
| (includes 1, 2 & 4) Complete kit. | ||
| 9 | 78887700 | Housing fixture vinyl 3/4 inch |
| (includes 1, 2 & 3) Complete kit. | ||
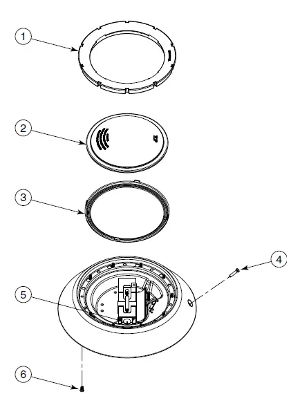
Light Assembly Parts

Replacement Part Kits
- 600138
- Bulb replacement kit 120V / 250W
- 619484 – Bulb (120V/250W) Qty. 1
- 619599 – Lens gasket Qty. 1
- 619792 – Sealing screws Qty. 10
- 600139
- Bulb replacement kit 12V / 100W
- 619584 – Bulb (12V/100W) Qty. 1
- 619599 – Lens gasket Qty. 1
- 619792 – Sealing screws Qty. 10
- 600141
- Lens replacement kit
- 619797 – Lens Qty. 1
- 619599 – Lens gasket Qty. 1
- 619792 – Sealing screws Qty. 10
- 619599Z
- Gasket replacement kit
- 619599 – Lens, gasket Qty. 1
| AquaLumin III Replacement Parts | ||
| Item | Part Number | Description |
| 1 | 619601 | Face ring (white) |
| 619632 | Face ring (black) | |
| 2 | 619797 | Lens |
| 3 | 619599Z | Lens gasket |
| 4 | 78889900 | Captive screw |
| 5* | 619584 | Halogen lamp 12 volt /100 watt |
| 619484 | Halogen lamp 120 volt / 250 watt | |
| 6 | 619792 | Sealing screws (10 required) |
Note: (*) Sold in Bulb Replacement Kits 600139 and 600138, Lens Replacement Kit 600141.
1620 HAWKINS AVE., SANFORD, NC 27330 • (919) 566-8000 10951 WEST LOS ANGELES AVE., MOORPARK, CA 93021 • (805) 553-5000 WWW.PENTAIRPOOL.COM All Pentair trademarks and logos are owned by Pentair, Inc. Pentair Aquatic Systems™ and AquaLumin® are trademarks and/or registered trademarks of Pentair Water Pool and Spa, Inc. and/or its affiliated companies in the United States and/ or other countries. 3M™ and Scotchcast™ are trademarks of 3M Company Corporation. Unless expressly noted, names and brands of third parties that may be used in this document are not used to indicate an affiliation or endorsement between the owners of these names and brands and Pentair Water Pool and Spa, Inc. Those names and brands may be the trademarks or registered trademarks of those third parties. Because we are continuously improving our products and services, Pentair reserves the right to change specifications without prior notice. Pentair is an equal opportunity employer.
2014 Pentair Aquatic Systems. All rights reserved. This document is subject to change without notice.


























