Lowell SVC100-PA-DW Compliant Sliding Bar Attenuator Owner's Manual

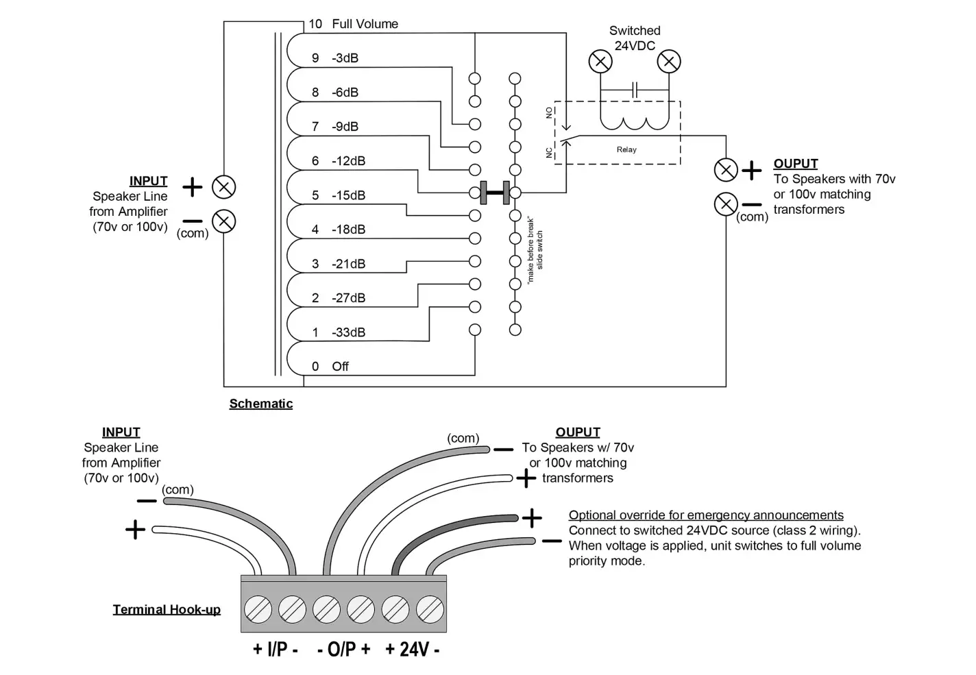
Mono auto former attenuator-style volume control provides precise level adjustment of (25V/70V/100V) single or multiple speaker lines. Includes priority relay for emergency signal bypass and wall plate with sliding bar switch to meet ADA requirements.
FEATURES:
- 100W power rating
- 3dB per step attenuation with two positions of 6dB before “off”
- Priority Relay: 24VDC@15mA relay for applications requiring ability to override volume control with an emergency page or signal.
- Connection: Phoenix style plug-in screw termination strips for prewire convenience.
- Wire capacity up to 14-gauge
- One-gang white decorator-style wall plate with sliding bar switch. ADA compliant *
- Dimensions: 2.75″ x 4.5″ x 2.375″
- ETL Listed (UL60065, UL2043)
- Installation: Mounts in a standard one-gang E.O. box with minimum depth of 2.375″ (order separately).
A&E SPECIFICATIONS:

The ADA compliant volume control attenuator with one-gang decorator style wall plate and sliding bar switch shall be Lowell SVC100-PA-DW. It shall feature 100W power rating, 3dB per step attenuation (6dB per step in last two positions before off), and a 24VDC@15mA relay for emergency/ paging signals to bypass/override the attenuator. It shall include a decorator style one-gang wall plate with white finish. The device shall be designed to fit an E.O. box with minimum inside dimensions of 1.875”W x 2.688”H x 2.375”D. The control shall be ETL Listed (UL60065, UL2043).
OPTIONS: (order separately)
- P1X: Surface-mount one-gang wall box (4.625″ x 2.875″ x 2.5″) fits standard devices. Steel with half-inch knockouts, white finish. Includes U-clips.
* Americans with Disabilities Act compliant with required activation force less than 5 lbf (ft. pounds). See ADA Accessibility Guidelines Sec. 4.27.4 online at www.access-board.gov
Model Summary

* Two steps of 6dB each before “Off”

Dimensions are inches and [mm] unless stated otherwise.
Lowell strives to provide accurate information while reserving the right to change specifications and/or improve manufacturing methods without prior notification.
©2022 Lowell Manufacturing Co., 100 Integram Dr., Pacific MO 63069 / tel. 800.325.9660 / www.lowellmfg.com
Spec 1883
Model SVC100-PA-DW Rev. 06-21-22 | pg. 2/2


















