Whirlpool YWFC8090GX Smart All-In-One Washer and Dryer

Normal cycle is recommended for washing normally soiled cotton or linen clothes. This clothes washer’s government energy certifications were based on the Regular + Normal cycle with Fast Spin, Medium Soil Level and all Wash Temperature selections offered in the cycle. It was tested as an Adaptive Automatic Water Fill Control System clothes washer. The settings as shipped are Regular + Normal cycle, Warm Wash Temp and Auto Water level.
Regular + Dry Only cycle is recommended for drying cotton or linen clothes. Government energy certifications were based on the REGULAR + DRY ONLY Cycle, SPIN SPEED 5 LED’S, Drying Temperature and Dryness Level Non-Selectable.
Complete instructions for recommended cycles can be found at www.whirlpool.com.
IMPORTANT:
Save for local electrical inspector’s use.
ALL-IN-ONE WASHER & DRYER SAFETY
Your safety and the safety of others are very important.
We have provided many important safety messages in this manual and on your appliance. Always read and obey all safety messages.
This is the safety alert symbol.
This symbol alerts you to potential hazards that can kill or hurt you and others.
All safety messages will follow the safety alert symbol and either the word “DANGER” or “WARNING.” These words mean:
DANGER
You can be killed or seriously injured if you don’t immediately follow instructions.
WARNING
You can be killed or seriously injured if you don’t follow instructions.
All safety messages will tell you what the potential hazard is, tell you how to reduce the chance of injury, and tell you what can happen if the instructions are not followed.
IMPORTANT SAFETY INSTRUCTIONS
WARNING: To reduce the risk of fire, electric shock, or injury to persons when using your appliance, follow basic precautions, including the following:
- Read all instructions before using the appliance.
- Do not wash articles that have been previously cleaned in, washed in, soaked in, or spotted with gasoline, dry-cleaning solvents, or other flammable or explosive substances, as they give off vapors that could ignite or explode.
- Do not add gasoline, dry-cleaning solvents, or other flammable or explosive substances to the wash water. These substances give off vapors that could ignite or explode.
- Under certain conditions, hydrogen gas may be produced in a hot-water system that has not been used for 2 weeks or more. HYDROGEN GAS IS EXPLOSIVE. If the hot-water system has not been used for such a period, before using a washing machine, turn on all hot-water faucets and let the water flow from each for several minutes. This will release any accumulated hydrogen gas. As the gas is flammable, do not smoke or use an open flame during this time.
- Do not allow children to play on or in the appliance. Close supervision of children is necessary when the appliance is used near children.
- Before the appliance is removed from service or discarded, remove the door.
- Do not reach into the appliance if the tub or agitator is moving.
- Do not install or store this appliance where it will be exposed to the weather.
- Do not tamper with controls.
- Do not repair or replace any part of the appliance or attempt any servicing unless specifically recommended in the user-maintenance instructions or in published user-repair instructions that you understand and have the skills to carry out.
- Do not use replacement parts that have not been recommended by the manufacturer (e.g. parts made at home using a 3D printer).
- See the Installation Instructions for grounding requirements and installation.
- This appliance is not designed to be used by people (including children) with physical, sensory, or mental abilities reduced, or with lack of experience and knowledge, unless it has been given instruction or supervision regarding the use of the appliance.
- If the power cord is damaged, it must be replaced by the manufacturer or its service agent or by qualified personnel to avoid danger.
- New hoses must be used supplied with the appliance, old hoses they must not be reused to avoid danger.
- Do not clean your washing machine with flammable substances or liquids.
- WARNING: Never stop the Washer-Dryer before the end of the drying cycle, unless all items are removed quickly and spread so that the heat dissipates.
- Do not use the drying cycle on clothes without a pre-wash.
- Remove all items from pockets such as matches and lighters.
- Do not use fabric softeners or products to eliminate static from clothes unless recommended by the manufacturer of the fabric softener or the instructions for the product in use.
- Do not use heat to dry items that contain foam rubber or similarly textured rubber materials.
- Clean the lint trap before or after each load of laundry.
- Keep the area around the ventilation opening and the areas adjacent to the opening free from lint, dust, or dirt.
SAVE THESE INSTRUCTIONS
ADDING LAUNDRY PRODUCTS
Adding HE detergent to basket:
Single-dose laundry packets, Oxi- type boosters, color-safe bleach, or scented crystals can be added to the drum prior to adding laundry.
When using single-dose laundry packets, make sure that the Load & Go™ Bulk Dispenser option is disabled (on some models).

NOTE: Follow the manufacturer’s instructions to determine the amount of laundry products to use.
Adding liquid chlorine bleach to single-load dispenser:
Add liquid chlorine bleach to the bleach compartment.
Do not overfill, dilute, or use more than 2/3 cup (165 mL).
Do not se color-safe bleach or Oxi in the same cycle with liquid chlorine bleach.

IMPORTANT:
- Always measure liquid chlorine bleach. Use a measuring cup with a pour spout; do not guess.
- Do not fill beyond the “MAX” line. Overfilling could cause garment damage.
- Do not use thickened, easy-pour, or no-splash bleach when running the Clean Washer with affresh® cycle, as excess suds may occur.
- On some models: Do not add liquid chlorine bleach to the bulk dispenser.
- Slowly close dispenser drawers. Make sure the drawers are closed completely.
Adding liquid fabric softener to single-load dispenser:
Pour a measured amount of liquid fabric softener into liquid fabric softener compartment.
Always follow manufacturer’s directions for correct amount of fabric softener, based on your load size.
Disable the 1 Liter Load & Go™ dispenser if not used to dispense detergent.
Fabric softener is always dispensed in the last rinse.

IMPORTANT: Do not overfill, dilute, or use more than the manufacturer-recommended quantity of fabric softener.
Do not fill past the “MAX” line. Overfilling dispenser will cause fabric softener to immediately dispense into machine.
- Do not spill or drip any fabric softener onto the clothes.
- Do not use liquid fabric softener dispenser balls in this machine. They will not dispense correctly.
- Do not use fabric softener sheets, as they can stain the load.
Adding HE detergent to Load & Go™ dispenser (on some models):
Use only High Efficiency (HE) liquid detergents.
The bulk dispensers will hold about 67.6 oz. (2 L) or 33.8 oz. (1 L) of liquid HE detergent, depending on dispenser, or enough for many loads of laundry.
To fill bulk dispensers:

Open the dispenser drawer by pulling on the handle at the base of the machine.
If desired, the drawer can be completely removed from the machine.
Locate the Load & Go™ bulk dispenser. Gently pull up on the tab located on the bulk dispenser lid to lift the fill door.

Fill to the “MAX” line (see illustrations at right) with HE liquid detergent or liquid fabric softener (1-liter dispenser only). Close fill door. It will click
into place. Make sure the concentration setting is correct (see the online “Cycle Guide”).

It is recommended that you rinse out the Load & Go™ containers when refilling, when changing detergent types or concentrations, or when the
will not be used for an extended period.
For instructions on cleaning the dispenser cartridge, see “All-In-One Washer & Dryer Care” in the “Maintenance and Care” section of your Owner’s Manual.
When you want the machine to use the Load & Go bulk dispenser for automatic detergent dispensing, make sure that the Load & Go™ bulk dispenser option is enabled (on some models). Also, do not add any detergent to the single-load dispenser.

Adding HE detergent to single-load dispenser:
Pour a measured amount of HE detergent into detergent compartment.
For powdered detergent, lift the selector to the high position.
For liquid detergent, push down the selector to the low position.
Do not overfill; adding too much detergent may cause detergent to be dispensed into the machine too early.
When using single-dose dispenser for detergent, make sure that the Load & Go™ bulk dispenser option is disabled (on some models).

Getting the most out of your All-In-One Washer & Dryer:
Your new machine is configured to run wash & dry cycles by default.
You also have the option to run Wash Only cycles or Dry Only cycles. Refer to the Cycle Guide for additional details.
For optimal drying results and to avoid wrinkling of clothes, do not load clothes more than half full.
Since this unit uses a ventless drying technology, expect longer dry times compared to a vented dryer.
ALL-IN-ONE WASHER & DRYER MAINTENANCE AND CARE
Water Inlet Hoses
Replace inlet hoses after five years of use to reduce the risk of hose failure.
Periodically inspect and replace inlet hoses if bulges, kinks, cuts, wear, or leaks are found.
When replacing your inlet hoses:
Mark the date of replacement on the label with a permanent marker.
Check that the old machines are not stuck on the machine inlet valves.
Use new washers in the new inlet hoses to ensure a proper seal.
All-In-One Washer & Dryer Care
Recommendations to Help Keep Your Machine Clean and Performing at Its Best
- Always use High Efficiency (HE) detergents and follow the HE detergent manufacturer’s instructions regarding the amount of HE detergent to use. Never use more than the recommended amount because that may increase the rate at which detergent and soil residue accumulate inside your machine which, in turn, may result in undesirable odor.
- Use warm or hot water washes sometimes (not exclusively cold water washes) because they do a better job of controlling the rate at which soils and detergent accumulate.
- Always leave the machine door slightly ajar between uses to help dry out the machine and avoid the buildup of odor-causing residue.
- Periodically clean residue from all interior surfaces of the window. For better care, wipe the entire inside of the door with a damp cloth.
Cleaning Your All-In-One Washer & Dryer
Read these instructions completely before beginning the routine cleaning processes recommended below. This machine maintenance procedure should be performed, at a minimum, once per month or every 30 cycles, whichever occurs sooner, to control the rate at which soils and detergent may otherwise accumulate in your machine. Note that since this is an all-in-one washer & dryer without a lint screen, you may see some more lint accumulation on the door seal than a typical washer.
Cleaning the Door Seal
- Open the machine door and remove any clothing or items from the machine.
- Inspect the gray-colored seal between the door opening and the drum for stained areas, soil buildup, or lint. Pull back the seal to inspect all areas under the seal and to check for foreign objects or lint.
- If stained areas, soil buildup, or lint are found, wipe down these areas of the seal using either of the following two procedures:
- Affresh® Machine Cleaning Wipes Procedure:
- When the cycle is complete, gently pull back the rubber door seal and clean the entire surface with the textured side of an affresh® Machine Cleaning Wipe.
- Dilute Liquid Chlorine Bleach Procedure:
- Mix a dilute bleach solution, using 3/4 cup (177 mL) of liquid chlorine bleach and 1 gallon (3.8 L) of warm tap water.
- Wipe the seal area with the dilute solution, using a damp cloth.
- Let stand 5 minutes.
- Wipe down area thoroughly with a dry cloth and let machine interior air dry with door open.
- Affresh® Machine Cleaning Wipes Procedure:
IMPORTANT:
- Wear rubber gloves when cleaning with bleach.
- Refer to the bleach manufacturer’s instructions for proper use.
Cleaning the Inside of the All-In-One Washer & Dryer
This machine has a special cycle that uses higher water volumes in combination with affresh® Washer Cleaner or regular liquid chlorine bleach to thoroughly clean the inside of the machine. Steam models also utilize steam to enhance cleaning in this special cycle.
IMPORTANT: Do not use thickened, easy-pour, or no-splash bleach when running the Clean Washer with affresh® cycle as excess suds may occur.
NOTE: Read these instructions completely before beginning the cleaning process.
Begin procedure
- Clean Washer with affresh® Cycle Procedure (Recommended for best performance):
- Open the machine door and remove any clothing or items.
- Use an affresh® Machine Cleaning Wipe or a soft, damp cloth or sponge to clean the inside door window.
- Add an affresh® Washer Cleaner tablet to the machine drum.
- Do not add the affresh® Washer Cleaner tablet to the dispenser drawer.
- Do not add any detergent or other chemical to the machine when following this procedure.
- Close the machine door.
- Select the Clean Washer with affresh® cycle.
- On some models: Select the FanFresh® option to help dry the machine interior after the cycle is complete.
NOTE: The machine remembers your last option selection and will use it for future wash cycles until you deselect that option. - Touch and hold START/PAUSE to begin the cycle. The Clean Washer with affresh® cycle operation is described below.
- Chlorine Bleach Procedure:
- Open the machine door and remove any clothing or items.
- Open the single load dispenser drawer and add regular liquid chlorine bleach to the “MAX” line in both the bleach compartment and the fabric softener compartment. Either traditional or HE chlorine bleach can be used. IMPORTANT: Do not use thickened, easy-pour, or no-splash bleach as excess suds may occur.
NOTE: Use of more liquid chlorine bleach than is recommended above could cause machine damage over time. - Close the machine door and the dispenser drawer.
- Do not add any detergent or other chemicals to the machine when following this procedure.
- Select the Clean Washer with affresh® cycle.
- On some models: Select the FanFresh® option to help dry the machine interior after the cycle is complete.
NOTE: The machine remembers your last option selection and will use it for future wash cycles until you deselect that option. - Touch and hold START/PAUSE to begin the cycle. The Clean Washer with affresh® cycle operation is described below.
NOTE: For best results, do not interrupt cycle.
Description of Clean Washer with affresh® Cycle Operation:
- The Clean Washer with affresh® cycle will determine whether clothing or other items are in the machine.
- If no items are detected in the machine, it will proceed with the cycle.
- If any items are detected in the machine, “rL” (remove load) will be displayed. The door will unlock. Open machine and remove any garments from the machine drum.
- Touch POWER to clear the “rL” code.
- Touch and hold START/PAUSE to restart the cycle.
- Steam models only: During the first 20 minutes of the cycle, it will activate the steamer but the drum will not spin or fill with water. You may see condensation on the door window during this initial phase. If you are using an affresh® Washer Cleaner tablet, it will not dissolve completely during the steam phase. This is normal.
After the cycle is complete, leave the door open slightly to allow for better ventilation and drying of the machine interior.
Cleaning the Dispensers
After using the Clean Washer with affresh® cycle, you may find some residue buildup in the machine’s dispensers.
To remove residue from the single load dispenser, remove the drawer and wipe the surfaces with an affresh® Machine Cleaning Wipe or a damp cloth and towel dry either before or after you run the Clean Washer with affresh® cycle. Use an all-purpose surface cleaner, if needed.
On some models: To remove residue from the Load & Go™ bulk dispenser, lift the handle on the dispenser housing and pull to remove it from the machine cabinet; then rinse the dispenser thoroughly with running water. Wipe the outside dispenser surface with an affresh® Machine Cleaning Wipe or a damp cloth, and towel dry. Use an all-purpose surface cleaner, if needed.
Replace the dispenser in the machine cabinet and make sure that it is correctly seated.
NOTE: Dispensers are not dishwasher-safe.
Cleaning the Outside of the All-In-One Washer & Dryer
Use an affresh® Machine Cleaning Wipe or a soft, damp cloth or sponge to wipe up any spills.
Occasionally wipe the outside of your machine to help keep it looking new.
Use an affresh® Machine Cleaning Wipe or mild soap and water.
IMPORTANT: To avoid damaging the machine’s finish, do not use abrasive products.
Clean Washer Cycle Reminder
NOTE: Not all models have the Clean Washer with affresh® cycle reminder light.
The Clean Washer with affresh® LED will flash at the end of a wash cycle when the machine has run 30 wash cycles.
This is a reminder to run the Clean Washer with affresh® cycle.
If the Clean Washer with affresh® cycle is not turned on, the LED will stop flashing at the end of a wash cycle after running three more regular wash cycles. After 30 more wash cycles are completed, the Clean Washer with affresh® LED will again flash at the end of a wash cycle as a reminder.
REMOVING THE DISPENSER
Single Load Dispenser Drawer
To remove:
- Pull dispenser drawer out until it stops.
- Press down on the release tab and pull straight out to remove the dispenser.

- Lift off cover panel by pulling straight up.

To replace:
- Position cover panel back onto posts on dispenser. Apply slight pressure on cover panel to seat it.
- Align edges of dispenser with guides in machine; then slide dispenser back into slot.

Cleaning Load & Go™ Containers (on some models)
It is recommended that you rinse out the Load & Go™ containers when refilling, when changing detergent types or concentrations, or when the machine will not be used for an extended period.
- Pull the dispenser drawer out until it stops.
- Lift out the Load & Go™ containers.
- Lift the fill lid and flush interior thoroughly with warm water.

- Allow to air dry.
Non-Use and Vacation Care
Operate your machine only when you are home. If moving or not using your machine for a period of time, follow these steps:
- Unplug or disconnect power to machine.
- Turn off water supply to machine to avoid flooding due to water pressure surges.
HELPFUL TIP: Attach a reminder note to the machine to turn the water back on before machine’s next use. - Clean the dispensers. See “Cleaning the Dispensers.”
Winter Storage Care
IMPORTANT: To avoid damage, install and store machine where it will not freeze.
Because some water may stay in hoses, freezing can damage machine. If storing or moving during freezing weather, winterize your machine.
To winterize machine:
- Shut off both water faucets; then disconnect and drain water inlet hoses.
HELPFUL TIP: Attach a reminder note to the machine to turn the water back on before machine’s next use. - Put 1 quart (1 L) of R.V.-type antifreeze in machine drum and run machine on Normal cycle for about 2 minutes to mix antifreeze and remaining water.
- Unplug machine or disconnect power.
Transporting your All-In-One Washer & Dryer
- Shut off both water faucets. Disconnect and drain water inlet hoses.
- If machine will be moved during freezing weather, follow “Winter Storage Care” directions before moving.
- Disconnect drain hose from drain system and from back of machine.
- Unplug power cord.
- Place inlet hoses and drain hose inside machine drum.
- Bundle power cord with a rubber band or cable tie to keep it from hanging to the ground.
IMPORTANT: Call for service to install new transport bolts.
Do not reuse transport bolts. Machine must be transported in the upright position.
To avoid structural damage to your machine, it must be properly set up for relocation by a certified technician.
WARNING
Electrical Shock Hazard
Plug into a grounded 3 prong outlet.
Do not remove ground prong.
Do not use an adapter.
Do not use an extension cord.
Failure to follow these instructions can result in death, fire, or electrical shock.
Reinstalling/Using Again
To reinstall machine after non-use, vacation, winter storage, or moving:
- Refer to Installation Instructions to locate, level, and connect machine.
- Before using again, run machine through the following recommended procedure:
To use machine again:
- Flush water pipes and hoses. Reconnect water inlet hoses. Turn on both water faucets.
- Plug in machine or reconnect power.
- Run machine through Heavy Duty cycle to clean machine and remove antifreeze, if used.
Use only HE detergent. Use half the manufacturer’s recommended amount for a medium-size load.
Cleaning the Drain Pump Filter/Draining
Residual Water (on some models)
NOTE: Perform the following procedure occasionally.
IMPORTANT: Make sure the machine is off before cleaning the drain pump filter.
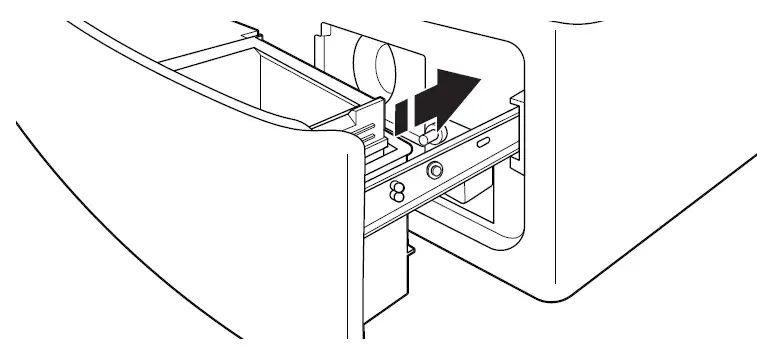
- Open the dispenser drawer by pulling on the handle at the base of the machine.
This will reveal the drain pump filter. Remove the drawer by releasing the tab on each side.
With your finger, push down on tab on right side of drawer, and up on tab on left side of drawer. - Place a broad, flat container beneath the drain pump filter to collect the drain water. Release the black hose from the hose clip, remove the plug, and drain the hose into the container. Empty the container. Repeat this procedure if necessary until all the water has drained. Make sure that the black hose is completely dry, replace the plug, and secure the hose in the clip.
NOTE: If water does not drain well, push in hose slightly to remove any possible kinks.
- Lay a cotton cloth beneath the drain pump filter to absorb any water still in it. Then remove the drain pump filter by turning it counterclockwise.

- Check the drain pump filter once a month. Remove large clumps of lint by hand from the filter and place lint in a suitable waste container. Remove remaining residue from the filter by rinsing with water.

- Reinsert the drain pump filter by turning it clockwise. Make sure to turn it in as far as it will go, with the filter handle remaining as close as possible to the vertical position.

- Replace and close the dispenser drawer. Make sure to insert both rails simultaneously when replacing the drawer. You will hear a clicking sound that indicates the rails have engaged. To ensure proper placement of the drawer, pull out fully. The drawer should be fully engaged and the rails locked in placed. Make sure the drain hose is secured in the hose clip and tucked underneath the cutout.

Additional Cleaning
Gently pull back the rubber door seal and clean any stained areas, soil buildup, or lint with the textured side of an affresh® Machine Cleaning Wipe.

INSTALLATION INSTRUCTIONS
WARNING
Excessive Weight Hazard
Use two or more people to move and install or uninstall appliance.
Failure to do so can result in back or other injury.
NOTE: To avoid floor damage, set machine onto cardboard before moving it.
Move All-In-One Washer & Dryer

It is necessary to remove all shipping materials for proper operation and to avoid excessive noise from machine.
Move machine to within 4 ft (1.2 m) of its final location. It must be in a fully upright position.
Locate transport bolts

Locate four transport bolts on rear of machine.
Remove transport bolts from All-In-One Washer & Dryer

Loosen bolts with a 5/8″ (16 mm) wrench. Slide each bolt and spacer to center of hole.
Pull bolts and plastic spacers from back of machine. Discard bolts and spacers.
NOTE: Do not plug machine in until installation has been completed.
REQUIREMENTS
Tools and Parts
Tools needed:

Optional tool

Parts needed (not supplied with machine):

Parts supplied (not supplied with machine):
NOTE: All parts supplied for installation are in the machine basket.

Available accessories
An optional matching pedestal is available for your machine.
Please contact your retailer for ordering information, or see the “Assistance or Service” on Quick Start Guide.
Alternate parts (not supplied with machine):
Your installation may require additional parts. To order, please refer to toll-free numbers on Quick Start Guide.
- If you have:
- Overhead sewer
- You will need:
- Standard 20 gallon (76 L) 39″ (990 mm) tall drain tub or utility sink, sump pump and connectors (available from local plumbing suppliers)
Alternate inlet hoses (may be required for some installations, not supplied with machine):
- 8212656RP
10 ft (3.0 m) Inlet hose, Black
EPDM (2 pack) - 8212641RP
5 ft (1.5 m) Inlet hose, Black
EPDM (2 pack) - 8212546RP
4 ft (1.2 m) Inlet hose, Black
EPDM (2 pack) - 8212545RP
5 ft (1.5 m) Inlet hose, Red and
Blue EPDM (2 pack) - 8212487RP
5 ft (1.5 m) Nylon braided inlet
hose (2 pack) - 8212638RP
6 ft (1.8 m) Nylon braided inlet hose, space-saving 90° elbow, hypro-blue steel couplings
(2 pack)
Location Requirements
Proper installation is your responsibility.
You will need:
- A water heater set to 120°F (49°C).
- A grounded electrical outlet located within 6 ft (1.8 m) of power cord on back of machine.
- Hot and cold water faucets located within 4 ft (1.2 m) of hot and cold water fill valves on machine, and water pressure of 20 psi–100 psi (137.9 kPa–689.6 kPa).
- A level floor with maximum slope of 1″ (25 mm) under entire machine. Installing on carpet or surfaces with foam backing is not recommended.
- Floor must support machine’s total weight (with water and load) of 315 lb (143 kg).
IMPORTANT: Do not install, store, or operate machine where it will be exposed to weather or in temperatures below 32°F (0°C).
Water remaining in machine after use may cause damage in low temperatures.
See “All-In-One Washer & Dryer Care” for winterizing information.
Whirlpool® Models*

*For additional details (or information) specific to your model, refer to the ‘Dimensions’ listed for your model at www.whirlpool.com.
Custom under-counter installation:

Recessed area or closet installation:
Custom cabinet installation:

Drain System
The drain system can be installed using a floor drain, wall standpipe, floor standpipe, or laundry tub. Select the method you need.
IMPORTANT: To avoid siphoning, no more than 4.5″ (114 mm) of drain hose should be inside standpipe or below the top of wash tub. Secure drain hose with cable tie.
Floor standpipe drain system

Minimum diameter for a standpipe drain: 2″ (51 mm). Minimum carry-away capacity: 17 gallon (64 L) per minute. A 1/4″ (6 mm) diameter to 1″ (25 mm) diameter Standpipe Adapter Kit is available (Part Number 3363920). Top of standpipe must be at least 39″ (991 mm) from the floor; install no higher than 96″ (2.44 m) from bottom of machine. If you have an overhead sewer and need to pump higher than 96″ (2.44 m), a sump pump and associated hardware are needed. See “Alternate parts.”
Wall standpipe drain system

See requirements in the “Floor standpipe drain system” section.
Laundry tub drain System

Minimum capacity: 20 gallon (76 L).
Top of laundry tub must be at least 39″ (991 mm) from the floor; install no higher than 96″ (2.44 m) from bottom of machine.

Floor Drain System

Floor drain system requires a Siphon Break Kit, two Connector Kits, and an Extension Drain Hose that may be purchased separately.
Please contact your retailer for ordering information, or see the “Assistance or Service” on Quick Start Guide. Minimum siphon break height: 28″ (710 mm) from bottom of machine.
(Additional hoses may be needed.)
Electrical Requirements
WARNING
Electrical Shock Hazard
Plug into a grounded 3 prong outlet.
Do not remove ground prong.
Do not use an adapter.
Do not use an extension cord.
Failure to follow these instructions can result in death, fire, or electrical shock.
- A 120 V, 60 Hz., AC only, 15 A or 20 A, fused electrical supply is required. A time-delay fuse or circuit breaker is recommended. It is recommended that a separate circuit breaker serving only this appliance be provided.
- This machine is equipped with a power supply cord having a 3 prong grounding plug.
- To minimize possible shock hazard, the cord must be plugged into a mating, 3 prong grounding-type outlet, grounded in accordance with local codes and ordinances. If a mating outlet is not available, it is the personal responsibility and obligation of the customer to have the properly grounded outlet installed by a qualified electrician.
- If codes permit and a separate ground wire is used, it is recommended that a qualified electrician determine that the ground path is adequate.
- Do not ground to a gas pipe.
- Check with a qualified electrician if you are not sure the machine is properly grounded.
- Do not have a fuse in the neutral or ground circuit.
GROUNDING INSTRUCTIONS
For a grounded, cord-connected appliance:
This appliance must be grounded. In the event of a malfunction or breakdown, grounding will reduce the risk of electric shock by providing a path of least resistance for electric current. This appliance is equipped with a cord having an equipment-grounding conductor and a grounding plug. The plug must be plugged into an appropriate outlet that is properly installed and grounded in accordance with all local codes and ordinances.
WARNING: Improper connection of the equipment-grounding conductor can result in a risk of electric shock. Check with a qualified electrician or serviceman if you are in doubt as to whether the appliance is properly grounded. Do not modify the plug provided with the appliance: if it will not fit the outlet, have a proper outlet installed by a qualified electrician.
SAVE THESE INSTRUCTIONS
INSTALLATION
Connect Drain Hose
Attach drain hose to drain port

If clamp is not already in place on elbow end of drain hose, squeeze clamp with pliers and slide it over end of hose, centering it between the ribs, as shown. Squeeze clamp with pliers and slide elbow end of drain hose onto drain port and secure with clamp.
For a laundry tub or standpipe drain, refer the above/below steps.
For a floor drain, remove the preinstalled drain hose form as shown in the steps above/below.
You may need additional parts with separate directions. See “Alternate Parts.”
It is the responsibility of the installer to install and secure the drain hose into the provided plumbing/drain in a manner that will avoid the drain hose coming out of or leaking from the plumbing/drain.
Remove drain hose form (floor drain installations only)

For floor drain installations, you will need to remove the drain hose form from the end of the drain hose.
You may need additional parts with separate directions. See “Alternate Parts”.
Place drain hose in standpipe

Place hose into standpipe (shown in picture) or over side of laundry tub.
IMPORTANT: 4.5″ (114 mm) of drain hose should be inside standpipe; do not force excess hose into standpipe or lay on bottom of laundry tub. Drain hose form must be used.
Connect Inlet Hose
Insert new flat washers

IMPORTANT: To avoid leaks, check that your water inlet hoses have flat washers at both ends.
Machine must be connected to water faucets with new inlet hoses with flat washers (not provided).
Do not use old hoses.
Do not use hoses without washers.
Connect inlet hoses to water faucets

IMPORTANT: Do not overtighten or use tape or sealants on valve when attaching to faucets or machine.
Damage can result.
Attach the hose labeled hot to hot water faucet. Screw on coupling by hand until it is seated on washer. Use adjustable pliers to tighten couplings an additional two-thirds turn.
Repeat this step with the hose labeled cold for the cold water faucet. Both hoses must be connected for machine to work properly.
Clear water lines

Run water for a few seconds through hoses into a laundry tub, drainpipe, or bucket to prevent clogs. Water should run until clear.
Connect inlet hoses to Machine

IMPORTANT: To reduce risk of hose failure, replace the hoses every 5 years. Record hose installation or replacement dates for future reference.
- Do not overtighten hose or use tape or sealants on the valve. Damage to the valves can result.
- Periodically inspect and replace hoses if bulges, kinks, cuts, wear, or leaks are found.
Attach hot water hose to hot water inlet valve. Screw coupling by hand until it is snug.
Use adjustable pliers to tighten couplings an additional two-thirds turn. Repeat with cold water inlet valve.
Check for leaks

Slowly turn on water faucets to check for leaks. A small amount of water may enter machine. It will drain later.
Secure drain hose

Secure drain hose to laundry tub leg, drain standpipe, or inlet hoses for wall standpipe with cable tie or beaded tie strap.
It is the responsibility of the installer to install and secure the drain hose in to the provided plumbing/drain in a manner that will avoid the drain hose coming out of or leaking from the plumbing/drain.
Level All-In-One Washer & Dryer
IMPORTANT: Leveling your machine properly reduces excess noise and vibration.
Check levelness of machine

Remove cardboard from beneath machine. Place a level on top edges of machine, checking each side and front. If not level, tip machine and adjust feet up or down as shown in “Adjust leveling feet” and “Tighten leveling feet”, repeating as necessary.

Rock machine to test foot contact

Grip machine from top and rock back and forth, making sure all four feet are firmly on floor.
Repeat, rocking machine from side to side.
If machine rocks, adjust leveling feet.
If all four feet are in firm contact with floor, tighten leveling feet.
Adjust leveling feet

If machine is not level, use a 9/16″ (14 mm) open-end or adjustable wrench to turn jam nuts clockwise on feet until they are about 1/2″ (13 mm) from the machine cabinet. Then turn the leveling foot clockwise to lower the machine or counterclockwise to raise the machine. Do not exceed 2″ (50 mm) from bottom of foot to bottom of cabinet. Recheck levelness of machine and that all four feet are firmly in contact with the floor. Repeat as needed.
HELPFUL TIP: You may want to prop up front of machine about 4″ (102 mm) with a wood block or similar object that will support weight of machine.
Tighten leveling feet

When machine is level and all four feet are firmly in contact with the floor, use a 9/16″ (14 mm) open-end or adjustable wrench to turn jam nuts counterclockwise on leveling feet tightly against machine cabinet.
HELPFUL TIP: You may want to prop machine with wooden block.
WARNING
Electrical Shock Hazard
Plug into a grounded 3 prong outlet.
Do not remove ground prong.
Do not use an adapter.
Do not use an extension cord.
Failure to follow these instructions can result in death, fire, or electrical shock.
Plug into a grounded 3 prong outlet

Complete Installation Checklist
- Check electrical requirements. Be sure you have correct electrical supply and recommended grounding method.
- Check that all parts are now installed. If there is an extra part, go back through steps to see what was skipped.
- Check that you have all of your tools. Check that transport materials were completely removed from back of machine.
- Check that both hot and cold hoses are attached and water faucets are on.
- Check for leaks around faucets, valves, and inlet hoses.
- Remove protective film from console and any tape remaining on machine.
- Check that machine is plugged into a grounded 3 prong outlet.
- Dispose of/recycle all packaging materials.
- To test and clean your machine, press POWER and choose the Quick cycle and run it without clothes.
Use only HE detergent. Use 1/2 the manufacturer’s recommended amount for a medium-size load.
©2022 All rights reserved.





With your finger, push down on tab on right side of drawer, and up on tab on left side of drawer.





















