HAILAN GT40 All In One PC

Packing List

DIY all-in-one pc installation diagram
Step 1: Put your DIY all-in-one computer on a flat and stable surface, first unscrewing the back case screws, hold the back shell with both hands and slide down to open the back shell, and then unscrew the four screws of the built-in shielding case, Remove the shield.

The second step : install the GPU, hard disk, memory, etc
- Intel desktop CPU, thermal copper tube
- Notebook memory
- 2.5″SSD/HDD, M.2SSD; remove the 2.5″ SSD before installing the HDD.
- Adapt to discrete graphics card according to motherboard installation, suitable for customized MXM graphics ↓

Step 3: Lock the shielding cover down,tighten the screws , and then push up to lock the back shell, tighten the screws , the whole machine is assembled, connect the adapter power, and the computer can be work.

DIY—Bracket installation and disassembly diagram:
Quick installation bracket: Step 1: Align the bracket 45 degrees with the bracket position ((1)) on the rear shell and press it flat Locking bracket ((2))
Step 2: Align the base screw with the bracket screw hole, lock the screw (Note 1) The base is assembled, connect the adapter power, and the computer can be work.
Quick release bracket: Slide the quick release button (3) on the bracket to the right to remove the bracket.

All-in-one function usage guide
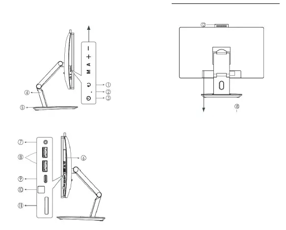
Schematic diagram of components and interfaces

DIY—Computer connected to external devices
Step 1: Put your all-in-one computer on a flat, stable surface, such as a drop or a desk.
Step 2: Connect the mouse and keyboard of the USB interface to the USB port on the side or back panel.
Step 3: Connect the network device to the LAN interface. In the fourth step, connect the power cable to the computer power supply (1) and then connect to the power outlet (2).


China’s electronic information product pollution control identification requirements
In accordance with the Chinese government’s measures for the control and control of pollution control of electronic information products, the waste of electronic information products After the pollution caused by the environment, promote the production and sale of low-polluting electronic information products, protect the environment and human health, only mention The products may contain toxic and harmful substances as follows
| Part Name | Toxic and harmful substances or elements | |||||
| (Pb) | (Hg) | (Cd) | (Cr6+) | (PBB) | (PBDE) | |
| PC Housing | o | O | o | o | o | o |
| Middle frame | o | o | o | o | o | o |
| viewer Panel | o | o | o | o | o | o |
| Display | o | o | o | o | o | o |
| Motherboard | o | o | o | o | o | o |
| CPU Fan | X | o | o | o | o | o |
| Camera | o | o | o | o | o | o |
| Speaker | o | o | o | o | o | o |
| Cables | o | o | o | o | o | o |
| Power cable | o | o | o | o | o | o |
| Metal Holder | X | o | o | o | o | o |
| Sticker | o | o | o | o | o | o |
| CD | o | o | o | o | o | o |
| Manual | o | o | o | o | o | o |
| Warranty Card | o | o | o | o | o | o |
Q Indicates that the content of the toxic and hazardous substance in all homogeneous materials of the component is in GB/T 26572-2011 The required limits are below.
X Indicates that the content of the toxic and hazardous substance in a homogeneous material of the component exceeds the GB/T 26572-2011 standard a prescribed limit. This electronic information product uses this product under the conditions of use described in the instructions and contains toxic and harmful substances or elements A period of 10 years is not caused by leakage, which will cause pollution to the environment or cause serious damage to persons and property
Quality Certificate
Product : ALL IN ONE PC Inspector :
This product has been inspected by our company’s quality control department, and its performance parameters meet technical standards and are allowed to leave the factory *This illustrations and descriptions in this manual are for illustrative purposes only, please refer to the actual product The manual does not affect the performance, safety and user use of the content, if there is any difference with the product, please refer to the actual product, without other explanation,
FCC Statement
This device complies with part 15 of the FCC Rules. Operation is subject to the following two conditions: (1) This device may not cause harmful interference, and (2) this device must accept any interference received, including interference that may cause undesired operation. Any Changes or modifications not expressly approved by the party responsible for compliance could void the user’s authority to operate the equipment.
Note: This equipment has been tested and found to comply with the limits for a Class B digital device, pursuant to part 15 of the FCC Rules. These limits are designed to provide reasonable protection against harmful interference in a residential installation. This equipment generates uses and can radiate radio frequency energy and, if not installed and used in accordance with the instructions, may cause harmful interference to radio communications. However, there is no guarantee that interference will not occur in a particular installation. If this equipment does cause harmful interference to radio or television reception, which can be determined by turning the equipment off and on, the user is encouraged to try to correct the interference by one or more of the following measures:
- Reorient or relocate the receiving antenna.
- Increase the separation between the equipment and receiver.
- Connect the equipment into an outlet on a circuit different from that to which the receiver is connected.
- Consult the dealer or an experienced radio/TV technician for help.
This equipment complies with FCC radiation exposure limits set forth for an uncontrolled environment. This equipment should be installed and operated with minimum distance 20cm between the radiator & your body.




















