
EX 100 SQ – ANLEITUNG
USER MANUAL 
EX 100 SQ EVO3 Speaker
Thank You
Congratulations on purchasing a high-quality AUDIO SYSTEM product incl. GERMAN SOUND.
Important: Completely read this operating instruction before installation and use of the device.
Attention: Pay attention to advice and instructions of the car manufacturer. Check the polarity when connecting the speakers.
Important: You will need your purchase receipt as proof of purchase for all warranty repairs and for insurance purposes.
Keep your receipt, owner´s manual and packing materials in a safe location for possible future use.
Attention: Use of sound components can impair your ability to hear necessary traffic sounds and may constitute a hazard while driving your automobile. AUDIO SYSTEM GERMANY accepts no liability for hearing loss, bodily injury, or property damage because of use or misuse of our products.
We recommend installing the equipment by an authorized service center or dealer. A professional fitting and connection are the requirement for further warranty and perfect sound.
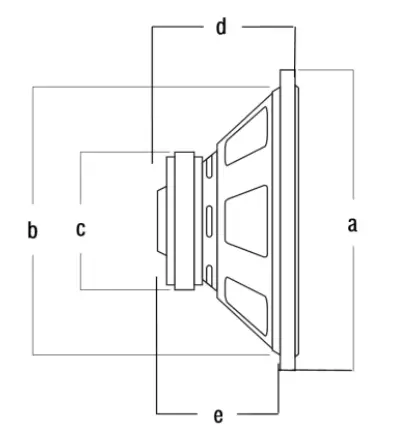
Specifications

| 0.52 | Kilogramm | Weight |
| 102/128 | mm | External Diameter ( a ) |
| 91 | mm | Installation Diameter ( b ) |
| 55 | mm | Magnet Diameter ( c ) |
| 53 | mm | Total Installation Depth ( d ) |
| 51 | mm | Installation Depth (3e ) |
| Papier-Sandwich | Paper-Sandwich | Speaker Cone |
| Elastomere | Elastomere | Surround/Edge |
| Stahl | Sheet Metal | Basket |
| Connex | Connex | Spider |
| Aluminium | Aluminium | Coil Former |
| Supronyl | Supronyl | Dust Protection Cap |
Frequency Response and Impedance

www.audio-system.de
audio system germany – falltorstrasse 6 – 76707 hambrückeN


















