AUDIO SYSTEM EX 165 Phase EVO3 High End Low-Mid Speaker

Thank You
Congratulations on purchasing a high-quality AUDIO SYSTEM product incl. GERMAN SOUND. Important: Completely read this operating instruction before installation and use of the device.Attention: Pay attention to advise and instructions of the car manufacturer. Check the polarity when connecting the speakers. Important: You will need your purchase receipt as proof of purchase for all warranty repairs and for insurance purposes. Keep your receipt, owner´s manual, and packing materials in a safe location for possible future use. Attention: Use of sound components can impair your ability to hear necessary traffic sounds and may constitute a hazard while driving your automobile. AUDIO SYSTEM GERMANY accepts no liability for hearing loss, bodily injury or property damage as a result of use or misuse of our products.We recommend installing the equipment by an authorized service center or dealer. A professional fitting and connection are the requirement for further warranty and perfect sound.
Mechanical Installation Tip
Warning: First disconnect the negative pole of your car battery. Check-polarity, changing polarity may cause serious damage to your car electric. Best speaker positions are the original build-in positions. Easy installation and original look are the reasons. Please note that the speakers are installed flat and stable. The quality of the installation decides the sound very much, therefore, attention should be paid to insulation and care during installation. Please note that the speakers are protected from heat, sunlight, mechanical influences, moisture, and wetness by accessories from the AUDIO SYSTEM.
Attention: Install all cables as straight as possible without squashing or laying them over sharp edges. Otherwise, this can cause a short circuit or damage to your whole installation. Attention: Be careful removing original plastic parts of your car. The fitting parts could be damaged and must be replaced.
Important: The right polarity of all speakers is extremely important for the sound of your car audio system. We recommend changing the polarity of the tweeter to find out the best possible sound. The best is to listen and/or to measure it.
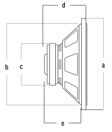
Specifications

| Gewicht | 0.98 | Kilogramm | Weight | ||
| Umfang Außen | ( a ) | 166 | mm | External Diameter | ( a ) |
| Einbauöffnung | ( b ) | 146 | mm | Installation Diameter ( b ) | |
| Magnetdurchmesser ( c ) | 75 | mm | Magnet Diameter | ( c ) | |
| Einbautiefe gesamt ( d ) | 76.7 | mm | Total Installation Depth ( d ) | ||
| Einbautiefe | ( e ) | 67 | mm | Installation Depth | (3e ) |
| Membrane | Papier-Sandwich | Paper-Sandwich | Speaker Cone | ||
| Sicke | Elastomere | Elastomere | Surround/Edge | ||
| Korb | Druckguss | Die Cast | Basket | ||
| Zentrierspinne | Connex | Connex | Spider | ||
| Schwingspulenträger | Kapton | Kapton | Coil Former | ||
| Staubschutzkappe | Supronyl | Supronyl | Dust Protection Cap | ||
Frequency Response and Impedance
| Leistung | Music | 240 | Watt | Power |
| RMS | 150 | Watt | ||
| Kennschalldruck SPL (2,83V, 1m) | dB | 90 | dB | SPL |
| Frequenzbereich | Fb | 65-4500 | Hz | Frequency Range |
| Gleichstromwiderstand | Re | 2.6 | W | DC Resistance |
| Impedanz | Zn | 3.0 | W | Nominal Impedance |
| Resonanzfrequenz | Fs | 59.5 | HZ | Resonance Frequency |
| Schwingspulendurchmesser | D | 32.5 | mm | Voice Coil Diameter |
| Maximaler linearer Hub | +/- | 5 | mm | X-Max Linear Excursion |
| Mechanische Güte | Qms | 6,46 | Qms | Mechanical Q Factor |
| Elektrische Güte | Qes | 0.36 | Qes | Electrical Q Factor |
| Gesamtgüte | Qts | 0.34 | Qts | Total Q Factor |
| Bewegte Masse | Mms | 16.1 | Gramm | Moving Mass |
| Äquivalentvolumen | Vas | 7.90 | Liter | Equivalent Air Volume |
| Kraftfaktor | Bl | 8.7 | Tm | Force Factor |
| Effektive Membranfläche | Sd | 135 | cm² | Effective Membrane Surface |




















