OBD P12 Smart Digital Device

(This product Design Patent and Display Images Copyright had been registered with customs record)
Thanks for purchasing our OBD smart digital device.This product connects car OBD2 interface by OBD cable, and display the driving datas, e.g. vehicle speed, engine RPM, water temperature, fuel consumption etc. It can keep the driver’s eyes always on road to avoid the dangerous of lowering down head to read the dashboard. This product won’t change any car ECU datas. OBD smart digital device is equipped with a very powerful detection for error code, the device can display the error code information clearly in text form,and it can clear the fault information,and display accelerating competitive mode,brake performance test mode, read the entire vehicle data stream information,and the other functions.
Main Functions & Features
- Available for cars with OBD2 and EUOBD port(Car automatic diagnosis system) ,plug and play
- TFT LCD multi color smart display
- The first scan will show the vehicle protocol
- The language can be changed 5.Multi function display mode or simple function display mode can be switched freely 6.Add new functions: accelerating competitive mode ,Brake performance test, can read the entire car data stream information
- Rich Contents:vehicle speed,engine RPM,water temperature,voltage,instantaneous fuel consumption,average fuel consumption,sum driving distance measurement,driving time ,low voltage alarm,high water temperature alarm,over speed alarm, engine fault code alarm, eliminate the fault code,freely switch between kilometers&miles.
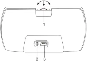
Key functions
- Setting button:it can push left / right, short / long press in
- Light sensor
- OBD interface

- Short press in:(1) switch the display mode (2)confirm the menu after enter into the menu
- Push left:(1)switch the left area functions(2)change the function setting after enter into the men
- Push right:(1)switch the right area functions(2)change the function setting after enter into the men
- Long press in: after enter into the menu and finish the setting, long press in for 5 seconds to keep and exit.
Push left/right to switch function:
Below are function abbreviations
ECT-engine coolant temperature VLT-Voltage FUE-fuel consumption
RPM- Revolutions Per minute ODO-odometer
TIM-driving time DIS-driving distance
Factory set:
Press in the setting button to find the system setting, and then short press in the button to enter into the menu, push right to switch to the factory set, and long press in to keep and exit.
Eliminate the fault code:
When the device scan the program successfully,long press in the the button to enter into the setting menu,then push right to switch to the troubleshooting,short press in,then find the eliminate the fault code function,long press in to finish.
Long press in to enter into the setting mode,push right to choose the menu,and short press in to confirm.Once finishing the setting,long press in to exit.

Setting functions
in the menu(setting) mode,all the default value can be changed,push left is to decrease,push right is to increase
Language Set: Please choose your familiar language(English/Simplified Chinese/Traditional Chinese)
Sound Switch: turn on/off the buzzer
Speed Alarm: the default value is 150 (the default value can be changed,push left is to decrease,push right is to increase)
Coolant alarm: default value is 120°, it means this device will give alarm when Coolant temperature is over 120°
RPM alarm: default value is 6000 r, it means this device will give alarm when RPM over 6000 r
BAT Alarm: default value is 10.5V, it means this device will give alarm when battery voltage is lower than 10.5V
Speed Adjust: adjust the speed according to the dashboard,default value is 107%
Speed Offset: When the vehicle turns off,but the device speed is not 0, then adjust the device Speed Offset value, if the device speed shows 5KM/H, then change the device Speed Offset default value at 5
BAT Adjust: if the battery voltage is different with the vehicle,it can be adjusted.
Engine Size: the default value is 1.6 L, if the fuel consumption is much different with the dashboard,please change it as the Displacement size
Fuel adjust: default value is 100%,it can be adjusted
Change Color 1: the top functions color on the screen
Change Color 2: the left side /middle functions color on the screen
Change Color 3: the right side /bottom functions color on the screen
Brightness: default 0(Automatic sensitivity),1-6(the brightness will be increased as the digital added)
CWT Unit: default coolant temperature is °C,also can be changed to ℉ Speed unit: default is KM,can be changed to Mile Sum distance: can make the total driving distance same as dashboard(if the dashboard shows the sum distance is 30000Km,the user can make the device value at 30000KM)
Power off time: default power off time is 10s,for Auto start and stop cars,please make the power off time to 180-240s
Sleep Voltage: default is off ,if the device can’t auto off,please adjust the voltage at 13.2V or higher
Factory set: short press in to do the factory set
Error code set
Scan DTCs: scan the ECU to check if there is the error code,and show the error details Clean DTCs:switch to Clean the DTCs,short press in the button to finish the cleaning
DTC Trouble Code Search
OBD-II search powered by dot.report
Driving test
Speedup test:show the speed,distance,the time for 400m and the time for 100KM/H Brake Test:show the speed,brake distance and time
Data Stream
Show all the vehicle data stream
OBD smart digital device installation
- Know your vehicle brand,the OBD smart digital device work for cars with OBDII agreement or EU OBD agreement. Open the engine hood and find the sticker below it (see the below picture 1), if it has words like OBDII CERTIFIED, then it can be installed.
- Find out the 16 pin diagnostic link (see the below picture 2) of the vehicle and connect it well with OBDII connecting line.

Technical Parameters
Environment temperature: -40c- + 80c atmospheric pressure 86-106KPa
Relative Humidity: 10% -95% environmental noise <= 60dB (A)
Alarm sound level: 》=30dB (A)
Working voltage: 9V ~ 16Vdc (12Vdc / 400mA)
Product size: 107x57x20 mm
Product Weight: 5
Troubleshooting
- The screen without any display,and no power
Start the car engine;check if the OBD cable line is tight;please pull down the OBD cables more times to ensure;check if product power switch turns on. If still no display ,please change another car to test, analyze whether the car OBD diagnostic interface is good, if it is not good,please repair it and try again. - Only shows the car voltage and be automatic power off after 60 second when the device is with power
this product just available for cars with OBD2 agreement and EU-OBD agreement (European region: after 03 years, Other region:after 07 years) This Products donnot support JOBD and OBDI and recommended test for another car. - Inaccurate Speed
a. First check the speed unit is correct or not, the speed unit including KM/H and MPH,please refer to the setting to switch the unit.
b. When the product is power on,long press in the button to enter into the menu option,and right push once switch to setting,then short press in the button to the menu,and right push the button switch to the speed adjust option.(if the dashboard shows 100,and the device shows the 101,change the default value at 106%) - Inaccurate Fuel consumption
Check your car displacement,and set the device same as your car(if your car is 2.0L,then change the device value at 2.0L).The fuel consumption can be adjusted,but we don’t suggest to change it ,because all the datas are read from the car ECU directly. - RPM Alarm
Default alarm is 6000,please refer to the setting to change. - Over peed alarm
Default alarm is 150KM/H,please refer to the setting to change the value. - The device cannot auto power off
A.After vehicle turns off,the device still display the speed,switch the setting to Speed Offset,and adjust the value same as the device speed.(if the device shows 5KM/H after the vehicle turns off,then change the speed offset at 5KM/H) B.After vehicle turns off,the device still display the RPM,switch the setting to sleep voltage,and make the value at 13.2V - Auto start and stop cars
Change the Power off time to 180s - Wrong operation lead to crashes
Do a factory set - Why it will cause the car dashboard fault code bright?
As Universal OBD device supports multiple communication modes, and generally each car only supports one kind of the communication protocol ,according to the protocol to pull up the unneeded pins by the pliers.(when the vehicle turns on,unplug and OBD cable and re-plug again, it will display the protocol)
1. Communication protocol ISO15765 CAN Bus,keep the 4/5/6/14/16 pins,and pull up the other pins,as the below picture:
communication protocol: ISO14230 KWP2000
2. Communication protocol ISO14230 KWP2000,keep the 4/5/7/16 pins,and pull up the other pins,as the below picture:
communication protocol: ISO14230 KWP2000
3. Communication protocol ISO 9141-2,keep the 4/5/7/15/16 pins,and pull up the other pins,as the below picture
communication protocolISO 9141






















