HALCYON R799 Recessed Tilt Display Light

Product Information
This product is a recessed luminaire intended for indoor use only. It has a clearance of 0mm from structural members and building elements, such as timber, joist or batten. The minimum insulation clearance to building element is also 0mm. The luminaire should not be installed through joist, beam, rafter or ceiling batten. The external flexible cable or cord of the luminaire should be replaced exclusively by the manufacturer or his authorized service
agent or a qualified person to avoid any hazard. The light source of this luminaire is not replaceable. The luminaire should be positioned in such a way that prolonged staring into it at a distance closer than 980mm is not expected.
Product Usage
- Ensure that the luminaire is suitable for indoor use only and has the required clearance from building elements.
- Do not install the luminaire through any structural member such as joist, beam, rafter, or ceiling batten.
- If the external flexible cable or cord of the luminaire is damaged, replace it with the help of the manufacturer or their authorized service agent, or a qualified person.
- Position the luminaire in such a way that prolonged staring into it at a distance closer than 980mm is not expected.
- Note that the light source of this luminaire is not replaceable. When it reaches its end of life, replace the whole luminaire.
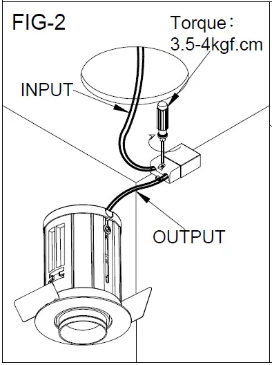
Installation Instructions and Torque Specifications




RISK OF FIRE – Required clearance from structural members and building elements
Side Clearance to building element (eg timber, joist or Batten) (SCB): 0mm
Height Clearance to building element (eg timber, joist or Batten) (HCB): 0mm
Minimum Insulation Clearance to building element (MIC): 0mm
Recessed Luminaire Classification:
IC – building insulation that can safely be continuously exposed to 90°C allowed to abut and cover the luminaire.
For indoor use only.
If the external flexible cable or cord of this luminaire is damaged, it shall be exclusively replaced by the manufacturer or his service agent or a similar qualified person in order to avoid a hazard. The light source of this luminaire is not replaceable; when the light source reaches its end of life the whole luminaire shall be replaced. The luminaire should be positioned so that prolonged staring into the luminaire at a distance closer than 980mm is not expected. DO NOT INSTALL THROUGH JOIST, BEAM, RAFTER OR CEILING BATTEN
Note: Side/Height Clearance is measured from heat sink



















