FANATEC CSL-P-LCK CSL Pedals Load Cell Unit

Thank you for choosing
To get the most out of your CSL Pedals Load Cell Kit, please read this manual before first use. It contains important health and safety information and should be retained for future reference.
WARNING! Photosensitive Seizures
A small percentage of people may experience a seizure when exposed to certain visual images, including flashing lights or patterns that may appear in video games. Even people who have no history of seizures or epilepsy may have an undiagnosed condition that can cause these “photosensitive epileptic seizures” while watching video games. These seizures may have a variety of symptoms, including light-headedness, altered vision, eye or face twitching, jerking or shaking of arms or legs, disorientation, confusion, or momentary loss of awareness. Seizures may also cause loss of consciousness or convulsions that can lead to injury from falling down or striking nearby objects. Immediately stop playing and consult a doctor if you experience any of these symptoms. Parents should watch for or ask their children about the above symptoms children and teenagers are more likely than adults to experience these seizures. The risk of photosensitive epileptic seizures may be reduced by taking the following precautions:
- Sit farther from the TV screen.
- Use a smaller TV screen.
- Play in a well-lit room.
- Do not play when you are drowsy or fatigued.
If you or any of your relatives have a history of seizures or epilepsy, consult a doctor before playing.
WARNING! Musculoskeletal disorders
Use of game controllers, keyboards, mice, or other electronic input devices may be linked to serious injuries or disorders. When playing video games, as with many activities, you may experience occasional discomfort in your hands, arms, shoulders, neck, or other parts of your body. However, if you experience symptoms such as persistent or recurring discomfort, pain, throbbing, aching, tingling, numbness, burning sensation, or stiffness, DO NOT IGNORE THESE WARNING SIGNS. PROMPTLY SEE A QUALIFIED HEALTH PROFESSIONAL, even if symptoms occur when you are not playing a video game. Symptoms such as these can be associated with painful and sometimes permanently disabling injuries or disorders of the nerves, muscles, tendons, blood vessels, and other parts of the body. These musculoskeletal disorders (MSDs) include carpal tunnel syndrome, tendonitis, tenosynovitis, vibration syndromes, and other conditions.
While researchers are not yet able to answer many questions about MSDs, there is general agreement that many factors may be linked to their occurrence, including medical and physical conditions, stress and how one copes with it, overall health, and how a person positions and uses their body during work and other activities (including playing a video game). Some studies suggest that the amount of time a person performs an activity may also be a factor. If you have questions about how your own lifestyle, activities, or medical or physical condition may be related to MSDs, see a qualified health professional.
GENERAL
ATTENTION!
- The device must not be exposed to rain or humidity in order to avoid risk of fire and / or electric shock.
- Operating room temperature: 15°C – 35°C
- Excessive use may cause health risks. We recommend taking a 5 minute break after every 20 minutes of use, and to not drive for more than 2 hours per day.
- We strongly advise you to not drive a vehicle immediately after using a video game.
- Not intended for children under the age of 6 years old. Contains small pieces which pose a choking hazard!
- Do not open the casing of the device.
- This device contains components that cannot be repaired by the user, opening will void the warranty.
WARNING! Electrical Safety:
The CSL Pedals Load Cell Kit must be connected to the appropriate wheel base port or PC USB port:
- If the CSL Pedals Load Cell Kit becomes damaged in any way, stop usage immediately and contact Fanatec® Customer Support: Fanatec.com/support/faq.
- All specifications in this document are subject to change. The PC driver may be updated to implement new features or general improvements.
- This manual discusses assembly, connections, and functions related to Fanatec® devices and other additional devices. This is not a replacement manual for the other corresponding products! Read the quick guides or user manuals for the other products!
- The warranty does not include defects that are due to commercial use of the product. See chapter “Warranty” at the end of this user manual as well as the Terms & Conditions on www.Fanatec.com for more details.
COMPATIBILITY
The CSL Pedals Load Cell Kit can be used with all CSL, CSL Elite, ClubSport, and Podium series wheel bases as well as standalone on a PC when attached to a CSL Pedals set.
IMPORTANT: We always recommend updating your Fanatec® devices to the latest firmware versions. A Windows PC is required to perform firmware updates. Download the latest PC driver containing the latest firmwares.

PACKAGE CONTENTS





ASSEMBLY
PLAN YOUR SETUP
To get started with using the CSL Pedals Load Cell Kit, decide on your preferred pedal module position, and pedal plate position. then connect the CSL Pedals Load Cell Kit to your wheel base via the included RJ12 cable or to a PC via USB. It is important to follow the chapter sequence of this manual for an effective assembly and setup procedure.
ATTENTION: See chapter 4.4 “Connections” for which pedal module must be connected to which port of the CSL Pedals Load Cell module. Only use the included USB and RJ12 cable from your CSL Pedals Load Cell Kit package contents to avoid damages!
ATTENTION: Place the CSL Pedals Load Cell Kit box on its side in order to remove the contents without dropping any items and to avoid damages!

ATTACHMENT
- Remove the RJ12 cable of the standard brake module from the accelerator pedal module of your CSL Pedals and remove the cable from the cable management clips.

- Remove the bolts of the brake and accelerator pedal units modules from the heel rest of your CSL Pedals.

- Move the brake and accelerator pedal modules outwards. (Exclude the standard brake module if you choose to not use the standard brake module as a clutch)

- Place the CSL Pedals Load Cell Kit module under the heel rest in your preferred position.

- Insert the included bolts d of the CSL Pedals Load Cell Kit unit and the bolts of the brake and accelerator pedal modules, then firmly secure the pedal units to the heel rest. (Exclude the standard brake if you choose to not use the standard brake as a clutch)

- OPTIONAL STEP: Remove the foam insert from the standard brake module if you choose to use the standard brake as a clutch.

PEDAL PLATE ADJUSTMENT
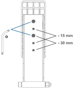
The CSL Pedals Load Cell Kit module features a height-adjustable pedal plate. There are 3 height settings that can be adjusted in descending increments of 15 mm. Use the included T20 Torx key e to loosen the bolts in order to perform the adjustment.
CONNECTIONS
- Connect the included RJ12 cable c to the `Wheel Base / Load Cell’ port of the accelerator module and to the `Load Cell’ port of the CSL Pedals Load Cell module.

- Connect the standard brake module cable to the `Clutch’ port of the accelerator module. (If you choose to use the standard brake module as a clutch)

- Insert the cables into the cable management clips.

- IMPORTANT! Do not connect the Pedals via RJ12 and USB at the same time!

Connect the CSL Pedals Load Cell module to a Windows PC via the included USB cable b.

Connect the CSL Pedals Load Cell module to a Fanatec wheel base via the RJ12 cable included with the standard CSL Pedals.

TUNING OPTIONS
After installing the Fanatec PC Driver (Fanatec Control Panel) open the Fanatec Control Panel, then navigate to `Pedals’ as shown below:

Brake Force changes the force needed to reach 100% brake input for load cell brake pedals and is available when a pedal set featuring a load cell brake is connected to a wheel base via RJ12 and to a PC via USB. `Lo’ requires the least amount of brake pressure, 100 requires the most amount of brake pressure.
BRF can be accessed via the wheel base Tuning Menu as well.
Combined Pedals

This feature allows the brake (load cell) and accelerator pedals to simultaneously operate on a single axis. 49% to 0% is operated by the brake pedal and 50% to 100% is operated by the accelerator pedal.
This feature’s purpose is to allow compatibility with older games that support only a single axis for braking and accelerating and is only accessible when connected to a Fanatec wheel base.
Manual Mode

By enabling `…Manual Mode’, the minimum and maximum values of each pedal can be manually set throughout the mechanical travel range of each pedal.
Example: Press the clutch pedal to the desired lower travel range for when you want the signal to start, then select `Min’. Press the clutch pedal to the desired upper travel range for when you want the signal to reach 100%, then select `Max’.
BRF (Brake Force) acts as the maximum value setting for the load cell brake and is accessible via the wheel base Tuning Menu as well. The brake `Min’ and `Max’ / `Min’ options for the other pedals are only accessible via the Fanatec Control Panel.
CLEANING
Clean only with a dry or slightly damp microfibre cloth. Using cleaning solutions may damage your CSL Pedals Load Cell Kit.
TROUBLESHOOTING
The CSL Pedals Load Cell Kit must not be modified in any way, other than what is explicitly described in this manual. Endor® AG expressly prohibits analysis and utilisation of the electronics, hardware, software, and firmware contained in this device. In case difficulties occur when using your CSL Pedals Load Cell Kit, please use the following troubleshooting guide. You will find further details and contact information on Fanatec.com/support/faq.
If the CSL Pedals Load Cell Kit is not working properly:
| Problem description | Solution |
| The PC driver or the wheel base does not recognise the CSL Pedals Load Cell Kit. | Make sure that you have updated your wheel base and CSL Pedals LC firmware to the latest firmware version contained within the latest PC driver which can be downloaded from fanatec.com/driver. |
| Ensure that you are using the RJ12 cable included with your CSL Pedals package. | |
| Ensure that the RJ12 cables are plugged in the correct ports of the CSL Pedals Load Cell Kit module and the correct port of the wheel base. See section 4.4 “Connections” | |
| After performing a firmware update of the CSL Pedals LC, the manually calibrated pedal positions are reset. | After performing a firmware update of the CSL Pedals LC, the manually calibrated pedal positions have to be manually calibrated again. See section 4.5 “Tuning Options”, “Manual Mode” |
| Pedal signal of the CSL Pedals and / or CSL Pedals LC in-game behaviour feels incorrect. | Connect the CSL Pedals LC to a PC or a wheel base. Start the Fanatec Control Panel and check the indicator bars of each pedal while pressing each corresponding pedal. You may need to do a manual calibration of minimum and / or maximum positions or reselect ‘…Manual Mode’ to adjust the pedal signal behaviour as desired. |
| After startup the CSL Pedals and / or CSL Pedals LC pedal signals are not correctly indicated, can be verified in the Fanatec Control Panel. | When powering ON the CSL Pedals LC without ‘…Manual Mode’ selected, every pedal lever must first be pressed to the maximum position and then back to the minimum position. The signal of each pedal should be fine. See section 4.5 “Tuning Options”, “Manual Mode” |
| Your PC does not boot when the CSL Pedals LC is connected via USB before Windows has booted. | This phenomenon is related to some main board manufacturers’ BIOS. In this case, it is required to boot the PC first and then connect the CSL Pedals LC via USB. |
| How can I get in contact with Fanatec customer support? | There is a chat service on our website, or you can create a Support Ticket via the ‘My Products’ section of your Fanatec account. |
VIDEO MANUAL
Watch our CSL Pedals Load Cell Kit video manual: Fanatec.com/QR/CSL-P-LCK
SERIAL NUMBER
Before contacting Fanatec® Customer Support please note the serial number of your CSL Pedals Load Cell Kit:
CSL Pedals Load Cell Kit:_________________________________
The serial number is located at the bottom of the gas pedal unit.
The serial number of the CSL Pedals Load Cell Kit starts with letters `LC’ and has additional 8 numbers, for example: LC021000370.
TRADEMARKS
“Fanatec®”, “Endor®”, “Podium”, “ClubSport”, and “FluxBarrier” are registered trademarks of Endor AG. Designed and developed by Endor AG in Germany.
All other trademarks are the property of their respective owners.
PRODUCT RECYCLING
Please follow your local regulations when disposing of this product as e-waste.
COMPLIANCE
CE COMPLIANCE
This device complies with the European product regulations according to CE regulations. The CE regulations contain basic requirements for safe usage of technical products.
FCC COMPLIANCE
This device complies with part 15 of the FCC rules. The operation of this device is subject to the following two conditions:
- This device may not cause harmful interference, and must accept any interference received, including interference that may cause undesired operation.
- This device was not modified differently than described explicitly in this user manual.
NOTE: This device was tested and approved to the limitations for class B of digital devices according to part 15 of the FCC rules. This limitation should ensure an adequate protection against harmful interferences in residential areas. However, a warranty for the non-recurring of interferences is not assumed.
Do not modify the device differently than explicitly described in this user manual. Nevertheless, if you do modify the device differently than explicitly described in the product-related manual, you can be determined to stop the operation of the device.

IMPORTERS:
Imported and distributed by Endor America LLC
8200 Wilshire Blvd. Suite 200 – Beverly Hills CA 90211 – USA
Telephone: +1 321-655-3524
Email: [email protected]
Website: www.fanatec.com – www.endor.ag
Endor Australia Pty Ltd
3 Staley Street, California Gully, Vic, 3556 – Australia
Telephone: 661 453 979 40
Email: [email protected]
Website: www.fanatec.com – www.endor.ag
Endor Japan Kabushikigaisya
E5001 3-13-1, Harumi Cyuo-ku Tokyo-to Tokyo 104-0053 – Japan
Telephone: 03-6717-2719
Email: [email protected]
Website: www.fanatec.com – www.endor.ag
12 WARRANTY
Endor® AG (“Endor”) or local subsidiaries warrants to the original purchaser that the Fanatec® product, which includes components contained in the retail box with this product will be free from material defects in material and workmanship for a period of one year from the original date of purchase (the “Warranty Period”). This warranty is valid in the country where the product was purchased. If this product is determined to be materially defective during the warranty period, your sole remedy and Endor’s sole and exclusive liability is limited to the repair or replacement of this product with a factory-recertified product, at Endor’s option. For purposes of this Limited Hardware Warranty and Liability, “factory recertified” means a product that has been returned to its original specifications.
This warranty does not apply if this product
a) is used with products that are not expressly declared in the product descriptions as compatible with this product;
b) is used with peripherals Endor does not license, expressly approve or sell. This includes non-licensed hardware enhancement devices, controllers, adaptors, and power supply devices (“non-licensed/nonapproved peripherals”);
c) is used for any commercial purpose, including rental or arcade purposes;
d) is modified or tampered with contrary to the operating and maintenance instructions;
e) is damaged by the acts of God (natural disasters), negligence, accidents, wear and tear, unreasonable use, or by causes unrelated to defective materials or workmanship;
f) has the serial number altered, defaced or removed (where applicable);
g) has the warranty seal altered, defaced or removed (where applicable).
This warranty does not cover consumables (such as batteries) or products sold and clearly marked “AS IS” or with faults. Endor may void this warranty if
1) Endor reasonably believes that the product has been used in a manner that violates the terms of a separate end user agreement for firmware, system software or game software;
2) the product is used with non-licensed/non-approved peripherals. Consumer assume all risks and liabilities associated with use of third-party products.
This warranty is provided to you in lieu of all other express or implied warranties. This includes warranties of merchantability and fitness for a particular purpose for this product, which Endor disclaims under these terms. However, if applicable law requires any of these warranties, then they are limited in duration to the warranty period.
Except as expressly stated above, Endor excludes all liability for loss of data, loss of profit, or any loss or damage suffered by you or any third party, whether those damages are direct, indirect, consequential, special, or incidental and however arising under any theory of law, as a result of using this product. Some states or provinces do not allow limitations on how long an implied warranty lasts and some states do not allow the exclusion or limitations of consequential or incidental damages, so these limitations or exclusions may not apply to you. This warranty gives you specific legal rights. You may also have other rights which vary from state to state or province to province. The warranty offered by Endor on this product is the same whether or not you register your product.
This warranty does not apply to any system software / firmware that is pre-installed in the purchased product, or is subsequently provided via update or upgrade releases. In case of issues apparently related to system software / firmware as well as any other product related issues, Endor recommends checking the FAQ database at fanatec.com/ support/faq to see if your problem can be solved there.
Manufactured and distributed by

Fanatec® is a registered trademark of Endor AG Designed and developed by Endor AG in Germany
E.ON-Allee 3 – 84036 Landshut – Germany
EU: 00800 0 FANATEC or +49 (871) 9221 -122
US/CANADA: 011 800 0 FANATEC or +49 (871) 9221 -122
AUSTRALIA: 00800 0 FANATEC or +49 (871) 9221 -122
JAPAN: +81 306 7172 -719
Email: [email protected]
Website: www.fanatec.com – www.endor.ag
Made in China
![]()






























