WINDTUNNEL
CORD REWIND
UPRIGHT VACUUM
OWNER’S MANUAL
MODELS: UH71300 | UH71310 | UH71320
UH71330 | UH71350 IMPORTANT: READ CAREFULLY BEFORE ASSEMBLY AND USE.
This product is intended for household use only. Is used commercially warranty is VOID. Questions or concerns? For assistance, please call Customer Service at 1-800-944-9200 Mon-Fri 9 am-7 pm EST. PLEASE DO NOT RETURN THIS PRODUCT TO THE STORE
IMPORTANT SAFETY INSTRUCTIONS SAVE THESE INSTRUCTIONS
READ ALL SAFETY WARNINGS AND INSTRUCTIONS BEFORE USING THIS PRODUCT.
- Fully assembled product prior to use.
- Operate cleaner only at voltage specified on a data plate on the back of the cleaner.
- Do not leave the product when plugged in. Unplug from outlet when not in use and before servicing.
- Do not use outdoors or on wet surfaces.
- Do not allow it to be used as a toy. Not intended for use by children age 12 and under. Close supervision is necessary when used by or near children. To avoid injury or damage, keep children away from the product, and do not allow children to place fingers or other objects into any openings.
- Use only as described in this user’s manual. Use only HOOVER® recommended attachments.
- Do not use products with damaged cords or plugs. If the product is not working as it should, has been dropped, damaged, left outdoors, or dropped into water, call customer service at 1-800-944-9200 prior to continuing use.
- Do not pull or carry by cord, use cord as a handle, close a door on cord, or pull cord around sharp edges or corners.
Do not run appliance over cord. Keep cord away from heated surfaces. - Do not unplug by pulling on the cord. To unplug, grasp the plug, not the cord.
- Do not handle plug or appliance with wet hands.
- Do not put any object into openings. Do not use with any opening blocked; keep free of dust, lint, hair, and anything that may reduce airflow.
- Keep hair, loose clothing, fingers, and all parts of the body away from openings and moving parts. Brush roll continues to rotate when in the upright position.
- Turn off all controls before unplugging.
- Use extra care when cleaning on stairs. To avoid personal injury or damage, and to prevent the cleaner from falling, always place cleaner at bottom of stairs or on floor. Do not place cleaner on stairs or furniture, as it may result in injury or damage.
- Do not use to pick up flammable or combustible liquids, such as gasoline, or fine wood sandings, or use in areas where they may be present.
- Unplug before connecting Turbo Tool.
- Do not pick up anything that is burning or smoking, such as cigarettes, matches, or hot ashes.
- Do not use without filters or a dirt cup in place.
CAUTION: TO REDUCE THE RISK OF DAMAGE:
- Avoid picking up hard, sharp objects with this product, as they may cause damage.
- Store appropriately indoors in a dry place. Do not expose the machine to freezing temperatures.
- The brush roll continues to turn while the product is turned on and the handle is in an upright position. To avoid damage to carpet, rugs, and flooring, avoid tipping cleaner or setting it on furniture, fringed area rugs, or carpeted stairs during tool use.
- Do not use sharp objects to clean out the hose as they can cause damage.
- With brush roll on, do not allow cleaner to sit in one location for an extended period of time, as damage to floor can result.
WARNING: To reduce the risk of electric shock, this appliance has a polarized plug (one blade is wider than the other). This plug will fit in a polarized outlet only one way. If the plug does not fit fully in the outlet, reverse the plug. If it still does not fit, contact a qualified electrician to install the proper outlet. Do not change the plugin anyway.
CORD REWIND AND STORAGE: To return the cord for storage, hold the plug and press down Cord Release Pedal (B) on side of the cord reel.
WARNING: To reduce the risk of personal injury – Unplug before cleaning or servicing. Do not use a vacuum without a dirt cup or filters in place.
LUBRICATION: The motor is equipped with bearings that contain sufficient lubrication for its lifetime. The addition of lubrication could cause damage. Do not add lubricant to the motor bearings.
THERMAL PROTECTION: A Thermal Protector has been designed into your cleaner to protect it from overheating. When the Thermal Protector activates, the cleaner will stop running. If this happens proceed as follows: 1. Turn the cleaner OFF and unplug it. 2. Empty the dirt cup. 3. Inspect the nozzle inlet, hose connector, hose, dirt cup inlet, cyclonic filter rinsable filter, and exhaust filter for any obstructions. Clear obstructions if present. 4. When the cleaner is de-energized and the motor cools for 30 minutes, the thermal protector will deactivate and cleaning may continue. If the thermal protector continues to activate after following the above steps, your cleaner needs servicing.
WARNING: To reduce the risk of personal injury, unplug before cleaning or servicing.
LIMITED WARRANTY FOR HOOVER® PRODUCT
TWO YEAR WARRANTY (DOMESTIC USE)
If this product is not as warranted, contact TTI Floor Care North America Customer Service at 1-800-944-9200. Please have available the proof of purchase and model number for the warranted product.
WHAT THIS WARRANTY COVERS
This limited warranty is provided by Royal Appliance Mfg. Co., doing business as TTI Floor Care North America (referred to hereafter as “Warrantor”) applies only to products purchased in the U.S. (including its territories and possessions), a U.S. Military Exchange, or Canada. When used and maintained in normal household use and in accordance with the Owner’s Guide, this product is warranted against original defects in material and workmanship for TWO years from the date of original purchase (the “Warranty Period”). If Warrantor determines that the issue you are experiencing is covered under the terms of this warranty (a “covered warranty claim”), we will, at our sole discretion and free of charge (subject to the cost of shipping), either (i) repair your product; (ii) ship you a replacement product, subject to availability; or (iii) in the event that the applicable parts or replacement are not reasonably available, ship you a similar product of equal or greater value. In the unlikely event that we are unable to repair your product or ship a replacement or similar product, we reserve the right, at our sole discretion, to issue you a refund or store credit (if applicable) of the actual purchase price at the time of the original purchase as reflected on the original sales receipt. Parts and replacements may be new, refurbished, lightly used, or remanufactured, at Warrantor’s sole discretion.
WHO THIS LIMITED WARRANTY COVERS
This limited warranty extends only to the original retail purchaser, with original proof of purchase from the Warrantor or an authorized dealer of Warrantor products, in the U.S., U.S. Military Exchanges, and Canada.
WHAT THIS WARRANTY DOES NOT COVER
This warranty does not cover the use of the product in a commercial operation (such as maid, janitorial, and equipment rental services, or any other income-generating activity); improper maintenance of the product; the product if it has been subject to misuse, negligence, neglect, vandalism, or the use of voltages other than that on the data plate of this product. This warranty does not cover damage resulting from an act of God, accident, owner’s acts or omissions, service of this product by other than Warrantor or a Warrantor authorized service provider (if applicable), or other acts beyond the control of Warrantor. This warranty also does not cover use outside the country in which the product was initially purchased or resale of the product by the original owner. Pick-up, delivery, transportation, and house calls are not covered by this warranty. In addition, this warranty does not cover any product that has been altered or modified, or repairs made necessary by normal wear or the use of other products, parts, or accessories which are either incompatible with this product or adversely affect this product’s operation, performance, or durability. Normal wear items are not covered under this warranty. Depending on the product, normal wear items may include, but are not limited to, belts, filters, brush rolls, blower fans, blower, and vacuum tubes, and vacuum bags and straps.
OTHER IMPORTANT TERMS
This warranty is not transferable and may not be assigned; any assignment made in contravention of this prohibition is void. This warranty shall be governed and construed under the laws of the state of North Carolina. The Warranty The period will not be extended by any replacement of batteries, parts, or products or by virtue of any repair performed under this warranty.
THIS LIMITED WARRANTY IS THE EXCLUSIVE WARRANTY AND REMEDY, AND ALL EXPRESS AND IMPLIED WARRANTIES OTHER THAN THE LIMITED WARRANTY SET FORTH ABOVE, INCLUDING IMPLIED WARRANTIES OF MERCHANTABILITY AND FITNESS FOR A PARTICULAR PURPOSE, ARE EXPRESSLY DISCLAIMED. IN NO EVENT WILL WARRANTOR BE LIABLE FOR ANY SPECIAL, INDIRECT, INCIDENTAL OR CONSEQUENTIAL DAMAGES OF ANY KIND OR NATURE TO OWNER OR ANY PARTY CLAIMING THROUGH OWNER, WHETHER BASED IN CONTRACT, NEGLIGENCE, TORT, OR STRICT PRODUCTS LIABILITY OR ARISING FROM ANY CAUSE WHATSOEVER, EVEN IF THIS WARRANTY FAILS OF ITS ESSENTIAL PURPOSE. TO THE EXTENT PERMITTED BY APPLICABLE LAW, NO WARRANTIES THAT ARISE BY OPERATION OF LAW, IF APPLICABLE, SHALL EXCEED THE DURATION OF THE LIMITED WARRANTY PROVIDED HEREIN. WARRANTOR’S LIABILITY FOR DAMAGES TO YOU FOR ANY COSTS WHATSOEVER ARISING OUT OF THIS STATEMENT OF LIMITED WARRANTY SHALL BE LIMITED TO THE AMOUNT PAID FOR THIS PRODUCT AT THE TIME OF ORIGINAL PURCHASE.
Some states do not allow the exclusion or limitation of incidental or consequential damages, disclaimers of implied warranties, or limitations on the duration of implied arranties, so the above exclusions, disclaimers, and/or limitations may not apply to you. This warranty gives you specific legal rights, and you may also have other rights, which vary from state to state.
GENUINE PARTS AND ACCESSORIES
We recommend using only genuine HOOVER® parts and accessories. Damage caused by use with other than genuine HOOVER® parts and accessories are not covered by and may void your warranty.
For assistance, please call Customer Service:1-800-944-9200 Mon-Fri 9 am-7 pm EST
Please visit Hoover.com for video instructions and faqs for this Upright Vacuum.
Replacement parts and accessories such as a turbo tool are available at Hoover.com.
©2021 Techtronic Floor Care Technology Limited. All Rights Reserved. Distributed by Hoover, Inc., Charlotte, NC 28262.
FULLY ASSEMBLE PRODUCT PRIOR TO USE
ASSEMBLY
1.
Insert handle section into vacuum base. Push down firmly. Using a Phillips screwdriver, fasten included screw behind handle into vacuum base.
2.

Wrap the hose around the top of the hose guide located on the handle. Insert the hose into the hose tube until you hear a click.
3.

Place the bottom of the dirt cup into the vacuum body first. Pivot cup into the vacuum. The dirt cup is secure when you hear a click.
NOTE: Place the Crevice Tool into Wand and slide into a tool storage area on the left backside of the vacuum and place Turbo Tool on the right back side of the vacuum as shown. Place adjustable dusting brush on top of the wand.
OPERATION
ON/OFF SWITCH
Plug cord into an electrical outlet. To turn vacuum ON (I=0N), push ON/OFF switch (A) to ON position. To turn vacuum OFF (O=OFF), push the switch to the OFF position.

CORD RELEASE
Prior to using, grasp the end of the plug and pull to release the cord from the cord reel until the red tape is reached.
IMPORTANT: When pulling on the cord, the yellow tape will identify when the cord is almost fully extended. When a red tape is visible on the cord, the cord has reached its full length. (Do not pull the cord past the red tape.)
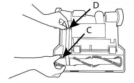
CARPET HEIGHT ADJUSTMENT
To adjust height setting, PUSH DOWN and TURN knob (C) to desired height setting.
USING HOSE AND ATTACHMENTS
CAUTION: To reduce the risk of injury from moving parts – Unplug before servicing.
CAUTION: Not to be used for grooming pets.
1.

To remove the hose for tool use, press the hose release button and pull the hose end out. To lock back into place, push the hose into the hose tube until you hear a click.
2.

To attach the tool or wand to the hose, push firmly into place.
TO CLEAN STAIRS:
3.

Use the Hose and Turbo Tool (Tool varies per model) for stair cleaning.
CAUTION: Use extra care when cleaning on stairs. To avoid personal injury or damage, and to prevent the cleaner from falling, always place cleaner at the bottom of the stairs or on the floor. Do not place cleaner on stairs or furniture, as it may result in injury or damage. When using tools, always ensure the handle is in the upright position.
MAINTENANCE
WARNING: To reduce the risk of personal injury – Unplug before cleaning or servicing. Do not use a vacuum without a dirt cup or filters in place.
This product contains no serviceable parts. If the appliance is not working as it should, has been dropped, damaged, left outdoors, or dropped into water, call customer service at 1-800-944-9200 prior to continuing use.
IMPORTANT: The System Check Indicator located at (A), alerts you to possible system performance issues.
1.
HOW TO EMPTY
2.
Press the dirt cup release button (C) and pivot the cup out.
3.
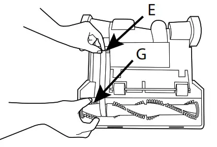
Hold dirt cup over a trash receptacle, push dirt cup door release lever (D) to open dirt cup door (E). Close dirt cup door (E). Press firmly to secure.
4.

Place the bottom of the dirt cup into the vacuum body first. Pivot dirt cup into vacuum body and press firmly until it locks into place.
NOTE: To maintain optimal performance, empty the dirt cup before the dirt cup reaches the max line (B). Place the vacuum in the upright position before removing the dirt cup.
RINSE FILTER: HOW TO CLEAN
PART #304087001
NOTE: To maintain optimal performance, filters should be cleaned at least every two months under normal use.
1.
To clean: Twist the dirt cup handle counterclockwise to open and remove the lid.
2.
Pull tab to remove rinsable filter. Rinse with water for two minutes or until water runs clear. Then squeeze out excess water. Allow 24 hours for the filter to dry completely. Replace filter, tab side out.
3.
Replace the dirt cup lid and twist clockwise until locked in position.
IMPORTANT: Allow filter to dry completely before replacing
NOTE: To maintain optimal performance, filters should be cleaned at least every two months under normal use.
CYCLONIC FILTER ASSEMBLY: HOW TO CLEAN
1.

Pull filter assembly (G) out of dirt cup and remove.
2.

Dirt and debris can be cleaned from the filter assembly with the adjustable dusting brush
3.

Place the filter assembly on the dirt cup. Line up tabs (H) on lid with dirt cup body.
4.

Replace the dirt cup lid and twist clockwise until locked in position. Replace the dirt cup.
EXHAUST FILTER: HOW TO CLEAN (Exact filter may vary by model)
PART #440005573
1.
With fingers under the filter door lip, pull filter frame (A) out and away from the vacuum body.
Hold filter over a trash receptacle and tap out dirt and debris.
2.
Bottom filter (B) must be pushed back into place first.
3.

Then push the upper handle in (C) until it clicks.
4.

Filter diagram: (B) bottom filter. (C) upper handle
IMPORTANT: DO NOT
RINSE OR WASH THE FILTER MADE WITH HEPA MEDIA.
WARNING: To reduce the risk of personal injury – Unplug before cleaning or servicing. Do not use a vacuum without a dirt cup or filters in place.
NOTE: Place handles in the low position and turns the cleaner over so the bottom side is up.
1.

Remove the 6 screws as shown with a Phillips screwdriver.
2.

Liftoff the bottom plate (A).
3.

Remove used belt from brushroll (C) than from motor shaft (metal rod) (D) and discard.
4.

Remove used belt from brushroll (C) than from motor shaft (metal rod) (D) and discard.
5.

With belt in place, pull and slide brushroll into nozzle making sure that the brushroll end caps are in the correct orientation6.Place the bottom plate aligning the screw holes and re-install the 6 screws
POWERED HAND TOOL: HOW TO CLEAN (Tools vary per model)
1.
Clean the Turbo Tool by removing the two screws (A), located on the bottom cover, with a Phillips head screwdriver.
2.
Remove the bottom cover (B). Clean out any debris or hair from the brushroll and turbine fan.
3.
Replace the bottom cover, insert and tighten the (2) screws.
TROUBLESHOOTING
AVAILABLE REPLACEMENT PARTS AND ACCESSORIES SUCH AS BRUSH ROLLS AND BELTS CAN BE FOUND ON HOOVER.COM.
IF THE APPLIANCE IS NOT WORKING AS IT SHOULD, HAS BEEN DROPPED, DAMAGED, LEFT OUTDOORS, OR DROPPED INTO WATER, CALL CUSTOMER SERVICE AT 1 (800) 944-9200 PRIOR TO CONTINUING USE.
ALWAYS IDENTIFY YOUR CLEANER BY THE COMPLETE MODEL NUMBER. (THE MODEL NUMBER APPEARS ON THE BACK OF THE CLEANER.)
WARNING: To reduce risk of personal injury – Unplug before cleaning or servicing.
| Problem | Possible Cause | Possible Solution |
| The vacuum won’t run | 1. Power cord not firmly plugged into an outlet. | 1. Plug unit in firmly. |
| 2. Blown fuse or tripped breaker. | 2. Check fuse or breaker in home. Replace fuse reset breaker in home. | |
| 3. Thermal Protector activated. | 3. Unplug and allow the vacuum to cool for 30min.(This will reset the thermal protector) | |
| System Check Indicator has turned red or Vacuum won’t pick up or low suction | I. Rinsable Filter and/ or Filter made with HEPA media is dirty. | 1. Clean Rinsable Filter and or Filter made with HEPA media. |
| 2. Dirt cup lull and or clogged. | 2. Empty dirt cup. | |
| 3. Broken or worn belt. | 3. Replace belt. | |
| 4. Brushroll and! or Hose clogged. | 4. Check Hose – Pg.13. Check Brushroll. | |
| 5. Carpet height setting is incorrect. | 5. Set Carpet Height Adjustment to the appropriate setting for carpet being cleaned. | |
| Cord Rewind does not work | I. Cord reel does not retract. | 1. Call 1-WD-944-9200 for the nearest authorized service representative |
| Dust escaping from vacuum | 1. Dirt cup lull. | 1. Empty dirt cup. |
| 2. Dirt cup was not installed correctly. | 1. Review Dirt Cup removal & replacement. | |
| 3. Hose not installed correctly. | 3. Review Hose installation. | |
| 4. Rinsable and or Filter made with HEPA media not installed completely. | 4. Review Filter Removal and Cleaning. | |
| Vacuum is difficult to push or won’t move forward | 1. Carpet height setting is incorrect. | 1. Set Carpet Height Adjustment knob to appropriate setting for carpet being cleaned. |
| Turbo Tool brushroll won’t turn | 1. Too much pressure is being applied to the tool. | 1. Continue using the tool applying light pressure. |
| 2. Blockage. | 2. Remove blockage | |
| 3. Low vacuum suction. | 4. Check items under ‘Vacuum won’t pick or Low suction: | |
| Smokylburning smell detected | 1. Ben broken or stretched. | 1. Replace brushroll bet:. |
| 2. Brushroll is clogged. | 2. Clear! remove debris from brushroll. |


















