
eBridge16PCRX Sixteen (16) Channel IP over Coax Receiver
Installation Guide
Rev. 072412
More than just power.
TM
Installing Company: _______________ Service Rep. Name: __________________________________
Address: _____________________________________________ Phone #: __________________
Overview:
Altronix eBridge16PCRX is a CAT5 to Coax cable Managed Ethernet Midspan receiver. The receiver enables fast 10/100Base-T Ethernet digital communication to be received over a Coax cable. eBridge16PCRX receiver sends power over the coax to the eBridge1PCT 15.4W (PoE), eBridge1PCTX 30W (PoE+) or eBridge1ST 30W (PoE+) transmitter under PoE protocol. eBridge1PCT/1PCTX/1ST, in turn, delivers that power to PoE-enabled cameras or devices. eBridge16PCRX will not deliver power to non-compliant devices. These plug-and-play units facilitate system upgrades from analog to IP cameras/devices utilizing existing legacy Coax and eliminating the costs and labor associated with installing new network cabling. In addition, data transmission and power over the Coax is possible up to 500m in comparison to 100m Ethernet maximum distance (see maximum Length of Coax Type vs. Camera Power/PoE Class, pg. 7). A maximum range from the headend to the PoE camera/device is 700m, taking into consideration that up to 100m of structured cable may be deployed at each end. Altronix offers model VertiLine563 Rack Mount Power Supply/Charger which provides 56VDC output which will power one (1) eBridge16PCRX receiver with a maximum of sixteen (16) PoE cameras/devices or twelve (12) PoE+ cameras/devices.
Features:
Agency Listings:
- UL 60950-1 Information Technology Equipment.
- CE European Conformity.
- C-Tick C-Tick Compliant.
Compatible Transceivers:
- eBridge1PCT: Single port ethernet/PoE transceiver.
- eBridge1PCTX: PoE/PoE+ compliant transceiver.
- eBridge1ST: PoE/PoE+ compliant mini transceiver.
Input:
- 48VDC to 56VDC UL Listed power supply (attention to observing polarity).
Note: Use 54V to 56V power supply to achieve full power per IEEE802.3 at standard.
Power Consumption:
- 48VDC/2.6A, 56VDC/2.6A.
eBridge1PCTX or eBridge1ST (30W): Powered by eBridge16PCRX.
eBridge1PCT (15W): Powered by eBridge16PCRX.
Ethernet:
- Connectivity: RJ45, auto-crossover.
- Wire type: 4-pair CAT5 or better-structured cable.
- Distance: up to 100m.
- Speed: 10/100BaseT, half/full duplex, auto negotiation.
- Throughput is rated to pass 25Mbps of data at distances up to 500m. With proper headend equipment, multiple Megapixel cameras can be used.
Coax:
- Distance: up to 500m.
- Connectivity: BNC, RG-59/U, or similar.
LED Indicators:
- Blue LED – Coax link connection.
- Green LED – Power.
- Yellow and Green LED (RJ45) IP Link status, 10/100Base-T/active.
Environmental:
- Operating temperature: – 10ºC to 50ºC (14ºF to 122ºF).
- Storage temperature: – 30ºC to 70ºC (– 22ºF to 158ºF).
- Humidity: 20 to 85%, non-condensing.
Applications:
- Retrofit digital IP cameras in an analog CCTV installation.
- Works with Megapixel, HD720, HD1080 and VGA (SD) cameras (see note, pg. 4).
- Extend Network link distance in an industrial environment.
- Upgrade deployed CCTV Coax to a digital network in Retail, Hospitality, Arenas, Casinos, Airports, Schools, Hospitals, Transportation, etc.
Accessories:
- VertiLine563: 56VDC Rack Mount Power Supply/ Charger.
- RE2: Rackmount battery enclosure. Accommodates up to four 12VDC/7AH batteries (batteries not included).
Mechanical:
- Dimensions (H x W x D approx.): 1.625” x 19.125” x 8.5” (42mm x 486mm x 216mm)
Installation Instructions:
Wiring methods shall be in accordance with the National Electrical Code/NFPA 70/ANSI, and with all local codes and authorities having jurisdiction. Wiring should be UL Listed and/or Recognized wire suitable for the application. eBridge16PCRX is not intended to be connected to outside plant leads and should be installed indoors within the
protected premises. The eBridge16PCRX is intended for indoor use only. This product is intended to be supplied by a UL Listed Power Supply rated from 48VDC to 56VDC.
There are two Inputs. Each Input supplies power to the respective 8 ports (Input1 powers ports 1-8, Input2 powers ports 9-16). Input 1 is required when using IP connectivity for managed control. Elevated Operating Ambient – If installed in a closed or multi-unit rack assembly, the operating ambient temperature of the rack environment may be greater than room ambient. Therefore, consideration should be given to installing the equipment in an environment compatible with the maximum ambient temperature (Tma) specified by the manufacturer. Reduced Air Flow – Installation of the equipment in a rack should be such that the amount of airflow required for the safe operation of the equipment is not compromised. Do not obstruct any air vents on the unit. It is recommended to leave half space above and below the unit. Mechanical Loading – Mounting of the equipment in the rack should be such that a hazardous condition is not achieved due to uneven mechanical loading. Circuit Overloading – Consideration should be given to the connection of the equipment to the supply circuit and the effect that overloading of the circuits might have on overcurrent protection and supply wiring. Appropriate consideration of equipment nameplate rating should be used when addressing this concern. Reliable Earthing – Reliable earthing of rack-mounted equipment should be maintained. Particular attention should be given to supply connections other than direct connections to the branch circuit (e.g. use of power strips).
- Attach mounting brackets to eBridge16PCRX unit for rack installation (Fig. 7, pg. 11). Affix rubber pads to eBridge16PCRX for shelf installation (Fig. 9, pg. 11).
- Unit should be located in proximity to an ethernet switch/network, NVR, or video server.
- Connect UL Listed 48VDC/56VDC (attention to observe polarity) UL Listed power supply to the jack marked [Input 1] and [Input 2] using two pin plug-in connector (supplied) (Fig. 1, pg. 5). Use 22AWG-16AWG wire for this connection.
- Connect the structured cable from ethernet switch/NVR (network video server) to RJ45 jack marked[10/100BaseT] (Fig. 1, pg. 5).
- Connect the Coax cable to the BNC connector marked [Data In] (Fig. 1, pg. 5).
Note: The eBridge is designed to accommodate Megapixel, HD720, HD1080, and VGA (SD) cameras. It is important to note that some high-resolution and high frame rate cameras may demand faster headend processing ability, such as a PC graphics card to present a quality image. If the headend processing equipment is insufficient in speed, the image may show pixelation and latency. It is advisable to pretest the system if unsure. Alternatively, frame rate and resolution may be reduced to accommodate system equipment.
| Parameter | Description |
| Connections | BNC for Coax link. RJ45 for ethernet link. |
| Input Power Requirements | 48VDC/5.2A, 56VDC/5.2A per Input (Input 1 and 2) Total current 10.4A. |
| Indicators | Blue: Coax Link. Yellow (RJ45 connector): On-Link, Off – No Link, Blinking – Activity. Green (RJ45 connector): On – 100Base-TX, Off – 10Base-T. Green: Power. |
| Environmental Conditions | Operating Ambient Temperature (UL60950-1): – 10ºC to 50ºC (14ºF to 122ºF). Storage Temperature: – 20ºC to 70ºC (– 4ºF to 158ºF). Relative humidity: 85%, +/– 5%. Operating Altitude: – 304.8 to 2,000m. |
| Regulatory Compliance | UL/cUL Listed for Information Technology Equipment (UL 60950-1). CE European Conformity. C-Tick Compliant. |
| Weights (approx.) | Product: 7.2 lb. (3.27 kg) | Shipping: 9.2 lbs. (4.17 kg) |


Maximum Length of Coax Type vs. Camera Power/PoE Class:
| Camera Power/ PoE Class | Coax Type | ||||
| RG59/U – 23AWG | RG59/U – 22AWG | RG59/U – 20AWG | RG59/U – 18AWG | RG6/U – 18AWG | |
Max. Length (meters) | |||||
| 13W/0 | 261 | 336 | 500 | 500 | 500 |
| 4W/1 | 500 | 500 | 500 | 500 | 500 |
| 6.5W/2 | 500 | 500 | 500 | 500 | 500 |
| 13W/3 | 261 | 336 | 500 | 500 | 500 |
| 19W | 153 | 199 | 316 | 500 | 500 |
| 25W | 119 | 152 | 240 | 366 | 366 |
eBridge16PCRX User Interface and Programming:
Note: A constant PC connection is not required for proper operations and is used as a local programming/ monitoring tool only.
Step 1. Set Local Area Connection of your laptop to DHCP mode.
For Windows XP:
a. Open Network Connections by clicking the Start button, then clicking Settings, then clicking
Network Connections.
b. Right click the Local Area Connection. Click Properties. Administrator permission is required. If you are prompted for an administrator password or confirmation, type the password or provide confirmation.
c. Double click the Internet Protocol (TCP/IP) menu item.
d. Choose the Obtain an IP address automatically option.
e. Click OK. Close all windows.
For Windows Vista:
a. Open Network Connections by clicking the Start button Picture of the Start button, clicking Control Panel, clicking Network and Internet, clicking Network and Sharing Center, and then clicking Manage Network connections.
b. Right click the Local Area Connection icon, and then click Properties. Administrator permission is required. If you are prompted for an administrator password or confirmation, type the password or provide confirmation.
c. Click the Networking tab. Under this connection uses the following items, click either Internet Protocol Version 4 (TCP/IPv4) or Internet Protocol Version 6 (TCP/IPv6), and then click Properties.
d. To specify IPv4 IP address settings, click Obtain an IP address automatically, and then click OK.
e. To specify IPv6 IP address settings, click Obtain an IPv6 address automatically, and then click OK.
For Windows 7:
a. Open Network Connections by clicking the Start button Picture of the Start button, clicking Control Panel, clicking Network and Internet, clicking Network and Sharing Center, and then clicking Manage Network connections
b. Right click the Local Area Connection icon, and then click Properties. Administrator permission is required. If you are prompted for an administrator password or confirmation, type the password or provide confirmation.
c. Click the Networking tab. Under this connection uses the following items, click either Internet Protocol Version 4 (TCP/IPv4) or Internet Protocol Version 6 (TCP/IPv6), and then click Properties.
d. To specify IPv4 IP address settings, click Obtain an IP address automatically, and then click OK.
e. To specify IPv6 IP address settings, click Obtain an IPv6 address automatically, and then click OK.
Step 2. Connect a laptop or PC to the Ethernet port of your eBridge16PCRX unit, or connect your eBridge16PCRX and laptop/PC to a DHCP router if eBridge16PCRX is in DHCP mode. The eBridge16PCRX unit should be powered up at this moment.
Step 3. Open a browser window (it is necessary to update your browser software to the latest version so that the pages display and function correctly).
Step 4. Enter the eBridge16PCRX IP address (the default IP address is 192.168.168.168), or enter the eBridge16PCRX hostname if in DHCP mode (default hostname is “eBridge16PCRX1”) into the address bar. Status page will be displayed.
Configuring eBridge16PCRX for Network Connection:
Since every Network Configuration is different, please check with your Network Administrator to see whether your eBridge16PCRX should use static IP addresses, or DHCP-assigned IP addresses and/or an Inbound Port assignment prior to setting up network connection.
- Click the Network Settings link.
If you are prompted for an administrative password, type and submit the password.
Note: Default settings have password requirements turned off. - Network Setup page will be displayed. You may now configure your eBridge16PCRX for a network connection.
Fig. 3 – is a screenshot of the NETWORK SETTING MENU. This menu is for configuring the eBridge16PCRX units for a network connection.
Fig. 4 – Setup – LAN
Additional Information:
1. If using DHCP, all settings will be detected automatically.
While DHCP is a useful tool for determining the network settings, if you set up your eBridge16PCRX in this manner its IP address may change at different times for different reasons, particularly after a power failure. If the IP address of the eBridge16PCRX changes, you may have difficulties accessing your eBridge16PCRX locally and/or remotely. It is strongly recommended that you connect via hostname when units are configured as DHCP. Please do not set the DHCP address issued to the eBridge16PCRX by the router as its static IP address unless you take specific steps that program your router to prevent such address conflicts.
2. If using a Static IP (recommended), you will need to input the information manually. In order for DDNS to work, you must enter valid data, compatible with your network, for all of the network setting fields: IP address, Subnet Mask, Inbound Port, and Host Name.
3. If you are connecting through a router, make sure that you have ‘opened up all the required network ports in the port forwarding section of your router’s setup options. That is, you have directed the router to send any incoming traffic using those IP ports to the LAN IP address of the eBridge16PCRX. Useful information about router port forwarding can be found at www.portforward.com. Different routers may use different terms for port forwarding functions. For instance, D-Link calls it a virtual server, Netopia calls it pinholes. The default port for eBridge16PCRX is: 80
Note: Port 80 is the default port used for web browsing. Because of this, in order to prevent the average user from hosting a web server, most ISPs BLOCK traffic using port 80 from reaching the average site. If you only plan to monitor your eBridge16PCRX on a LAN, you can use port 80 and don’t have to concern yourself with routers. However, if you desire remote access to your eBridge16PCRX, you MUST select functional ports and set up the port forwarding in your router. Other ports, such as 8080 and 8000 are sometimes blocked by ISPs as well. Which port(s) should be used? There are 65,535 valid IP ports to choose from. These are broken down into three groups:
- Well Known Ports 0 through 1023.
- Registered Ports 1024 through 49151.
- Dynamic and/or Private Ports 49152 through 65535.
So, rather than encounter a port conflict by choosing a port commonly used for another purpose (like port 25 for SMTP mail or port 448 for secure sockets), choose an unusual port number. For example, adding 50,000 to your house number: 50,123 is less likely to lead to a port conflict. For a list of the known and registered ports, see http://www.iana.org/assignments/port-numbers.
Reset Features:
Reset Password:
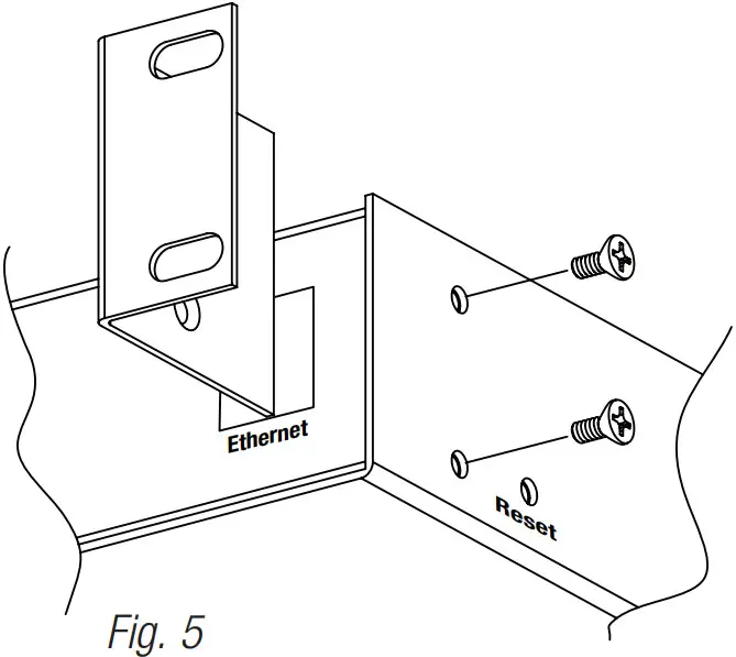
- Remove unit from the rack (Fig. 5, pg. 9).
- Remove mounting bracket located to the right of the ethernet port (Fig. 5, pg. 9).
- Disonnect two pin plug connector from the jack marked [Input 1] (Fig. 5, pg. 9).
- Reconnect two pin plug connector to the jack marked [Input 1] while depressing the [RESET button] on the side of the eBridge16PCRX (Fig. 5, pg. 9).
Reset IP to Factory Settings:
- Remove unit from the rack (Fig. 5, pg. 9).
- Remove mounting bracket located to the right of the ethernet port (Fig. 5, pg. 9).
- During normal operation depress the [RESET button] on the side of the eBridge16PCRX for approximately 1 second (Fig. 5, pg. 9).
- Factory settings are: DHCP server and the IP address is [192.168.168.168].

eBridge16PCRX Rack Mount Chassis Mechanical Drawing & Dimensions:
Mounting Options:
Rack Mount Installation
- Remove and discard factory-installed screws from both sides of the rack chassis (Fig. 7a).
- Install mounting brackets (A) on the left and right side of the rack chassis using the four (4) flat head screws (B) (included) (Fig. 7b).
- Place the unit into desired EIA 19” rack position and secure it with mounting screws (not included) (Fig. 4c).

Wall Mount Installation
- Install mounting brackets (A) on the left and right side of rack chassis using four (4) flathead screws (B) (included) (Fig. 8a).
- Place unit at a desired location and secure with #6 size screws or larger (not included) (Fig. 8b).
Caution: It is necessary to make sure mounting screws are securely fastened to a beam when installing the unit vertically.

Shelf Installation
- Position and affix rubber pads (C) (included) at each corner on the bottom of the unit (Fig. 9).
- Place unit in desired location.

Mounting Hardware (Included):
![]() | A Two (2) mounting brackets |
| B Six (6) flat head screws for mounting brackets. | |
| C Four (4) rubber pads. |
Notes:
Altronix is not responsible for any typographical errors.
140 58th Street, Brooklyn, New York 11220 USA | 718-567-8181 | fax: 718-567-9056
website: www.altronix.com | e-mail: [email protected] | Lifetime Warranty
IIeBridge16PCRX G19U![]()
eBridge16PCRX Installation Guide























