Whirlpool 15.7-cu ft Frost free Upright Freezer

Your safety and the safety of others are very important
We have provided many important safety messages in this manual and on your appliance. Always read and obey all safety messages.
- This is the safety alert symbol.
- This symbol alerts you to potential hazards that can kill or hurt you and others.
- All safety messages will follow the safety alert symbol and either the word “DANGER” or “WARNING.” These words mean:
DANGER
You can be killed or seriously injured if you don’t immediately follow instructions.
WARNING
You can be killed or seriously injured if you don’t follow instructions.
All safety messages will tell you what the potential hazard is, tell you how to reduce the chance of injury, and tell you what can happen if the instructions are not followed.
IMPORTANT SAFETY INSTRUCTIONS
WARNING:
To reduce the risk of fire, electric shock, or injury to persons when using your appliance, follow basic precautions, including the following:
- Children should be supervised to ensure that they do not play with the appliance.
- This appliance is not intended for use by persons (including children) with reduced physical, sensory, or mental capabilities, or lack of experience and knowledge unless they have been given supervision or instruction concerning use of the appliance by a person responsible for their safety.
- Do not use an extension cord.
- If power supply cord is damaged, it must be replaced by the manufacturer, its service agent, or a similarly qualified person in order to avoid a hazard.
- Connect to potable water supply only.
- This appliance is intended to be used in household and similar applications such as: staff kitchen areas in shops, offices, and other working environments; farm houses and by clients in hotels, motels, and other residential-type environments; bed and breakfast-type environments; and catering and similar non-retail applications.
- Do not store explosive substances such as aerosol cans with a flammable propellant in this appliance.
- Do not use replacement parts that have not been recommended by the manufacturer (e.g., parts made at home using a 3D printer).
- Keep ventilation openings, in the appliance enclosure or in the built-in structure, clear of obstruction.
- Do not use mechanical devices or other means to accelerate the defrosting process, other than those recommended by the manufacturer.
- Do not damage the refrigerant circuit.
- Do not use electrical appliances inside the food storage compartments of the appliance, unless they are of the type recommended by the manufacturer.
- Ice make kit can be added to some models. See serial tag inside the food compartment of appliance for ice maker kit model information.
- A qualified service technician must install the water line and ice maker. See installation instructions supplied with ice maker kit for complete details.
SAVE THESE INSTRUCTIONS
Proper Disposal of Your Old Freezer
WARNING: Risk of child entrapment. Before you throw away your old refrigerator or freezer:
- Take off the doors.
- Leave the shelves in place so that children may not easily climb inside.
WARNING
Suffocation Hazard
Remove doors or lid from your old appliance. Failure to do so can result in death or brain damage.
IMPORTANT:
Child entrapment and suffocation are not problems of the past. Junked or abandoned freezers or refrigerators, are still dangerous, even if they will sit for “just a few days.” If you are getting rid of your old refrigerator or freezer, please follow these instructions to help prevent accidents.
Important information to know about the disposal of refrigerants:
Dispose of the freezer in accordance with federal and local regulations. Refrigerants must be evacuated by a licensed, EPA-certified refrigerant technician in accordance with established procedures.
MAINTENANCE AND CARE
Cleaning Your Frost-Free Freezer (on some models)
WARNING
Explosion Hazard
- Risk of Fire or Explosion.
- Flammable Refrigerant Used.
- Do Not Use Mechanical Devices to Defrost the Refrigerator. Do Not Puncture Refrigerant Tubing.
Frost-free means that you will not have to defrost your freezer. Frost is removed by air moving and collecting any moisture and depositing it on the cooling coil. The cooling coil periodically warms up enough to melt the frost and it then flows down to the drain pan (located behind the base grille) where it is evaporated.
Complete cleaning should be done at least once a year.
- Press and hold the Temp Setting for 3 seconds or turn the knob to “0” to turn off cooling.
- Unplug the freezer or disconnect the power.
- Remove all frozen food. Wrap frozen food in several layers of newspaper and cover it with a blanket. Food will stay frozen for several hours. You may also store frozen food in a cooler, additional refrigerator-freezer, or in a cool area.
- Remove all removable parts from the insides, such as shelves and bins.
- Hand-wash, rinse, and dry removable parts and interior surfaces thoroughly. Use a clean sponge or soft cloth and mild detergent in warm water.
- Do not use abrasive or harsh cleaners such as window sprays, scouring cleansers, flammable fluids, cleaning waxes, concentrated detergents, bleaches, or cleansers containing petroleum products on plastic parts, interior, and door liners or gaskets. Do not use paper towels, scouring pads, or other harsh cleaning tools. These can scratch or damage materials.
- To help remove odors, you can wash interior walls with a mixture of warm water and baking soda (2 tbs to 1 qt. [26 g to 0.95 L] of water).
- Replace the removable parts.
- Use the appropriate cleaning method for your exterior finish. Painted metal: Wash exteriors with a clean sponge or soft cloth and mild detergent in warm water. Do not use abrasive or harsh cleaners or cleaners designed for stainless steel. Dry thoroughly with a soft cloth.
- Remove the base grille by opening the freezer door and removing the two Phillips-head screws. Pull the grille toward you to remove it.

Use a vacuum with an extended attachment to clean the condenser coils when they are dusty or dirty. Coils may need to be cleaned as often as every other month. This may help save energy. - Replace the base grille by aligning the ends of the grille with the leveling assemblies on each side and snapping the grille into place. Reinstall the screws.
- Replace all frozen food.
- Plug in the freezer or reconnect the power.
- Set the temperature control to the desired setting.
Defrosting and Cleaning Your Manual Defrost Freezer (on some models)
WARNING
Explosion Hazard
- Risk of Fire or Explosion.
- Flammable Refrigerant Used.
- Do Not Use Mechanical Devices to Defrost the Refrigerator. Do Not Puncture Refrigerant Tubing.
- Press and hold the Temp Setting for 3 seconds or turn the knob to “0” to turn off cooling.
- Unplug the freezer or disconnect the power.
- Remove all frozen food. Wrap frozen food in several layers of newspaper and cover it with a blanket. Food will stay frozen for several hours. You may also store frozen food in a cooler, an additional refrigerator or freezer, or in a cool area.
- Remove the base grille. Open the freezer door and remove the base grille by removing two Phillips-head screws and pulling the grille toward you.

- Reach under the unit and pull the drain hose out through the opening. The drain hose carries defrost water out of the freezer and through the area behind the base grille. Place a large shallow pan under the drain hose. Remove the drain cap inside the freezer.
NOTE: Check the drain pan frequently to avoid water overflow. Have a second pan handy for easier emptying.
- Place pans of hot water in the freezer with the door open to speed melting. Directing air from an electric fan into the freezer will also help. Do not place a fan or any electrical device in the freezer.
- Use a plastic scraper to remove frost.
NOTE: Do not use an ice pick, knife, or another sharp-pointed tool to defrost the freezer. Damage can occur. - Wipe water from the walls with a towel or sponge.
- Wash the inside walls with a solution of mild detergent in warm water or 2 tbs (26 g) of baking soda to 1 qt. (0.95 L) warm water. Do not use abrasive or harsh cleaners.
- Rinse well and wipe dry with a clean soft cloth.
- Use the appropriate cleaning method for your exterior finish. Painted metal: Wash exteriors with a clean sponge or soft cloth and mild detergent in warm water. Do not use abrasive or harsh cleaners or cleaners designed for stainless steel. Dry thoroughly with a soft cloth.
- For models with a drain system, you should replace the drain hose, drain cap, and base grille.
- Replace the base grille by aligning the ends of the grille with the leveling assemblies on each side and snapping the grille into place. Reinstall the screws.
- Replace all frozen food.
- Plug in the freezer or reconnect the power.
- Set the temperature control to the desired setting.
Changing the Light Bulb
NOTE: Not all appliance bulbs will fit your freezer. Be sure to replace the bulb with one of the same size, shape, and wattage. Do not use an LED or colored light bulb as a replacement.
Style 1 – Manual Defrost Models
- Unplug freezer or disconnect power.
- Reach behind the light lens to remove bulb.

- Replace bulb with a 40 W maximum appliance bulb.
- Plug in freezer or reconnect power.
Style 2 – Automatic Defrost Models
- Unplug freezer or disconnect power.
- Remove the light shield by squeezing the lens from the sides, pushing back, and pulling down.

- Replace bulb with a 40 W maximum appliance bulb or an LED bulb rated for wet/damp locations.
NOTE: Some LED replacement light bulbs are not recommended for wet/damp environments. Refrigerator fresh food and freezer compartments are considered wet/damp environments. Read and follow all instructions on the LED packaging when replacing the factory-installed LED bulb. A replacement LED bulb can be purchased from an authorized dealer. - Replace the light shield.
- Plug in freezer or reconnect power.
Key Eject Lock
WARNING
Entrapment Hazard
- Keep key away from children.
- Failure to do so can result in death, suffocation, or frostbite.
To lock or unlock the freezer, you must hold the key in the lock while turning. The lock is spring-loaded, so the key cannot be left in the lock. If the key is lost, contact your dealer for a replacement. Always give the model and serial number of your freezer when requesting a replacement key.
NOTE: Keep the key out of the reach of children. Do not keep the key close to the freezer/refrigerator.
Ensuring Proper Air Circulation
In order to ensure proper temperature, you need to permit proper airflow in the freezer. As shown in the illustration, cool air enters from the freezer wall and moves down. The air then recirculates through the vent near the bottom. Do not block any of these vents with food packages. If the vents are blocked, airflow will be restricted and temperature and moisture problems may occur.
IMPORTANT: To avoid odor transfer and drying out of food, wrap or cover foods tightly.
Power Interruptions
If the power will be out for 24 hours or less, keep the door closed to help food stay cold and frozen.
If the power will be out for more than 24 hours, do one of the following:
- Remove all frozen food and store it in a frozen food locker.
- If a food locker is not available, consume or can perishable food at once.
REMEMBER:
A full freezer stays cold longer than a partially filled one. A freezer full of meat stays cold longer than a freezer full of baked goods. If you see that food contains ice crystals, it may be refrozen, although the quality and flavor may be affected. If the condition of the food is poor, dispose of it.
Moving Care
When you are moving your freezer to a new home, follow these steps to prepare it for the move.
- Remove all frozen food.
- Unplug the freezer.
- Take out all removable parts, wrap them well, and tape them together so they don’t shift and rattle during the move.
- Clean the freezer thoroughly.
- Tape the freezer shut and tape the electrical cord to the cabinet.
When you get to your new home, refer to your Quick Start Guide and the “Installation Instructions” of your Owner’s Manual for information on installation and setting the controls.
INSTALLATION INSTRUCTIONS
Unpacking Your Freezer
WARNING
Excessive Weight Hazard
- Use two or more people to move and install or uninstall the appliance.
- Failure to do so can result in back or another injury.
Remove Packaging Materials
- Remove tape and glue residue from surfaces before turning on the freezer. Rub a small amount of liquid dish soap over the adhesive with your fingers. Wipe with warm water and dry.
- Do not use sharp instruments, rubbing alcohol, flammable fluids, or abrasive cleaners to remove tape or glue. These products can damage the surface of your freezer. For more information, see the “Upright Freezer Safety” section.
When Moving Your Freezer
Your freezer is heavy. When moving the freezer for cleaning or service, be sure to cover the floor with cardboard or hardboard to avoid floor damage. Always pull the freezer straight out when moving it. Do not wiggle or “walk” the freezer when trying to move it, as floor damage could occur.
Clean Before Using
After you remove all of the packaging materials, clean the inside of your freezer before using it. See the cleaning instructions in the “Maintenance and Care” section.
Important information to know about glass shelves and covers:
Do not clean glass shelves or covers with warm water when they are cold. Shelves and covers may break if exposed to sudden temperature changes or impact, such as bumping. Tempered glass is designed to shatter into many small, pebble-size pieces. This is normal. Glass shelves and covers are heavy. Use both hands when removing them to avoid dropping.
Electrical Requirements
WARNING
Electrical Shock Hazard
- Plug into a grounded 3-prong outlet.
- Do not remove the ground prong.
- Do not use an adapter.
- Do not use an extension cord.
- Failure to follow these instructions can result in death, fire, or electrical shock.
Before you move your freezer into its final location, it is important to make sure you have the proper electrical connection.
Recommended Grounding Method
A 115 V, 60 Hz, AC-only, 15 A or 20 A fused, grounded electrical supply is required. It is recommended that a separate circuit serving only your freezer be provided. Use an outlet that cannot be turned off by a switch. Do not use an extension cord.
NOTE:
Before performing any type of installation, cleaning, or removing a light bulb, turn the knob to “0” on manual defrost models, or press and hold the Temp Setting for 3 seconds on automatic defrost models to turn off cooling. Then disconnect the freezer from the electrical source.
Style 1 – Manual Defrost Models

Style 2 – Automatic Defrost Models
Location Requirements
WARNING
Explosion Hazard
- Keep flammable materials and vapors, such as gasoline, away from appliances.
- Use nonflammable cleaner.
- Failure to do so can result in death, explosion, or fire.
Ventilation and Clearance
- Keep flammable materials and vapors, such as gasoline, away from the freezer.
- Do not cover the freezer with items such as blankets, sheets, and tablecloths. This reduces air circulation.
- Allow at least a 3” (7.5 cm) clearance on both sides of the freezer and 2” (5 cm) between the back of the freezer and the wall. If the freezer is to be next to a fixed wall, leave extra space on the hinge side so the door can open wider.
Temperature
Your freezer operates most efficiently when located in an area where the temperature will not fall below 40°F (5°C). Place your freezer in a location where the temperature will not fall below this recommended temperature.
Upon Moving to Final Location
- Below dimensions are applicable for Upright Freezers of 16″, 18″, 20″ when they do not side kicks.

- For Side Kicks and Refrigerators refer below information
NOTE: This freezer may be installed side by side with another freezer or refrigerator. Allow for a 1″ (2.54 cm) space behind the freezer and a 1/4″ (6.4 mm) clearance between the appliances.
Water Supply Requirements (on some models)
Gather the required tools and parts before starting installation. Read and follow the instructions provided with any tools listed here.
Tool Needed:
- Flat-blade screwdriver
- 7/16″ and 1/2″ open-end or 2 adjustable wrenches
- 1/4″ nut driver
- 1/4″ drill bit
- Cordless drill
NOTE:
Your freezer dealer has a kit available with a 1/4″ (6.35 mm) saddle-type shutoff valve, a union, and PEX tubing. Before purchasing, make sure a saddle-type valve complies with your local plumbing codes. Do not use a piercing-type or 3/16″
(4.76 mm) saddle valve which reduces water flow and clogs more easily.
IMPORTANT:
- If you turn on the freezer before the water line is connected, turn off the ice maker.
- All installations must meet local plumbing code requirements.
- Use PEX tubing and check for leaks. Install PEX tubing only in areas where temperatures will remain above freezing.
Water Pressure
A cold water supply with water pressure between 30 and 120 psi (207 to 827 kPa) is required to operate the water dispenser and ice maker. If you have questions about your water pressure, see “Troubleshooting” online or call a licensed, qualified plumber.
Reverse Osmosis Water Supply
If a reverse osmosis water filtration system is connected to your cold water supply, the water pressure to the system needs to be a minimum of 40 to 60 psi (276 to 414 kPa).
If the water pressure to the reverse osmosis system is less than 40 to 60 psi (276 to 414 kPa), a booster pump can be inserted into the small tubing that goes from the cold water line to the reverse osmosis system.
If the water dispenser is still not dispensing water properly:
- Check to see whether the sediment filter in the reverse osmosis system is blocked. Replace the filter if necessary.
- Allow the storage tank on the reverse osmosis system to refill after heavy usage.
- If your refrigerator has a water filter, it may further reduce the water pressure when used in conjunction with a reverse osmosis system. Remove the water filter.
If you have questions about your water pressure, refer to “Troubleshooting” online or call a licensed, qualified plumber.
Connect the Water Supply
Connect to Water Line
- Unplug the freezer or disconnect the power.
- Turn off the main water supply. Turn on the nearest faucet long enough to clear the line of water.
- Locate a 1/2″ to 1 1/4″ (12.7 mm to 3.18 cm) vertical cold water pipe near the freezer.
IMPORTANT:- Make sure it is a cold water pipe.
- The horizontal pipe will work but drill on the top side of the pipe, not the bottom. This will help keep water away from the drill and normal sediment from collecting in the valve.
- Determine the length of copper or PEX tubing you need. Measure from the connection on the lower-left rear of the freezer to the water pipe. Add 7 ft. (2.1 m) to allow for cleaning. Use 1/4″ (6.35 mm) O.D. (outside diameter) copper or PEX tubing. Be sure both ends of copper or PEX tubing are cut square.
- Using a cordless drill, drill a 1/4″ (6.35 mm) hole in the cold water pipe you have selected.

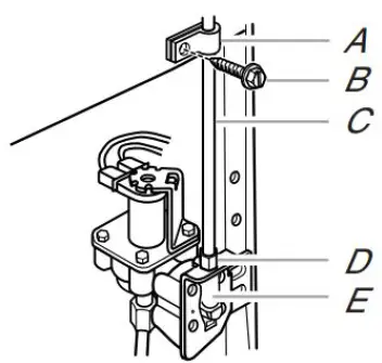
- A. Cold water pipe
- B. Pipe clamp
- C. Copper or PEX tubing
- D. Compression nut
- E. Compression sleeve
- F. Shutoff valve
- G. Packing nut
- Fasten the shutoff valve to the cold water pipe with the pipe clamp. Be sure the outlet end is solidly in the 1/4″ (6.35 mm) drilled hole in the water pipe and that the washer is under the pipe clamp. Tighten the packing nut. Tighten the pipe clamp screws slowly and evenly so the washer makes a watertight seal. Do not overtighten or you may crush the copper or PEX tubing.
- Slip the compression sleeve and compression nut on the copper or PEX tubing as shown. (Pex tubing is supplied with the compression sleeve and nut installed.) Insert the end of the tubing into the outlet end squarely as far as it will go. Screw the compression nut onto the outlet end with an adjustable wrench. Do not over tighten.
- Place the free end of the tubing in a container or sink and turn on the main water supply. Flush the tubing until the water is clear. Turn off the shutoff valve on the water pipe. Coil the copper or PEX tubing.
Connect to Freezer
- Attach the copper or PEX tube to the valve inlet using a compression nut and sleeve as shown. Tighten the compression nut. Do not over tighten.

- A. Tube clamp
- B. Tube clamp screw
- C. Copper or PEX tubing
- D. Compression nut
- E. Valve inlet
- Use the tube clamp on the back of the freezer to fasten the tubing to the freezer as shown. This will help avoid damage to the tubing when the freezer is pushed back against the wall.
- Turn the shutoff valve on.
- Check for leaks. Tighten any connections (including connections at the valve) or nuts that leak.
- The ice maker is equipped with a built-in water strainer. If your water conditions require a second water strainer, install it in the 1/4″ (6.35 mm) water line at either tube connection. Obtain a water strainer from your nearest appliance dealer.
WARNING
Electrical Shock Hazard
- Plug into a grounded 3-prong outlet.
- Do not remove the ground prong.
- Do not use an adapter.
- Do not use an extension cord.
- Failure to follow these instructions can result in death, fire, or electrical shock.
- Plug into a grounded 3-prong outlet.
Freezer Door
Tools Needed: 5/16″ hex-head socket wrench, 3/8″ hex-head socket wrench, flat 2″ putty knife
IMPORTANT:
- All graphics referenced in the following instructions are included at the end of this Manual. The graphics shown are for a right-hand-swing door (hinges factory-installed on the right).
- If you only want to remove and replace the door, see “Remove Door and Hinges” and “Replace Door and Hinges.”
- Before you begin, turn off the control, and remove food and adjustable door or utility bins from the door.
Remove the Door and Hinges
- Unplug the freezer or disconnect the power.
- Keep the freezer door closed until you are ready to lift it free from the cabinet.
NOTE: Provide additional support for the door while the hinges are being moved. Do not depend on the door magnets to hold the door in place while you are working. - Remove the parts for the top hinge as shown in the “Top Hinge” graphic.
- Lift the freezer door free from the lower hinge and cabinet and set it aside.
- Remove the four hex-head hinge screws and bottom hinge assembly. See the “Bottom Hinge” graphic.
Reverse Door (optional on some models)
IMPORTANT:
If you want to reverse your door so that it opens in the opposite direction, continue with “Reverse Door (optional on some models)” instructions. If you are not reversing the door, see “Replace Door and Hinges.”
Cabinet
- Remove the cabinet hinge hole plugs from the cabinet top and move them to the opposite side hinge holes as shown in Graphic 2.
- Remove the bottom hinge pin from the hinge bracket.
- Remove the decals covering the holes on the opposite side of the bottom hinge.
- Reinstall the bottom hinge pin in the alternate hole in the hinge bracket. See Graphic 3.
- Reinstall the hinge bracket to the cabinet with the four hex-head hinge screws.
Door
- On some models, remove the hinge hole plug from the top of the door.
- Remove the door stop from the bottom of the door.
- Move the door stop to the opposite side, making sure that the hole in the door stop bracket is aligned perfectly with the hole in the door for the bottom hinge pin.
- Using the screws removed in step 2, fasten the door stop bracket to the bottom of the door.
- Tighten all screws. Set aside the door until the bottom hinge is in place.
Replace Door and Hinges
NOTE: Graphic may be reversed if the door swing is reversed.
- Replace the parts for the bottom hinge as shown and tighten the screws. See the “Bottom Hinge” graphic. Replace the freezer door.
NOTE: Provide additional support for the door while the hinges are being moved. Do not depend on the door magnets to hold the door in place while you are working. - Assemble the parts of the top hinge as shown in the “Top Hinge” graphic. Do not tighten the screws completely.
Final Steps
- Check all holes to make sure that hole plugs and screws are in place. Reinstall the top hinge cover. See the “Top Hinge” graphic.
- Using the provided decals, cover the remaining holes located on the side opposite the bottom hinge.
- Plug into grounded 3–prong outlet.
- Reset the control.
- Return all removable door parts to the door and food to the freezer.
Freezer Leveling and Door Closing
Style 1 – Without Grille
- Locate the two front leveling legs taped among the packing materials.
- Screw these legs into the front holes on the bottom of the freezer. The back of the freezer rests on two fixed supports.
- Adjust the front legs enough to lift the cabinet up off the floor.
- Place a leveling tool on top of the freezer first side to side, then front to back. Turn leg counterclockwise to raise a corner. Turn leg clockwise to lower a corner.

- Repeat step 4 until the freezer is level.
- After the freezer is fully loaded with food, recheck with level as in step 4.
Style 2 – With Grille
Your freezer has two front adjustable legs—one on each side. The back of the freezer rests on two fixed rollers. The base grille covers the adjustable brake feet and roller assemblies located at the bottom of the freezer below the freezer door. Before making any adjustments, remove the base grille and move the freezer to its final location.
Tools Needed:
1/4″ hex driver, Phillips screwdriver
- Remove the base grille screws. Grasp the grille firmly and pull it toward you. Open the freezer door to access the brake feet.
NOTE: To allow the freezer to roll more easily, raise the brake feet by turning them counterclockwise. The front rollers will be touching the floor.
- Move the freezer to its final location.
- Lower the brake feet, by turning them clockwise, until the rollers are off the floor and both brake feet are snug against the floor. This keeps the freezer from rolling forward when opening the freezer door.
IMPORTANT: If you need to make further adjustments involving the brake feet, you must turn both brake feet the same amount to keep the freezer level. - Make sure the door closes easily. If you are satisfied with the door opening and closing, skip the next section. If, however, the door does not close easily or the door pops open, adjust the tilt.
To Adjust the Cabinet Tilt:
NOTE: Having someone push against the top of the freezer takes some weight off the brake feet. This makes it easier to turn them.- Open the freezer door. Use a 1/4″ hex driver to turn both brake feet clockwise the same amount. This will raise the front of the freezer. It may take several turns to allow the door to close more easily.
- Make sure the freezer is steady. If the freezer seems unsteady or rolls forward when the door is pulled open, adjust the brake feet.
To Steady the Freezer:- Open the freezer door. Using a 1/4″ hex driver, turn both brake feet clockwise the same amount until the brake feet are snug against the floor. Check again. If not satisfied, continue to adjust the brake feet by half turns of the screw until the freezer does not roll forward when the door is opened.
- Replace the base grille by aligning the ends of the grille with the leveling assemblies on each side and snapping the grille into place. Reinstall the Phillips screws.

- A. Brake foot
- B. Front roller
Remove and Replace the Handle (on some models)
To Remove the Handle:
- Loosen the set screws located on the side of the handle at each end. See the “Door Swing Reversal and Handle Removal” graphic.
- Remove the handle from the grommets.
To Replace the Handle:
- Place the handle onto the grommets, making sure the grommets are fitted into the handle holes.
- Tighten the upper and lower setscrews with the hex key provided. See the “Door Swing Reversal and Handle Removal” graphic. Do not overtighten the setscrews.

™©2021 All rights reserved. Used under license in Canada.


















