Whirlpool WRT313CZLW 12.9 cu. ft. Top Freezer Built-In and Standard Refrigerator

IMPORTANT SAFETY INSTRUCTIONS
WARNING
To reduce the risk of fire, electric shock, or injury to persons when using your appliance, follow basic precautions, including the following
- Children should be supervised to ensure that they do not play with the appliance.
- This appliance is not intended for use by persons including children with reduced physical, sensory, or mental capabilities, or lack of experience and knowledge, unless they have been given supervision or instruction concerning use of the appliance by a person responsible for their safety.
- Do not use an extension cord.
- If power supply cord is damaged, it must be replaced by the manufacturer, its service agent, or a similarly qualified person in order to avoid a hazard.
- Connect to potable water supply only.
- This appliance is intended to be used in household and similar applications such as: staff kitchen areas in shops, offices, and other working environments; farm houses and by clients in hotels, motels, and other residential-type environments; bed and breakfast type environments; and catering and similar non retail applications.
- Do not store explosive substances such as aerosol cans with a flammable propellant in this appliance.
- Do not use replacement parts that have not been recommended by the manufacturer e.g., parts made at home using a 3D printer.
- Keep ventilation openings, in the appliance enclosure or in the built-in structure, clear of obstruction.
- Do not use mechanical devices or other means to accelerate the defrosting process, other than those recommended by the manufacturer.
- Do not damage the refrigerant circuit.
- Do not use electrical appliances inside the food storage compartments of the appliance, unless they are of the type recommended by the manufacturer.
Proper Disposal of Your Old Refrigerator
WARNING
Risk of child entrapment. Before you throw away your old refrigerator or freezer
- Take off the doors.
- Leave the shelves in place so that children may not easily climb inside.
- Suffocation Hazard: Remove doors or lid from your old appliance.
- Failure to do so can result in death or brain damage.
IMPORTANT
Child entrapment and suffocation are not problems of the past. Junked or abandoned refrigerators are still dangerous even i they will sit for just a few days. If you are getting rid of your old refrigerator, please follow these instructions to help prevent accidents Important information to know about disposal of refrigerants: Dispose of refrigerator in accordance with federal and local regulations. Refrigerants must be evacuated by a licensed, EPA certified refrigerant technician in accordance with established procedures.
Unpack the Refrigerator
Excessive Weight Hazard
Use two or more people to move and install refrigerator. Failure to do so can result in back or other injury.
Remove the Packaging
Do not remove the white foam air return insert from behind the control panel on the ceiling of the refrigerator. If the insert is removed, ice may migrate down from the freezer and cause icicles to form on the refrigerator. Rub a small amount of liquid dish soap over the adhesive with your fingers. Rinse with warm water and dry with a soft cloth.
NOTE
Your refrigerator is heavy. When moving the refrigerator for cleaning or service, be sure to cover the oor with cardboard or hardboard to avoid oor damage. Always pull the refrigerator straight out when moving it. Do not wiggle or walk the refrigerator when trying to move it, as oor damage could occur.
Install Levelers
Lay down the refrigerator ONLY to your left-hand side (as you are looking at the front of the refrigerator) to avoid damaging the refrigerator.Locate the levelers. They are enclosed in a plastic bag inside the crisper drawer.
Using two or more people, access the bottom of the refrigerator either by tilting it first to one side and then the other or by laying it down on the floor to your left-hand side as shown. Tilt the refrigerator to the side enough to access the bottom. Using a 3/8 hex driver, remove the two screws attaching the wooden runner to the bottom of the refrigerator. Then install a leveler to the front corner. Repeat for the opposite side. The refrigerator cabinet should not touch the floor without a leveler installed.
- Using the packaging corner posts left hand side, front and back as a cushion, lay the refrigerator down on the floor (to your left-hand side only) as shown in the following graphic. Using the packaging as a cushion will help to avoid possible damage to the refrigerator.
- Using a 3/8″ hex driver, remove the two screws attaching each wooden runner to the bottom of the refrigerator. Install a leveler to each of the front corners.

Clean Before Using
After you remove all of the package materials, clean the inside of your refrigerator before using it. See the cleaning instructions in “Refrigerator Care.”
Important information to know about glass shelves and covers
Do not clean glass shelves or covers with warm water when they are cold. Shelves and covers may break if exposed to sudden temperature changes or impact, such as bumping. Tempered glass is designed to shatter into many small, pebble-size pieces. This is normal. Glass shelves and covers are heavy. Use both hands when removing them to avoid dropping.
WARNING
Explosion Hazard
Keep flammable materials and vapors, such as gasoline, away from refrigerator. Failure to do so can result in death, explosion, or fire.
IMPORTANT
This refrigerator is designed for indoor, household use only. To ensure proper ventilation for your refrigerator, it is recommended to allow a 1/2″ (1.25 cm) space on each side. Allow 1½” (3.81 cm) of space between overhead cabinets and refrigerator top. Allow at least 1″ (2.54 cm) between back of cabinet and the wall (consider the condenser as back in case is present). If your refrigerator has an ice maker, make sure you leave extra space at the back for the water line connections. If you are installing your refrigerator next to a fixed wall, leave enough space on the hinge side to allow the door to swing open.
NOTE
This refrigerator is intended for use in a location where the temperature ranges from a minimum of 55°F (13°C) to a maximum of 110°F (43°C). The preferred room temperature range for optimum performance, which reduces electricity usage and provides superior cooling, is between 60°F (15°C) and 90°F (32°C). It is recommended that you do not install the refrigerator near a heat source, such as an oven or radiator.
Electrical Shock Hazard
- Plug into a grounded 3 prong outlet.
- Do not remove ground prong.
- Do not use an adapter.
- Do not use an extension cord.
- Failure to follow these instructions can result in death, fire, or electrical shock.
- Before you move your refrigerator into its final location, it is important to make sure you have the proper electrical connection.
Recommended Grounding Method
A 115 V, 60 Hz, AC only, 15A or 20A fused, grounded electrical supply is required. It is recommended that a separate circuit serving only your refrigerator be provided. Use an outlet that cannot be turned off by a switch. Do not use an extension cord.
NOTE
Before performing any type of installation or cleaning, or removing a light bulb, turn cooling off or turn the control. Thermostat, Refrigerator or Freezer Control depending on the model to OFF, and then disconnect the refrigerator from the electrical source. When you are finished, reconnect the refrigerator to the electrical source, and turn cooling on or reset the control Thermostat, Refrigerator or Freezer Control, depending on the model) to the desired setting.
Water Supply Requirements
Connect to potable water supply only. Do not use with water that is microbiologically unsafe or of unknown quality without adequate disinfection before or after the system. Systems certified for cyst reduction may be used on disinfected waters that may contain filterable cysts. If you turn the refrigerator on before the water line is connected, turn the ice maker off. All installations must meet local plumbing code requirements. Use copper tubing and check for leaks. Install copper tubing only in areas where the household temperatures will remain above freezing.
TOOLS NEEDED
Flat blade screwdriver, 7/16 and 1/2″ open-end wrenches or 2 adjustable wrenches, 1/4 nut driver and drill bit, cordless drill. Gather the required tools and parts before starting installation. Read and follow the instructions provided with any tools listed.
NOTE
Your refrigerator dealer has a kit available with a ½ (6.35 mm) saddle-type shutoff valve, a union, and copper tubing. Before purchasing, make sure a saddle type valve complies with your local plumbing codes. Do not use a piercing-type or 3/16″ (4.76 mm) saddle valve which reduces water flow and clogs more easily.
Water Pressure
A cold water supply with water pressure between 30 psi and 120 psi (207 kPa and 827 kPa) is required to operate the ice maker. If you have questions about your water pressure, call a licensed, qualified plumber.
Reverse Osmosis Water Supply
If a reverse osmosis water filtration system is connected to your cold water supply, the water pressure to the reverse osmosis system needs to be a minimum of 40 psi to 60 psi (276 kPa to 414 kPa).If the water pressure to the reverse osmosis system is less than 40 psi to 60 psi (276 kPa to 414 kPa), a booster pump can be inserted into the small tubing that goes from the cold water line to the reverse osmosis system. If the ice maker is still not operating properly: Check to see whether the sediment filter in the reverse osmosis system is blocked. Replace the filter if necessary. Allow the storage tank on the reverse osmosis system to refill after heavy usage. If you have questions about your water pressure, call a licensed, qualified plumber.
Connect the Water Supply on some models
IMPORTANT
If you turn the refrigerator on before the water line is connected, turn the ice maker off to avoid excessive noise or damage to the water valve.
Connect the Water Line
- Unplug refrigerator or disconnect power.
- Turn off main water supply. Turn on nearest faucet long enough to clear line of water.
- Locate a 1/2″ to 1¹⁄4″ (1.27 cm to 3.18 cm) vertical cold water pipe near the refrigerator.
IMPORTANT
- Make sure it is a cold water pipe.
- Horizontal pipe will work. Drill on the top side of the pipe, not the bottom.
- This will help keep water away from the drill and normal sediment from collecting in the valve.
- Determine the length of copper tubing you will need. Measure from the connection on lower left rear of refrigerator to the water pipe.
- Add 7 ft (2.1 m) to allow for cleaning.
- Use 1/4 (6.35 mm) O.D. (outside diameter) copper tubing. Be sure both ends of copper tubing are cut square.
- Using a cordless drill, drill a 1/4 (6.35 mm) hole in the cold water pipe you have selected.

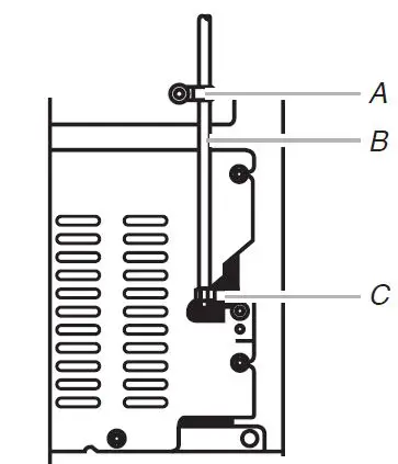
- A. Cold water pipe .
- B. Pipe clamp.
- C. Copper tubing.
- D. Compression nut.
- E. Compression sleeve.
- F. Shutoff valve.
- G. Packing nut.
Fasten the shutoff valve to the cold water pipe with the pipe clamp. Be sure the outlet end is solidly in the 1/4 (6.35 mm) drilled hole in the water pipe and that the washer is under the pipe clamp. Tighten the packing nut. Tighten the pipe clamp screws slowly and evenly so washer makes a watertight seal. Do not overtighten. Slip the compression sleeve and compression nut on the copper tubing as shown. Insert the end of the tubing into the outlet end squarely as far as it will go. Screw compression nut onto outlet end with adjustable wrench. Do not overtighten .Place the free end of the copper tubing in a container or sink and turn on the main water supply. Flush the tubing until water is clear. Turn off the shutoff valve on the water pipe. Coil the copper tubing.
Connect to Refrigerator
NOTE
n kit moels, attach water valve to refrigerator according to kit instructions.
STYLE 1
- Unplug refrigerator or disconnect power.
- ttach the copper tube to the valve inlet using a compression nut and sleeve as show.
- Tighten the compression nut.
- Do not overtighten.
- Use the tube clamp on the back of the refrigerator to secure the tubing to the refrigerator as shown.
- This will help avoid damage to the tubing when the refrigerator is pushed back against the wall.
- Turn shutoff valve ON.
- Check for leaks. Tighten any connections (including connections at the valve) or nuts that leak Style 1

- A. Tube clamp
- B. Tube clamp screw
- C. Copper tubing
- D. Compression nut
- E. Valve inlet
The ice maker is equipped with a built-in water strainer. If your water conditions require a second water strainer, install it in the 1/4″ (6.35 mm) water line at either tube connection. Obtain a water strainer from your nearest appliance dealer.
Style 2
- Unplug refrigerator or disconnect power.
- Disconnect the tube clamp on the back of the product and insert the copper tubing through the clamp as shown
- .Attach the copper tube to the valve inlet using a compression nut and sleeve as shown.
- Tighten the compression nut.
- Do not overtighten.
- Reattach the tube clamp and tube to the back of the cabinet.
- A. Tube clamp
- B. Copper tubin
- C. Compression nut
- Turn shutoff valve ON. Check for leaks. Tighten any connections (including connections at the valve) or nuts that leak.
- The ice maker is equipped with a built-in water strainer. If your water conditions require a second water strainer, install it in the 1/4 (6.35 mm) water line at either tube connection
- Obtain a water strainer from your nearest appliance dealer.
Complete the Installation
Electrical Shock Hazard
- Plug into a grounded 3 prong outlet.
- Do not remove ground prong.
- Do not use an adapter.
- Do not use an extension cord.
Failure to follow these instructions can result in death, fire, or electrical shock.
Plug into a grounded 3 prong outlet
Allow 24 hours to produce the first batch of ice. Discard the first three batches of ice produced. Allow 3 days to completely fill ice container.
Refrigerator Doors
TOOLS NEEDED
5/16 hex-head socket wrench, #2 Phillips screwdriver, flat-blade screwdriver, 5/16″ openend wrench, flat 2″ putty knife.
Electrical Shock Hazard
- Disconnect power before removing doors.
- Failure to do so can result in death or electrical shock.
- Before you begin, turn off the refrigerator control. Unplug refrigerator or disconnect power.
- Remove food and adjustable door or utility bins from doors.
- If you are only removing and replacing the doors, see the Remove Doors and Hinges and Replace Doors and Hinges sections.
Remove Doors and Hinges
5/16 Hex-Head Hinge Screw
- Unplug refrigerator or disconnect power.
- Close the refrigerator door and keep both doors closed until you are ready to lift them free from the cabinet.
- NOTE Provide support between the freezer and refrigerator doors while the hinges are being moved.
- Do not depend on the door magnets to hold the doors in place while you are working.
- Remove the parts for the top hinge as shown in Top Hinge graphic. Lift the freezer door free from the cabinet.
Excessive Weight Hazard
Use two or more people to lift the refrigerator door. Failure to do so can result in back or other injury.4. Remove the parts for the center hinge as shown in the Center Hinge graphic.
NOTE
Provide support between the refrigerator door and the floor while the hinges are being moved. Do not depend on the door magnets to hold the door in place while you are working. Lift the refrigerator door free from the cabinet. Remove the four screws, (two on the bottom and two on the front) attaching the bottom hinge to the cabinet. See Bottom Hinge graphic.
Reverse Doors optional
IMPORTANT: If you want to reverse your doors so that they open in the opposite direction, follow these steps. If you are not reversing the doors, see “Replace Doors and Hinges. Online video instructions for reversing doors can be found on producthelp.whirlpool.com. Graphics follow these instructions.
Door Hinge Hole Plug
Cabinet Hinge Hole Plug
Cabinet
- From the top of the cabinet, remove the hinge hole plugs, move them to the opposite side, and insert the hole plugs into the holes from where you removed the hinge screws. See Graphic 1-2.
- Remove the screws filling the holes to be used for the center hinge and install them on the opposite side.
- Move the leveler from the bottom of the refrigerator and install it on the opposite side.
- Move the parts of the top hinge, center hinge and bottom hinge to the opposite side.
Doors
- Remove door hinge hole plug from top of freezer door. Move to opposite side .
- Remove the door stop from the bottoms of both the freezer and refrigerator doors and install them on the opposite side.
Replace Doors and Hinges
Door Removal & Replacement and Door Swing Reversal graphics may be reversed if door swing is reversed. Provide additional support for the doors while the hinges are being reinstalled. Do not depend on the door magnets to hold the doors in place while you are working.
- Replace the parts for the bottom hinge as shown. Tighten screws.
- Replace the refrigerator door.
- Assemble the parts for the center hinge as shown and tighten all screws.
- Replace the freezer door.
- Assemble the parts for the top hinge as shown.
- Do not tighten screws completely.
- Align the doors so that the bottom of the freezer door is even with the top of the refrigerator door.
- Tighten all screws.
Final Steps
Check all holes to make sure that hole plugs and screws are in place.
Electrical Shock Hazard
- Plug into a grounded 3 prong outlet.
- Do not remove ground prong.
- Do not use an adapter.
- Do not use an extension cord.
- Failure to follow these instructions can result in death, fire, or electrical shock.
- Plug into a grounded 3 prong outlet.
- Reset the controls.
- Return all removable door parts to doors and food to refrigerator.
- Disconnect power before removing doors.
- Failure to do so can result in death or electrical shock.
DOOR REMOVAL & REPLACEMENT
Top Hinge
A. 5/16″ Hex-Head Hinge Screws
B. Top Hinge
C. Spacer
Center Hinge
A. Center Hinge
B. 5/16″ Hex-Head Hinge Screws
Bottom Hinge
A. Bottom Hinge
B. 5/16″ Hex-Head Hinge Screws
C. Leveler
DOOR SWING REVERSAL

Leveling and Door Adjustment
Excessive Weight Hazard
Use two or more people to move and install refrigerator. Failure to do so can result in back or other injury.
Your refrigerator has two adjustable levelers, one on each side, at the base of the refrigerator. If your refrigerator seems unsteady or if you want the doors to close more easily, adjust the level and tilt of the refrigerator.
- Turn the leveler to the left to raise that side of the refrigerator or to the right to lower that side. It may take several turns to level the refrigerator.
- Having someone push against the top of the refrigerator takes some weight off the levelers.
- This makes it easier to turn the levelers.
- Once the refrigerator is level from side to side, raise the front levelers so that the refrigerator is tilted slightly approximately 1∕2 downward to the rear.
- The doors will close more easily and the freezer door will remain closed whenever you close the refrigerator door.
- Open both doors again to make sure that they close as easily as you like.
- If not, tilt the refrigerator slightly more to the rear by turning both levelers to the right.
- It may take several more turns.
- To keep the refrigerator level, make the same adjustment to each side.
- Using a level, make sure the refrigerator is still level from sideto side. Readjust if necessary.

Normal Sounds
Your new refrigerator may make sounds that your old one didn’t make. Because the sounds are new to you, you might be concerned about them. Most of the new sounds are normal. Hard surfaces, such as the floor, walls, and cabinets, can make the sounds seem louder. The following describes the kinds of sounds and what may be making them.If your refrigerator is equipped with an ice maker, you will hear a buzzing sound when the water valve opens to fill the ice maker for each cycle.
- Your refrigerator is designed to run more efficiently to keep your food items at the desired temperatures and to minimize energy usage.
- The high efficiency compressor and fans may cause your refrigerator to run longer than your old one.
- You may also hear a pulsating or high-pitched sound from the compressor or fans adjusting to optimize performance.
- You may hear the evaporator fan motor circulating air through the refrigerator and freezer compartments.
- The fan speed may increase as you open the doors or add warm food.
- Rattling noises may come from the flow of refrigerant, the water line, or items stored on top of the refrigerator.
- Water dripping on the defrost heater during a defrost cycle may cause a sizzling sound.
- As each cycle ends, you may hear a gurgling sound due to the refrigerant flowing in your refrigerator.
- Contraction and expansion of the inside walls may cause a popping noise.
- You may hear air being forced over the condenser by the condenser fan.
- You may hear water running into the drain pan during the defrost cycle.
REFRIGERATOR USE
Ensuring Proper Air Circulation
In order to ensure proper temperatures, you need to permit air-flow between the refrigerator and freezer sections. As shown in the illustration, cool air enters through the bottom of the freezer section and moves up. Most of the air then flows through the freezer section vents and recirculates under the freezer floor. The rest of the air enters the refrigerator section through the top vent. Depending on your model, the refrigerator may have either a Normal flow or Multiflow air system.
Do not block any of these vents with food packages. If the vents are blocked, airflow will be restricted and temperature and mois-ture problems may occur.
IMPORTANT
Because air circulates between both sections, any odors formed in one section will transfer to the other. You must thoroughly clean both sections to eliminate odors. To avoid odor transfer and drying out of food, wrap or cover foods tightly.
OPERATING YOUR REFRIGERATOR
Using the Controls panel
Temperature Control
Temperature Control For your convenience, the temperature control is preset at the factory. When you first install your refrigerator, make sure the control is still preset.
NOTE
Neither compartment will cool when the control is set to OFF.
Adjusting the Temperature Control
If you need to adjust the temperature on either the refrigerator or freezer compartment, use the settings listed in the chart below as a guide.
NOTE
Except when starting the refrigerator, do not adjust the control more than one setting at a time. Wait 24 hours between adjustments for the temperature to stabilize.Press the Temp button to toggle among the third LED lights which indicate the temperature setting. Reading from left to right, the LED in the first position is the least cold. The LEDs indicate increasingly colder settings as you continue to the right until all third LEDs are illuminated.
| CONDITION/REASON: | ADJUSTMENT: |
| REFRIGERATOR too warm | Temperature Control one setting higher |
| REFRIGERATOR too warm/ too little ice | Temperature Control one setting higher |
| REFRIGERATOR too cold | Temperature Control one setting lower |
| FREEZER too cold | Temperature Control one setting lower |
Airflow Control
The Airflow control is located on the back wall of the freezer. It regulates the amount of air flowing between the freezer and the refrigerator compartments.
When you plug in the refrigerator for the first time, turn the Airflow control to the Recommended setting.
Adjust the Airflow Control
If you want to temporarily increase the cold airflow to a specific compartment, adjust the control.
IMPORTANT
Once the performance is achieved, return the Airflow control to the Recommended setting to keep the refrigerator operating at optimum efficiency.
| CONDITION/REASON: | ADJUSTMENT: |
| Heavy ice use | Max |
| Hot room temperature | Max – To maintain ice making production rate |
| Large quantity of groceries | Min – To quickly chill food and beverages |
Crisper Humidity Control on some models
You control the amount of humidity in the moisture-sealed crisper. Depending on the produce you are storing, select the desired Humidity Level.
Humidity Level Min Setting
MIN (open) lets moist air out of the crisper for best storage of fruits and vegetables with skins
- Fruit: Wash, let dry and store in refrigerator in plastic bag or crisper.
- Do not wash or cut berries until they are ready to use.
- Sort and keep berries in original container in crisper, or store in a loosely closed paper bag on a refrigerator shelf.
- Vegetables with skins: Place in plastic bag or plastic container and store in crisper.
Humidity Level Max Setting
MAX (closed) keeps moist air in the crisper for best storage of fresh, leafy vegetables. Leafy vegetables: Wash in cold water, drain and trim or tear off bruised and discolored areas. Place in plastic bag or plastic container and store in crisper.
REFRIGERATOR CARE
Cleaning
WARNING
- Explosion Hazard
- Risk of Fire or Explosion.
- Flammable Refrigerant Used.
- Do Not Use Mechanical Devices to Defrost Refrigerator.
- Do Not Puncture Refrigerant Tubing.
- Both the refrigerator and freezer sections defrost automatically. However, clean both sections about once a month to avoid buildup of odors. Wipe up spills immediately.
IMPORTANT
Because air circulates between both sections, any odors formed in one section will transfer to the other. You must thoroughly clean both sections to eliminate odors. To avoid odor transfer and drying out of food, wrap or cover foods tightly.
To Clean Your Refrigerator
NOTE
Do not use abrasive or harsh cleaners such as window sprays, scouring cleansers, flammable fluids, cleaning waxes, concentrated detergents, bleaches or cleansers containing petroleum products on plastic parts, interior and door liners or gaskets. Do not use paper towels, scouring pads, or other harsh cleaning tools.1. Unplug refrigerator or disconnect power. Hand wash, rinse, and dry removable parts and interior surfaces thoroughly. Use a clean sponge or soft cloth and a mild detergent in warm water. Wash painted metal exteriors with a clean sponge or soft cloth and a mild detergent in warm water. Dry thoroughly with a soft cloth. Plug in refrigerator or reconnect power.
Vacation and Moving Care
Vacation
If You Choose to Leave the Refrigerator On While You’re Away
- Use up any perishables and freeze other items.
- If your refrigerator has an automatic ice maker, and is connected to the household water supply, turn off the water supply to the refrigerator. Property damage can occur if the water supply is not turned off.
- If you have an automatic ice maker, turn off the ice maker. NOTE: Depending on your model, raise the wire shutoff arm to Off (up) position or press the switch to Off.
- Empty the ice bin.
- Models with Vacation Mode Feature.
- Turn on Vacation mode.
NOTE
Activating Vacation mode does not turn off the icemaker.
If You Choose to Turn Off the Refrigerator Before You Leave
- Remove all food from the refrigerator.
- If your refrigerator has an automatic ice maker:
- Turn off the water supply to the ice maker at least one day ahead of time.
- When the last load of ice drops, raise the wire shutoff arm to the Off (up) position or press the switch to Off, depending on your model.
- Empty the ice bin.
- Turn off the Temperature control.
- Clean refrigerator, wipe it, and dry well.
- Tape rubber or wood blocks to the tops of both doors to prop them open far enough for air to get in.
- This stops odor and mold from building up.
Moving
When you are moving your refrigerator to a new home, follow these steps to prepare it for the move. If your refrigerator has an automatic ice maker
- Turn off the water supply to the ice maker at least one day ahead of time.
- Disconnect the water line from the back of the refrigerator.
- When the last load of ice drops, raise the wire shutoff arm to the Off (up) position or press the switch to Off, depending on your model.
- Remove all food from the refrigerator and pack all frozen food in dry ice.
- Empty the ice bin.
- Turn off the Temperature control.
- Unplug refrigerator.
- Clean, wipe, and dry thoroughly.
- Take out all removable parts, wrap them well, and tape them together so they don’t shift and rattle during the move.
- Depending on the model, raise the front of the refrigerator so it rolls more easily or raise the leveling screws so they don’t scrape the floor.
- Door Closing and Door Alignment.
- Tape the doors closed and tape the power cord to the back of the refrigerator.
- When you get to your new home, put everything back and refer to the Installation Instruction.
ACCESSORIES
The following accessories are available for your refrigerator. To order, contact us and ask for the Part Number.In the U.S.A., visit our webpage www.whirlpool.com/accessories or call 1-800-901-2042. In Canada, call 1-800-807-6777.
The following accessories are available for your refrigerator. To order, contact us and ask for the Part Number.
In the U.S.A., visit our webpage
www.whirlpool.com/accessories or call 1-800-901-2042.
In Canada, call 1-800-807-6777.
PROBLEM SOLVER
First try the solutions suggested here. If you need further assistance or more recommendations that may help you avoid a service call, refer to the warranty page in this manual and scan the code there with your mobile device, or visit www.whirlpool.com/product help. In Canada, visit http://www.whirlpool.ca
Contact us by mail with any questions or concerns at the address below
In the U.S.A
Whirlpool Brand Home Appliances Customer experience Center 553 Benson Road
Benton Harbor, MI 49022-2692 Please include a daytime phone number in your correspondence.
In Canada
Whirlpool Brand Home Appliances Customer experience Centre 200 – 6750
Century Ave. Mississauga ON L5N 0B7
DANGER
Explosion Hazard
- Risk of fire or explosion.
- Flammable refrigerant used.
- Do not use mechanical devices to defrost refrigerator.
- Do not puncture refrigerant tubing.
Electrical Shock Hazard
- Plug into a grounded 3 prong outlet.
- Do not remove ground prong.
- Do not use an adapter.
- Do not use an extension cord.
- Failure to follow these instructions can result in death, fire, or electrical shock.
Explosion Hazard
- Risk of fire or explosion due to puncture of refrigerant tubing.
- Follow handling instructions carefully. Flammable refrigerant used.
- Use nonflammable cleaner.
- Failure to do so can result in death, explosion, or fire.
| If you experience | Possible Causes and/or Recommended Solutions |
| The refrigerator will not operate | Not connected to an electrical supply Plug the power cord into a grounded 3-prong outlet. Do not use an extension cord. No power to the electrical outlet Plug in a lamp to see if the outlet is working. Household fuse blown or circuit breaker tripped Replace the fuse or reset the circuit breaker. If the problem continues, contact an electrician. Control is not turned on – Turn on the refrigerator control. See “Using the Controls.” New Installation – Allow 24 hours following installation for the refrigerator to cool completely. NOTE |
| The motor seems to run too much | Your new refrigerator may run longer than your old one. Energy efficient refrigerators run longer at lower, more energy efficient speeds. Your refrigerator may run even longer if the room is warm, a large food load is added, the door is opened often, or if the door has been left open. |
| The refrigerator is noisy | Refrigerator noise has been reduced over the years. Due to this reduction in operating noise, you may notice unfamiliar noises that are normal. Following are some normal sounds with an explanation: Buzzing heard when the water valve opens to fill the ice maker Clicking/Snapping – valves opening or closing Pulsating fans/compressor adjusting to optimize performance Rattling fl w of refrigerant, water line, or from items placed on top of the refrigerator Sizzling/Gurgling water dripping on the heater during defrost cycle Popping contraction/expansion of inside walls, especially during initial cool-down Water running Creaking/Cracking – occurs as ice is being ejected from the ice maker mold. |
| The door will not close completely | The door is blocked open Move food packages away from door. Push bin or shelf back in the correct position. Make sure the crisper cover is fully pushed in, so that the back rests on the supports. |
| The door is difficult to open | Gaskets are dirty or sticky Clean gaskets and contact surfaces with mild soap and warm water. Rinse and dry with soft cloth. |
| Temperature is too warm | New Installation Allow 24 hours following installation for the refrigerator to cool completely. Door opened often or not closed completely Adjust the controls to one setting colder. Check temperature in 24 hours. |
| There is interior moisture buildup NOTE: Some moisture build- up is normal. | Humid room Contributes to moisture buildup in the refrigerator. Door opened often or not closed completely Allows humid air to enter the refrigerator. Minimize door openings and keep door fully closed. |
| The ice maker is not producing ice or not enough ice | The ice maker is not connected to a water supply Connect refrigerator to water supply and turn water shutoff valve fully open.A kink in the line can reduce water flow Straighten the water source line. Ice maker is not turned on New installation Large amount of ice recently removed Ice cube jammed in the ice maker ejector arm Remove ice from the ejector arm with a plastic utensil. A reverse osmosis water filtration system connected to our cold water supply can decrease water pressure |
| The ice cubes are hollow or small NOTE: This is an indication of low water pressure. | The water valve is not completely open – Completely open the water shutoff valve. A kink in the line can reduce water flow – Straighten the water source line. A reverse osmosis water filtration system connected to our cold water supply can decrease water pressure If questions regarding water pressure remain, call a licensed, qualified plumber. |
| Off-taste, odor or gray color in the ice | New plumbing connections can cause discolored or off-flavored ice – Discard the ice and wash the ice storage bin. Allow 24 hours for the ice maker to make new ice, and discard the first 3 batches of ice produced Ice stored too long can develop an off-taste – Discard ice. Wash ice bin. Allow 24 hours for ice maker to make new ice. Food odor transferring to ice Use airtight, moisture proof packaging to store food. There are minerals (such as sulfur) in the water |























