
Models:
GANF03WFMTS – Hammered Granite / Tread Full Door Silver
GANF03WDMTS – Hammered Granite / Tread Full Door Silver
GANF04WFMTS – Hammered Granite / Tread Full Door Silver
GANF05WFMTS – Hammered Granite / Tread Full Door Silver
GANF04WCMTS – Hammered Granite / Tread Full Door Silver
FLEX CABINET SYSTEM
Assembly Instructions
Instruction Manual

CABINET SAFETY
Your safety and the safety of others are very important.
We have provided many important safety messages in this manual and on your appliance. Always read and obey all safety messages.
This is the safety alert symbol.
This symbol alerts you to potential hazards that can kill or hurt you and others.
All safety messages will follow the safety alert symbol and either the word “DANGER” or “WARNING.”
These words mean:
DANGER
You can be killed or seriously injured if you don’t immediately follow instructions.
WARNING
You can be killed or seriously injured if you don’t follow instructions.
All safety messages will tell you what the potential hazard is, tell you how to reduce the chance of injury, and tell you what can happen if the instructions are not followed.
To reduce the risk of serious injury, read and follow the safety instructions below before assembling and using this product.
This product is intended for use in the garage.
WARNING
Excessive Weight Hazard
Use two or more people to move and install cabinet.
Failure to do so can result in back or other injury.
WARNING![]()
Tip Over Hazard
A child or adult can tip the cabinet and be killed.
Firmly close and lock doors and drawers before moving the cabinet.
Failure to do so can result in serious injury or death.
IMPORTANT SAFETY INSTRUCTIONS
- The product is intended for use in the garage.
- Close and lock the doors and drawer before moving this product.
- It is always recommended to secure the cabinets to the wall with the wall strap and bracket provided.
- DO NOT put anything on the top panel of the wall cabinet or tall cabinet.
- If the base cabinets have casters attached, please remove all items from the cabinet tops before moving the base cabinets.
SAVE THESE INSTRUCTIONS
FLEX CABINET SYSTEMS
CABINETS

SUITES

Cabinets Included
| Description | Quantity |
| 30″ Tall Cabinet | 1 |
| 24″ Wall Cabinet | 1 |
| 24″ 2-Door Base Cabinet | 1 |

Cabinets Included
| Description | Quantity |
| 30″ Tall Cabinet | 1 |
| 24″ Wall Cabinet | 1 |
| 24″ 1-Drawer 2-Door Base Cabinet | 1 |

Cabinets Included
| Description | Quantity |
| 30″ Tall Cabinet | 1 |
| 24″ Wall Cabinet | 2 |
| 24″ 2-Door Base Cabinet | 1 |
SKU: GANF05WFMTS
Cabinets Included
| Description | Quantity |
| 30″ Tall Cabinet | 1 |
| 24″ Wall Cabinet | 2 |
| 24″ 2-Door Base Cabinet | 2 |
SKU: GANF04WCMTS
Cabinets Included
| Description | Quantity |
| 30″ Tall Cabinet | 1 |
| 24″ Wall Cabinet | 1 |
| 24″ 2-Door Base Cabinet | 1 |
| 24″ 1-Drawer 2-Door Base Cabinet | 1 |
HARDWARE AND PARTS
NOTE: Hardware not shown to actual size. All hardware is packed in the hardware box, including the closet rod.

| No. | Description |
| Fl | M6 x 16 hex socket head screw |
| F2 | M6 x 40 hex tapping bolt |
| F3 | M6 flange nut |
| F4 | Washer |
| F5 | M6 round head square neck bolt |
| P1 | Wall strap |
| P2 | Adjustable foot |
| P3 | Shelf support |
| P4 | Wall bracket |
| P5 | Grommet |
| P6 | Mounting bracket |
| P7 | Top mat for base cabinet |
| P8 | Basket |
| P9 | Closet rod for tall cabinet |
| P10 | Basket track |
| P11 | Shelf for tall cabinet |
| P12 | Shelf for wall cabinet |
| P13 | Shelf for base cabinet |
| P14 | Key |
ASSEMBLY INSTRUCTIONS
Tools Required
- Gather the required tools and parts before starting installation.
- Read and follow the instructions included with the required tools.
Tools Needed:
| Hex Wrench (included) | Drill with a 10mm Hex Socket Driver Bit (not included) |
![]() | ![]() |
| Tape measure (not included) | #2 Phillips Head Screwdriver (not included) |
![]() | ![]() |
1. Install the Adjustable Feet
- Close and lock the cabinet doors.
NOTE: If you need to open the cabinet doors during adjustable feet assembly open them slowly and do not put any weight on the open doors. This avoids damage to the hinges.
- Two people may be required to complete the assembly. Place the cardboard sheet packaging provided on the ground and lay the cabinets flat on its back (doors facing up).
- Install 4 adjustable feet to the bottom of each base cabinet and tall cabinet as shown
2. Install the Grommets for Cord Management (Optional)

- Use the short side of the hex wrench to punch out the knockouts of your desired cord access holes.
- Then install the grommets into those holes.
3. Install the Shelves
- Insert shelf brackets into the slots at the desired heights and place the shelves over the shelf brackets.
- Make sure all four shelf brackets are installed at the same height.




4. Connect the Tall Cabinet to the Wall
NOTE: This instruction is for attaching the cabinets directly to the wall. For attaching the cabinets to Gladiator® GearTrack® Channels, please refer to page 12.
IMPORTANT: The M6 x 40 hex tapping bolts should be drilled into a wall stud.

- Bolt the wall bracket with two M6 x 40 hex tapping bolts (F2) to a wall stud. Fasten the tall cabinet by using the wall strap to tie the tall cabinet and wall bracket together.
5. Connect the Wall Cabinet(s) to the Wall
NOTE: This instruction is for attaching the wall cabinet directly to the wall. For attaching the wall cabinet to Gladiator® GearTrack® channels, please refer to page 12.
IMPORTANT: The M6 x 40 hex tapping bolts should be drilled into a wall stud.
- The distance between the locker’s top and bracket’s bottom edge should be 4-7/8″.
- The distance between the locker and bracket should be 2″.
- The distance between brackets should be 3-7/8″.
6. Connect the Wall Cabinet(s) to the Adjoining Cabinets
IMPORTANT: The M6 x 40 hex tapping bolts should be drilled into a wall stud.
NOTE: This is an example to show you how to build your system by connecting multiple cabinets (sold separately).

- Connect the wall cabinets as shown and tighten securely with four M6 x 16 hex socket head screws (F1), four nuts (F3) and four washers (F4) for each side.
- Attach each wall cabinet’s bottom to the wall studs with two M6 x 40 hex tapping bolts (F2).
7. Position the Base Cabinets
IMPORTANT: The M6 x 40 hex tapping bolts should be drilled into a wall stud.

- Bolt the wall bracket for each base cabinet with two M6 x 40 hex tapping bolts (F2) to a wall stud.

- Remove the drawer from the 1-drawer 2-door base cabinet.
(see instruction on page 16) - Fasten the base cabinet by using the wall strap to tie the base cabinet and wall bracket together.

- Install the drawer back into the 1-drawer 2-door base cabinet.
(see instruction on page 16) - Place the top mats on top of the base cabinets.
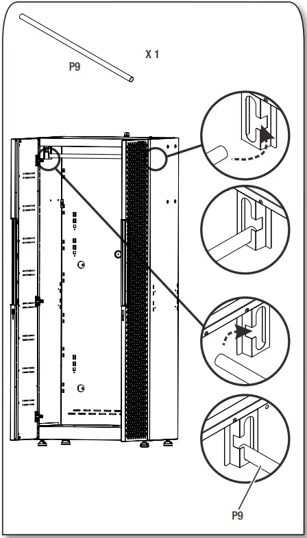
8. Install the Closet Rod in the Tall Cabinet

9. Install the Basket Tracks in the Tall Cabinet

■ Install two tracks to the tall cabinet’s shelf bottom with four M6 x 16 hex socket head screws (F1).
NOTE: Each tall cabinet is included with one basket.
Additional Flex basket kits are available for purchase to create more storage options. Two baskets can be positioned side by side underneath the tall cabinet’s shelf.
10. Install the Basket

- Attach the basket (P8) to the basket tracks (P10) installed already to the tall cabinet shelf’s bottom.
INSTALL CABINET TO GLADIATOR® GEARTRACK® CHANNEL
Install the 30″ Tall Cabinet
NOTE: Flex Brackets are sold individually and Gladiator® GearTrack® channels are sold separately.

- Attach the top bracket to the tall cabinet’s back top with four M6 round head square neck bolts (F5) and four M6 flange nuts (F3).
- Attach the center and bottom brackets to the tall cabinet’s back respectively with two M6 round head square neck bolts (F5) and two M6 flange nuts (F3).

- Make sure all three brackets are fully engaged in the slots as shown.
NOTE: . For installation of the Gladiator® GearTrack® channels, please refer to the manual instructions included with the Gladiator® GearTrack® channels.
Install the 24″ 2-door Base Cabinet
NOTE: Flex Brackets are sold individually and Gladiator® GearTrack® channels are sold separately.

- Attach the bracket to the wall cabinet’s back top with four M6 round head square neck bolts (F5) and four M6 flange nuts (F3).

- Make sure the bracket is fully engaged in the wall slots as shown. Tighten the pre-attached M6 x 16 hex socket head screws fully into the bracket and make sure they go into the wall slots.
NOTE: If installing the wall cabinet on GearTrack® channels, a second channel must be installed 6″(15.24cm) below the bottom of the supporting channel so the cabinet will hang level.
NOTE: For installation of the Gladiator® GearTrack® channels, please refer to the manual instructions included with the Gladiator® GearTrack® channels.
Install the 24″ 1-drawer 2-door Base Cabinet
NOTE: Flex Brackets are sold individually and Gladiator® GearTrack® channels are sold separately.

- Temporarily turn the base cabinet upside down as shown.
- Attach the brackets to the back of the base cabinet as shown with eight M6 round head square neck bolts (F5) and eight M6 flange nuts (F3).

- Hang the base cabinet onto the GearTrack® channels. Make sure the two brackets are fully engaged in the slots as shown.
NOTE: . For installation of the Gladiator® GearTrack® channels, please refer to the manual instructions included with the Gladiator® GearTrack® channels.
Install the 24″ 1-drawer 2-door Base Cabinet
NOTE: Flex Brackets are sold individually and Gladiator® GearTrack® channels are sold separately.

- Remove the drawer from the base cabinet. (See instruction on Page 16)
- Temporarily turn the base cabinet upside down as shown.
- Attach the brackets to the back of the base cabinet as shown with eight M6 round head square neck bolts (F5) and eight M6 flange nuts (F3).

- Make sure the two brackets are fully engaged in the slots as shown. Install the drawer back to the base cabinet. (See instruction on page 16)
NOTE: . For installation of the Gladiator® GearTrack® channels, please refer to the manual instructions included with the Gladiator® GearTrack® channels.
NOTE: Flex Brackets are sold individually and Gladiator® GearWall® panels are sold separately.
NOTE: For installation of the Gladiator® GearWall® panels, please refer to the manual instructions included with the Gladiator® GearWall® panels.
Install the 30″ Tall Cabinet

- Install three brackets to the tall cabinet. (see instruction on Page 12))
- Hang the tall cabinet onto the GearWall® panels.
- Make sure all three brackets are fully engaged in the slots as shown.
Install the 24″ 2-door Base Cabinet

- Install two brackets to the base cabinet. (see instruction on Page 14)
- Hang the base cabinet onto the GearWall® panels.
- Make sure both brackets are fully engaged in the slots as shown.
NOTE: Flex Brackets are sold individually and Gladiator® GearWall® panels are sold separately.
NOTE: . For installation of the Gladiator® GearWall® panels, please refer to the manual instructions included with the Gladiator® GearWall® panels.
Install the 24″ 1-drawer 2-door Base Cabinet

- Install two brackets to the base cabinet. (see instruction on Page 15)
- Hang the base cabinet onto the GearWall® panels.
- Make sure both brackets are fully engaged in the slots as shown. Install the drawer back to the base cabinet. (See instruction on page 18)
Install the 24″ Wall Cabinet

- Install the bracket to the wall cabinet. (see instruction on Page 13)
- Hang the wall cabinet onto the GearWall® panels.
- Make sure the bracket is fully engaged in the wall slots as shown. Tighten the pre-attached M6 x 16 hex socket head screws fully into the bracket and make sure they go into the wall slots.
DOOR ADJUSTMENT
Adjusting the Door (if required)
| ■ Screw the inner screw on the soft closed hinge to adjust the gap between the doors and shell. Ensure the door is always level. | ■ Screw the outer screw on the soft closed hinge to adjust the gap between the doors. Ensure the door is always level. |
![]() | ![]() |
DRAWER REMOVAL AND REPLACEMENT
Drawer removal and replacement

- DRAWER REMOVAL
Empty the drawer. Pull the drawer out so it’s almost fully extended. There are two black release levers, one on each side of the drawer. Pull up the black release lever on one side, while pushing down the black release lever on the other side.
While holding the levers in the positions as instructed above, pull the drawer outward until it is released from the drawer slides. - DRAWER REPLACEMENT
Extend the drawer slides from the cabinet. Insert the brackets on each side of the drawer into the slots in the slides, being careful that they are properly positioned. Once properly inserted, completely close the drawer to set the slides in their proper positions.
WEIGHT CAPACITY
| 24″ 2-Door Base Cabinet Max 620 lbs. | 24″ Wall Cabinet Max 120 lbs. |
![]() | ![]() |
| 24″ 1-Drawer 2-Door Base Cabinet Max 670 lbs. | 30″ Tall Cabinet Max 870 lbs. (Shelf’s maximum load capacity includes the basket weight and load inside the basket) |
![]() | ![]() |
MAINTENANCE
- Check all the screws and nuts perodically for tightness. Tighten them when necessary.
- Check the wall strap periodically for tightness. Tighten it when necessary.
CARE AND CLEANING
- Perodically clean the surfaces with a soft rag and water.
- Grease and oil can be removed with most standard cleaning fluids. Use a nonflammable cleaning fluid.
FLEX ACCESSORIES
To order accessories, call 1-866-342-4089 and ask for the accessory part number listed below or contact your authorized Gladiator® GarageWorks dealer. In Canada, Call 1-800-807-6777.
Flex Bracket (Order Part # GANA201BMS) – Allows the cabinet to be mounted on Gladiator® Garageworks GearTrack® channels.
Flex Caster Kit (Order Part # GANA04CKMX)
Flex Basket Kit (Order Part # GANA12SBMB)
Flex Worktop (Order Part # GANA24HWMX)
WARRANTY
For warranty information:
In the U.S.A. call 1-866-342-4089 or visit our website at
www.GladiatorGW.com
In Canada call 1-800-807-6777 or visit our website at
www.gladiatorgarageworks.ca
Limited Lifetime Parts Warranty for metal parts.
The warranty excludes incidental / inconsequential damages and failure due to misuse, abuse or normal wear and tear.
®/™ ©2023 Gladiator. All rights reserved. Used under license in Canada.
W11634360B






























