
Flint Rehabilitation Devices, LLC
Flint Wireless Module Users Manual
Date update: 11/26/2021
Introduction
The Flint Wireless Module is built around the nRF52832 microcontroller produced by Nordic Semiconductors. The controller has an integrated 2.4gHz radio that supports a variety of wireless protocols.
The Module provides breakouts for all 32 of the general-purpose io pins on the nRF52832. It provides the host controller with a low-power 32.768kHz oscillator, a 32 MHz oscillator, and the necessary passive components to use both the integrated LDO regulator on the host controller and the integrated dc/dc regulator.
The module also includes a 2.4gHz ceramic chip antenna.
Specifications
Table 1: Recommended operating conditions
| SYMBOL | PARAMETER | MIN | NORM | MAX | UNITS |
| VDD | Supply voltage-independent of dcdc enable | 1.7 | 3.0 | 3.6 | V |
| TR_VDD | Supply rise time (0-1.7v) | 60 | Ms | ||
| TA | Operating temperature | -40 | 25 | 85 | °C |
Table 2: Absolute maximum ratings
| SUPPLY VOLTAGES | MIN | MAX | UNIT |
| VDD | -0.3 | 3.9 | V |
| VSS | 0 | V | |
| I/O PIN VOLTAGE | |||
| VI/O VDD <= 3.6 V | -0.3 | VDD+0.3V | V |
| I/O VDD > 3.6 V | -0.3 | 3.9V | V |
| NFC ANTENNA PIN CURRENT | |||
| INFC1/2 | 80 | mA | |
| RADIO | |||
| RF INPUT LEVEL | 10 | dBm |
Antenna Information
Table 3: Antenna Specifications
GENERAL SPECIFICATIONS
| ANTENNA TYPE | Ceramic Chip |
| PART NUMBER | Johansen Technologies 2450AT43B100 |
| FREQUENCY (GHZ) | 2.4-2.5 |
| PEAK GAIN (DBI) | 1.3 tsp. |
| AVERAGE GAIN (DBI) | -0.5 tsp. |
| RETURN LOSS (DB) | 9.5 min |
| IMPEDANCE (Ω) | 50 |
| INPUT POWER (W) | 2 max. (CW) |
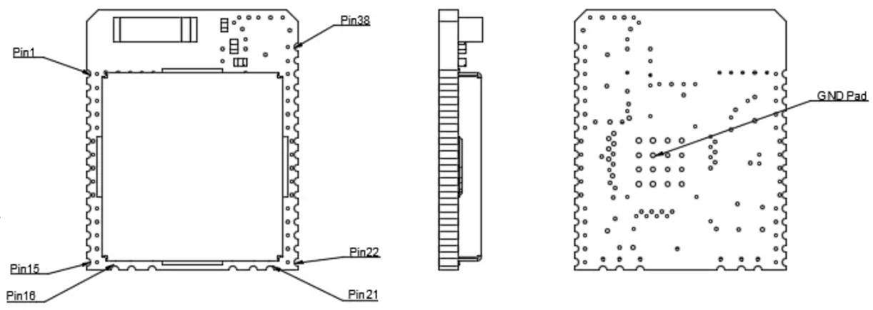
Module Pinout


Table 4: Pin descriptions
| MODULE PIN NUMBER | FUNCTION |
| 1 | GND |
| 2 | P0.25 |
| 3 | P0.26 |
| 4 | P0.27 |
| 5 | P0.28 |
| 6 | P0.29 |
| 7 | P0.30 |
| 8 | P0.31 |
| 9 | P0.02 |
| 10 | P0.03 |
| 11 | P0.04 |
| 12 | P0.05 |
| 13 | P0.06 |
| 14 | P0.07 |
| 15 | P0.08 |
| 16 | P0.09 |
| 17 | GND |
| 18 | VDD |
| 19 | P0.24 |
| 20 | GND |
| 21 | P0.10 |
| 22 | P0.11 |
| 23 | P0.12 |
| 24 | P0.13 |
| 25 | P0.14 |
| 26 | P0.15 |
| 27 | P0.16 |
| 28 | P0.17 |
| 29 | P0.18/SWD |
| 30 | P0.19 |
| 31 | P0.20 |
| 32 | P0.21/RESET |
| 33 | SWDCLK |
| 34 | SWDIO |
| 35 | P0.22 |
| 36 | P0.23 |
| 37 | GND |
| 38 | GND |
| PAD | GND |
Programming Instructions
You can use the SWD interface for programming and debugging. Pin 33 is the SWDCLK pin, and Pin 34 is the SWDIO pin. Both pins use internal pull-up resistors. Additional pull-up resistors are not required and should not be used. A voltage reference and a grounding point must also be supplied for proper programming and debugging. Pin 29 can optionally be used as an SWD pin. Pin 32 can optionally be configured as a hardware reset pin.
Program using a suitable JTAG/SWD programmer like a segger J-link.
Layout guidelines

All units in mm.
If possible, place the module in a corner. There must not be any copper under the antenna keep-out area. Keep metal away from the keep-out area as much as possible.
2.0 Integration instructions for host product manufacturers according to KDB 996369 D03 OEM Manual v01
2.2 List of applicable FCC rules
This device complies with part 15 of the FCC Rules. Operation is subject to the following two conditions:
(1) This device may not cause harmful interference
(2) This device must accept any interference received, including interference that may cause undesired operation.
Warning: Changes or modifications not expressly approved by the party responsible are prohibited.
NOTE: This equipment has been tested and found to comply with the limits for a Class B digital device, pursuant to part 15 of the FCC Rules. These limits are designed to provide reasonable protection against harmful interference in a residential installation. This equipment generates, uses, and can radiate radio frequency energy and, if not installed and used in accordance with the instructions, may cause harmful interference to radio communications. However, there is no guarantee that interference will not occur in a particular installation. If this equipment does cause harmful interference to radio or television reception, which can be determined by turning the equipment off and on, the user is encouraged to try to correct the interference by one or more of the following measures:
- Reorient or relocate the receiving antenna.
- Increase the separation between the equipment and receiver.
- Connect the equipment into an outlet on a circuit different from that to which the receiver is connected.
- Consult the dealer or an experienced radio/ TV technician for help. A clearly visible label is required on the outside of the user’s (OEM) enclosure with the following text:
2.3 Specific operational use conditions
This module is designed to be used in mobile or fixed applications. It is designed to be used with the integrated ceramic chip antenna. The peak gain of the antenna is 1.3 DBI (type). It is designed to operate in the 2.4gHz range.
2.4 Limited module procedures
This device is pursuant of full modular approval. The equipment should be installed and operated with a minimum distance of 20cm between the radiator and a human body.
2.5 Trace antenna designs
Not applicable.
2.6 RF exposure considerations
this module is limited to installation in mobile or fixed applications. The equipment should be installed and operated with a minimum distance of 20cm between the radiator and a human body.
2.7 Antennas
This module contains a single ceramic chip antenna.
Table 5: Antenna Specifications
| GENERAL SPECIFICATIONS | |
| ANTENNA TYPE | Ceramic Chip |
| PART NUMBER | Johansen Technologies 2450AT43B100 |
| FREQUENCY (GHZ) | 2.4-2.5 |
| PEAK GAIN (DBI) | 1.3 typ. |
| AVERAGE GAIN (DBI) | -0.5 typ. |
| RETURN LOSS (DB) | 9.5 min |
| IMPEDANCE (Ω) | 50 |
| INPUT POWER (W) | 2 max. (CW) |
2.8 Label and compliance information
The FCC identification number is indicated on the module. When the FCC identifications number is not visible (when the module is installed in a closed device) the enclosing device must also display a label referring to the enclosed module. The exterior label can use wording such as “Contains FCC ID: ———“. Alternatively, if the containing device has a suitable display, an e-label can be used. The information should also be contained in the device’s users manual.
2.9 Information on test modes and additional testing requirements
Additional testing may be required if the module is used outside of its specified operational use conditions.
2.10 Additional testing, Part 15 Subpart B disclaimer
This equipment has been tested and found to comply with the limits for a Class B digital device, pursuant to part 15 of the FCC Rules. If the grantee markets their product as being Part 15 Subpart B compliant (when it also contains unintentional-radiator digital circuitry), the final host product still requires part 15 Subpart B compliance testing with the modular transmitter installed.


















