FISHER PAYKEL RF605QDU ActiveSmart Refrigerator
SAFETY AND WARNINGS
WARNING
Electric Shock Hazard
Failure to follow this advice may result in death, electric shock, fire or injury to persons.
- Read and follow the safety and warnings outlined in this guide before operating this appliance.
Risk of fire/flammable material
This refrigerator contains flammable refrigerant isobutane (R600a).
READ AND SAVE THIS GUIDE
Use this appliance only for the intended purpose as described in the user guide. When using this appliance always exercise basic safety precautions including the following:
- WARNING: Keep ventilation openings, in the appliance enclosure or the built-in structure, clear of obstruction.
- WARNING: Do not damage the refrigerant circuit.
- In case of damage to the refrigerant circuit, ventilate the area by opening all windows. Do not operate electrical equipment or any other equipment that may produce arcs, sparks or flames in the area. Contact your Fisher & Paykel trained and supported service technician immediately to arrange for the appliance to be repaired.
- It is hazardous for anyone other than a Fisher & Paykel trained and supported service technician to service this appliance.
- In Queensland, the authorized service person must hold a gas work license or authorization for hydrocarbon refrigerants to carry out service or repairs which involve removal of covers.
- Your refrigerator is designed to operate for many years without the need for service checks. However, if your refrigerator is malfunctioning, have it attended to by your Fisher & Paykel trained and supported service technician as soon as possible. All electrical repairs must be carried out by an adequately trained service technician or qualified electrician.
- This refrigerating appliance is not intended to be used as a built-in appliance.
- It is hazardous for anyone other than a Fisher & Paykel trained and supported service technician to service this appliance.
Electrical
- This appliance must be installed in accordance with the installation instructions before use.
- To allow disconnection of the appliance from the supply after installation, incorporate a switch in the fixed wiring in accordance with the wiring rules.
- Never unplug your refrigerator by pulling on the power cord. Always grip the plug firmly and pull straight out from the outlet.
- Do not plug in any other appliance at the same power point as your refrigerator or use extension cords or double adapters.
- Repair or replace immediately all electric service cords that have become frayed or otherwise damaged. Do not use a cord that shows cracks or abrasion along its length or at either the plug or appliance end.
- If the power supply cord is damaged, it must only be replaced by your Fisher & Paykel trained and supported service technician because special purpose tools are required.
- When moving your appliance away from the wall, be careful not to roll over or damage the power cord.
- Do not use electrical appliances inside the food storage compartments of the appliance, unless they are of the type recommended by the manufacturer.
- When positioning the appliance, ensure the power cord is not trapped or damaged.
- Do not locate multiple portable socket-outlets or portable power supplies at the rear of the appliance.
Water filter
- To reduce the risk associated with choking:
- DO NOT allow children under 3 years of age to have access to small parts during the installation of the water filter.
- The water connection to your Ice & water refrigerator must be installed by a qualified plumber or Fisher & Paykel trained and supported service technician and comply with all state and local laws.
- Installation and use MUST comply with all state and local plumbing codes. Check with your local public works department for plumbing codes. You must follow their guidelines as you install the water filtration system.
- To avoid serious illness or death, only connect your water filter to safe drinking water.
- The water filter cartridge needs to be changed when the replacement indicator icon illuminates. This will happen every 6 months.
- If the water filtration system has been allowed to freeze, replace filter cartridge. Failure to replace the disposable filter at recommended intervals may lead to reduced filter performance and failure of the filter, causing property damage from water leakage or flooding.
- When installing the product use new tubing supplied with the refrigerator, DO NOT reuse any existing water connections.
- The water system is designed to operate between 138–827kPa (20–120psi). DO NOT install if water pressure exceeds 827kPa (120psi). Ensure the supplied pressure limiting valve is installed before installing the water filtration system.
- To reduce the risk associated with property damage due to water leakage or flooding:
- DO NOT install systems in areas where ambient temperatures may go above 38°C or drop below 0.6°C.
- DO NOT install on hot water supply lines. The water filter system is designed with a maximum inlet temperature of 38°C.
- DO NOT install where water hammer conditions may occur. If water hammer conditions exist, you must install a water hammer arrester.
ACTIVESMART™ REFRIGERATOR

- Quad Door Fridge Freezer, 905mm, 605L, Ice & Water Contemporary RF605QDU
- Quad Door Fridge Freezer, 905mm, 605L, Non-Ice & Water Contemporary RF605QD
- Quad Door Fridge Freezer, 905mm, 605L, Ice & Water Contemporary RF605QNU & RF605QZU
SUPPLIED PARTS
MISCELLANEOUS ITEMS PACK
WATER FILTER KIT
HANDLE KIT
CONTEMPORARY
The handle kit is not supplied and must be purchased separately through an authorised Fisher and Paykel dealer. Visit fisherpaykel.com for more information.
Aluminium/Black square handle set
Aluminium/Black square fine handle set
Aluminium round handle set
PRODUCT DIMENSIONS

PRODUCT DIMENSIONS MM
- An Overall height of the product 1790
- B Overall width of product 905
- C Overall depth of product (excludes handle) 688
- D Depth with door open – from rear of fridge – 90° rotation 1084
- E Depth with door open – from flush with door – 90° rotation 396
- F Height to top of chassis 1754
- G Height to top of hinge cover 1775
Actual product dimensions may vary by ± 2 mm
CABINETRY DIMENSIONS — PROUD
CUTOUT

- Including minimum air clearances
- Measurement includes a feet increase of 10mm.
- For full drawer/shelf access, the doors need to be open past 90°. To avoid damaging the product ensure doors do not contact the adjacent cabinetry/wall.
CLEARANCES

For full drawer/shelf access, the doors need to be open past 90°. To avoid damaging the product ensure doors do not contact the adjacent cabinetry/wall.
CABINETRY DIMENSIONS — FLUSH
CUTOUT


- Including minimum air clearances
- Measurement includes a feet increase of 10mm.
- For full drawer/shelf access, the doors need to be open past 90°. To avoid damaging the product ensure doors do not contact the adjacent cabinetry/wall.
CLEARANCES


For full drawer/shelf access, the doors need to be open past 90°. To avoid damaging the product ensure doors do not contact the adjacent cabinetry/wall.
UNPACKING AND MOVING YOUR APPLIANCE
Check that your appliance is the correct model as per your order
Follow the steps below to move your appliance to the install location. Be careful when tilting the appliance forward/backward. Tape the door shut to prevent opening while moving the appliance.
- Tilt the appliance slightly forward and Insert the hand truck between pallet and appliance.

- Restrain the appliance with a strap.

- Tilt backward to load appliance onto hand truck and push to install location.

BEFORE INSTALLATION
Please follow the installation steps below to ensure your appliance operates correctly.
Power
- Install your appliance where the plug is easily accessible.
- Connect your refrigerator to a separate power point. Avoid sharing the power point with other appliances. Do not use extension cords and double adaptors as the combined weight of two power cords can pull the double adaptor from the power outlet.
- For power requirements, refer to the information on the serial plate located at the front bottom right-hand side of the refrigerator when the door is open.
- Ensure your appliance is properly grounded (earthed).
- Connect the appliance to the electrical supply (220V – 240V 50Hz) with the fitted plug and lead.
- Connections to the mains supply should be in accordance with local regulations.
Ice & Water and Automatic Ice models
- Your Ice & Water and Automatic Ice refrigerator must be installed by a qualified plumber or Fisher & Paykel trained and supported service technician as incorrect plumbing can lead to water leaks.
- Fisher & Paykel Appliances does not accept responsibility for damage (including water damage) caused by faulty installation or plumbing.
ELECTRICAL CONNECTION

We recommend the use of an isolating switch that is easily accessible to the user after the refrigerator is installed.
ELECTRICAL SPECIFICATIONS
- Supply 230 VAC, 50 Hz
- Service 10 amp circuit
- Socket 3-pin earthing-type
WATER CONNECTION (ICE & WATER MODELS)
- Ensure the refrigerator is NOT plugged into a power supply. Locate the isolation tap for cold water connection (tee and tap fitting not supplied).
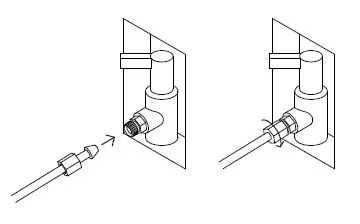
Locate the water fitting kit to complete water connection installation. 
- Remove cap from water inlet valve at the back of the refrigerator.

- Connect one end of the water hose set to the water inlet valve.

- Tighten the compression nut until it is hand tight, then tighten one additional turn with a spanner.

- Fasten the water tap adaptor to the isolation tap. Take care not to overtighten the water tap adaptor.

- Check the connections, turn on the water supply and check for leaks.

FLUSHING THROUGH THE WATER DISPENSER
- Press the water dispenser pad to dispense 4L of water. Wait for 4 minutes before dispensing again.
- Dispense 4L of water and then wait for another 4 minutes. There may be carbon residue dispensed together with water. This is not harmful, and is normal during the flushing process.
- Dispense another 4L of water. This prevents excessive dripping of water from your dispenser.
There may be a few drips of water coming out of the dispenser for a few days after installation. This is normal and occurs as the remaining trapped air is cleared from the sytem. Ensure your refrigerator has cooled for at least 2 hours before use.
FLUSHING THROUGH THE AUTOMATIC ICE MAKER
- To turn your ice maker on press . The light above the button will illuminate.

- Press the , and together for 4 seconds then close the doors. The ice tray will empty the water into the bin below. The ice tray will only empty after the doors are closed. Repeat to remove dust in the ice tray collected during manufacture and transport.

- Empty the water, dry the bin and return it correctly.
Once your ice maker is turned on the first bin of ice may be discolored. This is not harmful and normal during the flushing process. Discard the first full bin of ice made. Your ice maker is now ready for use. The performance of your water filter will increase with use, reaching optimum performance after two to three full bins of ice. Carry out the above steps after a holiday/vacation or extended periods of not using ice.
POSITIONING YOUR REFRIGERATOR
Your Fisher & Paykel ActiveSmart™ refrigerator is fitted with front and rear rollers to allow you to easily move your refrigerator forward and backward. Avoid moving your refrigerator sideways to prevent damaging the rollers or the floor covering surface. Your refrigerator will arrive with the front feet wound up to assist with moving the product into its final location.
- Roll the refrigerator into its final position ensuring there is the correct air gap between the product and surrounding cabinetry. See minimum clearance in cabinetry dimensions table.

- Adjust the front feet down until the refrigerator is leaning backward with the front approximately 10mm higher than the back. This will ensure a good door closing action.

- Open the door that is out of alignment. Lift the door upwards. Clip the spacer onto the centre hinge pin. Close the door to recheck alignment.

What to do if your product is unstable
- Gently push the refrigerator back until the rear rollers contact the floor. Measure the gap under the front foot, which has come off the floor. Obtain some solid packing material (hardwood, plastic, etc) which fits firmly into the gap under the foot.

- Wind both front feet up and roll the product out of position. Place the packing material in the location diagonally opposite the front roller that lifts off the floor. Ensure the packing material stays in place when the product is pushed back into position.

- Roll the refrigerator back into position and adjust the front feet. Check alignment and door closing action are satisfactory. Make small adjustments to the front feet where necessary.

COMPLETE INSTALLATION
Before placing food in the fresh food or freezer compartments
- Remove all internal packaging. Ensure that all transit clips are removed from the refrigerator. These are small rubber stoppers located at the back of the shelves.
- Clean the inside of the appliance with a mix of warm water and a small amount of liquid detergent. Use a soft cloth to remove dust collected during manufacture and transport.
- Allow the refrigerator and freezer to run empty for 2 – 3 hours to allow each compartment to cool to the appropriate temperature.
- The appliance may have an odour on its initial operation, this will go when the refrigerator and freezer have cooled sufficiently.
FINAL CHECKLIST
TO BE COMPLETED BY THE INSTALLER
Ensure that:
- Check all parts are installed.
- Ensure the appliance is level.
- Ensure all internal and external packaging is removed from the appliance before use.
- Ensure the water filter is installed and has been flushed.
FISHERPAYKEL.COM
© Fisher & Paykel Appliances 2021. All rights reserved. The models shown in this guide may not be available in all markets and are subject to change at any time. The product specifications in this guide apply to the specific products and models described at the date of issue. Under our policy of continuous product improvement, these specifications may change at any time. For current details about model and specification availability in your country, please go to our website or contact your local Fisher & Paykel dealer.




Locate the water fitting kit to complete water connection installation. 
































