CBIclassic C Hand Switches
User Manual

HSU – Operating Manual
Document Version 3.0 / December 2021
This document was originally published in English.
LOGICDATA Electronic & Software Entwicklungs GmbH
Wirtschaftspark 18
8530 Deutschlandsberg
Austria
Phone: +43 (0) 3462 51 98 0
Fax: +43 (0) 3462 51 98 1030
Internet: http://www.logicdata.net
Email: [email protected]
GENERAL INFORMATION
Documentation for the HSU Handset consists of this Operating Manual and several other documents (Other applicable documents, page 5). Assembly personnel must read all documentation before starting assembly. Keep all documentation for as long as the product is in your possession. Ensure that all documentation is provided to subsequent owners. Go to www.logicdata.net for more information and support. This Manual may change without notice. The most recent version is available on our website.
1.1 OTHER APPLICABLE DOCUMENTS
This Operating Manual contains assembly and operation instructions for the HSU Handset. Other applicable documents include:
- Datasheet for the HSU Handset.
- Datasheet and Operating Manual for the Control Box in the Table System
1.2 COPYRIGHT
© December 2021 by LOGICDATA Electronic und Software Entwicklungs GmbH. All rights reserved, except for those listed in Chapter 1.3 Royalty-free use of images and text on page 5.
1.3 ROYALTY-FREE USE OF IMAGES AND TEXT
After purchase and full payment of the product, all text and images in Chapter 2 “Safety”, may be used free of charge by the customer for 10 years after delivery. They should be used to prepare end-user documentation for Height-Adjustable Table Systems. The license does not include logos, designs, and page layout elements belonging to LOGIC DATA. The Reseller may make any necessary changes to the text and images to adapt them for the purpose of end-user documentation. Texts and images may not be sold in their current state, and may not be published or sublicensed digitally. The transfer of this license to third parties without permission from LOGICDATA is excluded. Full ownership and copyright of the text and graphics remain with LOGICDATA. Texts and graphics are offered in their current state without warranty or promise of any kind. Contact LOGICDATA to obtain text or images in an editable format ([email protected]).
1.4 TRADEMARKS
Documentation may include the representation of registered trademarks of goods or services, as well as information about copyright or other proprietary expertise of OGICDATA or third parties. In all cases, all rights remain exclusively with the respective copyright holder. LOGICDATA® is a registered trademark of LOGICDATA Electronic & Software GmbH in the USA, the European Union, and other countries.
SAFETY
2.1 TARGET AUDIENCE
This Operating Manual is intended for Skilled Persons only. Refer to Chapter 2.8 Skilled Persons on page 9 to ensure that personnel meets all requirements.
2.2 GENERAL SAFETY REGULATIONS
In general, the following safety regulations and obligations apply when handling the product:
- Do not operate the product unless it is in a clean and perfect condition
- Do not remove, change, bridge, or bypass any protection, safety, or monitoring equipment
- Do not convert or modify any components without written approval from LOGICDATA
- In the event of malfunction or damage, faulty components must be replaced immediately
- Unauthorized repairs are prohibited
- Do not attempt to replace hardware unless the product is in a de-energized state
- Only Skilled Persons are allowed to work with HSU Handsets
- Ensure that national worker protection conditions and national safety and accident prevention regulations are observed during the operation of the system
2.3 INTENDED USE
The HSU is a Handset for electrically Height-Adjustable Tables. It is installed by Resellers into HeightAdjustable Table systems. It is used to control Height-Adjustable Table systems via a Control Box. It is intended for indoor use only. It may only be installed in compatible Height-Adjustable Table Systems and with LOGICDATA-approved accessories. Contact LOGICDATA for further details. Use beyond or outside the intended use will void the product’s warranty.
2.4 REASONABLY FORESEEABLE MISUSE
Usage outside of the intended use may lead to a minor injury, serious injury, or even death. Reasonably foreseeable misuse of the Handset includes, but does not extend to:
- Connecting unauthorized parts to the product. If you are unsure as to whether a part can be used with a Handset, contact LOGICDATA for further information
2.5 EXPLANATION OF SYMBOLS AND SIGNAL WORDS
Safety Notices contain both symbols and signal words. The signal word indicates the severity of the hazard.
DANGER Indicates a hazardous situation that, if not avoided, will result in death or serious injury.
WARNING Indicates a hazardous situation that, if not avoided, could result in death or serious injury.
CAUTION Indicates a hazardous situation that, if not avoided, could result in minor or moderate injury.
NOTICE Indicates a situation that, if not avoided, could result in damage to the product through electrostatic discharge (ESD).
NOTICE Indicates a situation that will not lead to personal injury, but could lead to damage to the device or the environment.
INFO Indicates the protection class of the device: Protection Class III. Protection Class III devices may only be connected to SELV or PELV power sources.
INFO Indicates important tips for handling the product.
2.6 LIABILITY
LOGICDATA products comply with all currently applicable health and safety regulations. However, risk can result from incorrect operation or misuse. LOGICDATA is not liable for damage or injury caused by:
- Improper product use
- Disregard the documentation
- Unauthorized product alterations
- Improper work on and with the product
- Operation of damaged products
- Wear parts
- Improperly performed repairs
- Unauthorized changes to the operating parameters
- Disasters, external influence, and force majeure
The information in this Operating Manual describes the characteristics of products without assurances. Resellers assume responsibility for the LOGICDATA products installed in their applications. They must ensure their product complies with all relevant directives, standards, and laws. LOGICDATA shall not be held liable for any damage that is directly or indirectly caused by the delivery or use of this document. Resellers must observe the relevant safety standards and guidelines for each product in the Table System.
2.7 RESIDUAL RISKS
Residual risks are the risks that remain after all relevant safety standards have been complied with. These have been evaluated in the form of a risk assessment. Residual risks associated with the installation of HSU Handsets are listed here and throughout this Operating Manual. See also Chapter 1.1 Other Applicable Documents on page 5. The symbols and signal words used in this Operating Manual are listed in Chapter 2.5 Explanation of Symbols and Signal Words on page 7.
WARNING
Risk of death or serious injury through electric shocks
HSU Handsets are electrical devices. Although you will not have to connect the Handset to the Control Box during assembly, basic safety precautions must be taken at all times.
Failure to observe electrical safety precautions may lead to death or serious injury through electric shocks.
- Never open the Handset
- Ensure that the Handset is not connected to the Control Box during assembly
- Do not convert or modify the Handset in any way
- Do not immerse the Handset or its components in liquid. Clean only with a dry or slightly damp cloth
- Do not place the Cable of the Handset on heated surfaces
- Check the housing and cables of the Handset for visible damage. Do not install or operate damaged products.
WARNING
Risk of death or serious injury through electric shocks
The HSU is a Protection Class III device. It may only be supplied with safety extra-low voltage (SELV). Supplying the HSU with the incorrect voltage may lead to death or serious injury through electric shocks.
- Only supply the HSU with safety extra-low voltage (SELV)
- Read the product’s Type Plate for exact voltage specifications
WARNING
Risk of death or serious injury in explosive atmospheres
Operating the Handset in potentially explosive atmospheres may lead to death or serious injury through explosions.
- Read the relevant directives to determine if an atmosphere is potentially explosive
- Do not operate the Handset in potentially explosive atmospheres
CAUTION
Risk of minor or moderate injury through tripping
During the assembly process, you may have to step over Cables. Tripping over Cables may lead to minor or moderate injury.
- Ensure that the assembly area is kept clear of unnecessary obstructions
- Be careful not to trip over Cables
CAUTION
Risk of minor or moderate injury through crushing
If any Handset Key becomes stuck while the system is in motion, the system may not stop properly. This may lead to minor or moderate injury through crushing.
- Disconnect the system immediately if any Handset Key becomes stuck
2.8 SKILLED PERSONS
CAUTION
Risk of injury through the incorrect assembly
Only Skilled Persons have the expertise to complete the assembly process safely.
Assembly by Unskilled Persons may lead to minor or moderate injury.
- Ensure that only Skilled Persons are allowed to complete the assembly
- Ensure that persons with limited ability to react to danger do not take part in the assembly process
HSU Handsets may only be installed by Skilled Persons. A Skilled Person is defined as someone who:
- Is authorized for installation planning, installation, commissioning, or servicing of the product
- Has read and understood all documentation relevant to the Handset
- Has the technical education, training, and/or experience to perceive risks and avoid hazards
- Has knowledge of the specialist standards applicable to the product
- Has the expertise to test, assess, and manage electrical and mechatronic products and systems in accordance with the generally accepted standards and guidelines of electrical engineering and furniture manufacturing
Resellers are companies that purchase LOGICDATA products for installation in their own products.
INFO
For reasons of EU conformity and product safety, Resellers should provide end users with an Operating Manual in their native EU official language.
INFO
The Charter of the French Language (La Charte de la langue française) or Bill 101 (Loi 101) guarantees the right of the population of Quebec to conduct business and commercial activities in French. The bill applies to all products sold and used in Quebec. For table systems that will be sold or used in Quebec, Resellers must provide all product-relevant texts in French. These include, but are not limited to:
- Operating Manuals
- All other product documentation, including datasheets
- Inscriptions on the product (such as labels), including those on product packaging
- Warranty certificates
The French inscription may be accompanied by a translation or translations, but no inscription in another language may be given greater prominence than that in French.
INFO
Operating Manuals must include all the safety instructions that end users require to handle the product safely. They must also include an instruction to always keep the Operating Manual in the immediate vicinity of the product.
INFO
No unauthorized persons (young children, persons under the influence of medications, etc.) should be allowed to handle the product.
INFO
Resellers must perform a risk assessment on their product that covers residual hazards. It must include measures to mitigate risk, or reference the product’s, Operating Manual.
SCOPE OF DELIVERY
The standard scope of delivery for the HSU consists of the Handset, its pre-attached cable, and 3 Mounting Screws. All other components necessary for installing the Handset must be supplied separately by the reseller.
UNPACKAGING
To unpackage the product:
- Remove all components from the packaging
- Check the contents of the package for completeness and damage
- Provide the Operating Manual to the operating personnel
- Dispose of the packaging material
NOTICE
Dispose of the packaging material in an environmentally friendly manner. Remember to separate plastic parts from the cardboard packaging.
NOTICE
Ensure proper ESD handling during un-packaging. Damage that can be attributed to electrostatic discharge will void warranty claims.
PRODUCT
Fig.1 shows a standard model of the HSU Handset. The exact variant of the HSU is denoted by the product’s order code. Consult the accompanying data sheet to ensure that you have received the correct variant.
5.1 KEY PRODUCT FEATURES
- Memory Position Keys
- Mounting Points
- UP / DOWN Keys
- SAVE Key
- Display
- Mounting Plate (for sliding mechanism)

5.2 ABOUT THE SLIDING MECHANISM
The Sliding Mechanism is a feature of the HSU Handset that allows the handset to be stowed under the table, during transportation, or when it is not being used.
To move the retracted position: Push the handset inwards toward the table top until it clicks into place.
To move the extended position: Push the handset to release it, then move gently outwards.
5.3 DIMENSIONS
| Length | 69.5 mm | 2.736 “ |
| Width | 137.2 mm | 5.404 “ |
| Height (to the underside of the Table Top) | 24.7 mm | 0.974 “ |
Fig. 2: Product dimensions, HSU
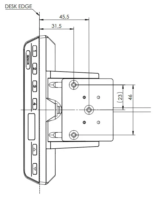
5.4 DRILLING TEMPLATE
When placing the drilling holes, it must be ensured that the Handset does not protrude from the front edge of the Table Top while in the retracted position. To ensure the correct position:
- The two drilling holes at the front of the plate must be 31.5 mm from the front edge of the table.
- The two drilling holes must be placed in a line parallel to the front edge of the table and 46 mm apart.
- The single drilling hole at the back of the plate must be 45.5 mm from the front edge of the table.
- The center of the single drilling hole must be 23 mm from the width of each of the two front holes.
The Side Edge of the HSU does not have to be flush with the Table’s Side Edge. To avoid protrusion over the side edge, leave a gap of at least 70 mm from the central hole to the side edge of the table.
ASSEMBLY
This chapter describes the process of installing the HSU Handset into the Height-Adjustable Table System.
6.1 SAFETY DURING ASSEMBLY
WARNING
Risk of death or serious injury through electric shocks
HSU Handsets are electrical devices. Basic safety precautions must be taken at all times. Failure to observe electrical safety precautions may lead to death or serious injury through electric shocks.
- Never open the Handset
- Ensure that the Handset is not connected to the Control Box during assembly
- Do not convert or modify the Handset in any way
- Check the housing and cables of the Handset for visible damage. Do not install or operate damaged products.
CAUTION Risk of minor or moderate injury through improper handling
Improper handling of the product during assembly may lead to minor or moderate injury through cutting, pinching, and crushing.
- Avoid contact with sharp edges
- Be careful while handling tools that may cause personal injury
- Ensure assembly complies with the generally accepted standards and guidelines of electrical engineering and furniture manufacturing
- Read all instructions and safety advice carefully
CAUTION Risk of minor or moderate injury through tripping
During assembly and operation, poorly routed Cables may become a trip hazard.
Tripping over Cables may lead to minor or moderate injury.
- Ensure that Cables are routed properly to avoid trip hazards
- Be careful not to trip over Cables when installing the Handset
NOTICE
Ensure proper ESD handling during assembly. Damage that can be attributed to electrostatic discharge will void warranty claims.
NOTICE
To avoid damage to the product, measure the dimensions of the Handset before assembly.
NOTICE
Before assembly, all parts must be acclimatized to the ambient conditions.
NOTICE
Do not lift the Handset by its cable. This will cause irreparable damage to the product.
INFO
Perform a product risk assessment so that you can respond to potential residual hazards. Assembly instructions must be included in your end-user Operating Manual.
6.2 REQUIRED COMPONENTS
| 1 x | HSU Handset |
| 3 x | Mounting Screws |
| Tool | Drill or Drilling Machine |
| Tool | Screwdriver |
INFO
Screw specifications
The Mounting Screws are provided by LOGICDATA with the Handset. These are 16 mm in length, with a 3 mm thread and 8 mm head diameter.
6.3 PROCESS
NOTICE
The Handset is equipped with a sliding mechanism. Always mount the Handset in the retracted position.
- Place the Handset into the rails of the sliding plate.
- Position the Handset in the desired position under the table top and mark the position of the Mounting Points. Ensure the Handset is in the retracted position and does not protrude from the edge of the Table Top.
- Drill the holes for the Mounting Screws into the Table Top at the marked points.
- Use the screwdriver and 3 Mounting Screws to attach the Handset to the Table Top at the drilled holes.
6.4 COMPLETING ASSEMBLY
After the HSU is attached to the Table Top, you must connect the Cable to the Control Box. Refer to the manual for your chosen Control Box for instructions.
OPERATION
CAUTION
Risk of minor or moderate injury through uncontrolled movement
The table may not always stop exactly at the expected position. Failure to anticipate the table’s movements may lead to minor or moderate injury through crushing.
- Wait until the system has completely stopped before attempting to use the table
CAUTION
Risk of minor or moderate injury through unsecured objects
While the table moves up and down, unsecured objects may fall off the table and onto body parts. This may lead to minor or moderate injury through crushing.
- Ensure loose objects are kept away from the edge of the table
- Do not leave unnecessary objects on the table during movement
CAUTION
Risk of minor or moderate injury through crushing
Failure to release the Handset Keys correctly may result in the table failing to stop properly. This may lead to minor or moderate injury through crushing.
- Do not slide your finger to a different Handset key while another button is pressed
- Disconnect the system immediately if any Handset Key becomes stuck
This section of the Operating Manual contains a selection of instructions for operating the Table System to which the HSU Handset is connected. HSU Handsets are compatible with a large number of LOGICDATA Control Boxes. Before using the Table System, you must also read the Operating Manual for the installed Control Box, including all relevant safety information, in full.
Handset Keys are represented as follows for further description:
| UP Key | |
| DOWN Key | |
| SAVE Key | |
| 1 | Memory Position Key 1 |
| 2 | Memory Position Key 2 |
| 3 | Memory Position Key 3 |
| 4 | Memory Position Key 4 |
7.1 ADJUSTING THE TABLE TOP HEIGHT
CAUTION Risk of minor or moderate injury through crushing
Your fingers may be crushed when you attempt to change the height of the table
- Keep fingers away from moving parts
- Ensure that no persons or objects are in the table’s range of motion
INFO
The Table Top will move up or down until the UP or DOWN Key is released, or if a pre-defined stopping point has been reached.
To move the Table Top UP:
| Press and hold the UP Key until the desired height has been reached |
To move the Table Top DOWN:
| Press and hold the DOWN Key until the desired height has been reached |
7.2 SAVING A MEMORY POSITION
This function saves a set Table Top position. One Memory Position can be saved per Memory Position Key.
| 1. Move the table to the desired height | |
| ▸ The display shows the Table Top height (e.g. 73 cm) | |
| 2. Press the SAVE Key. | |
| 2 | 3. Press the Memory Position Key (e.g. 2) |
| ▸ The display shows S 2 | |
| ▸ After about two seconds, the Table Top height is displayed again |
7.3 ADJUSTING THE TABLE TO A MEMORY POSITION
Version A (without double-click function):
| 2 | 1. Press and hold the required Memory Position Key (e.g. 2). |
| ▸ The Table Top will move until the saved Table Top height has been reached. If you release the Key before the Memory Position is reached, the table will stop. | |
| 2 | 2. Release the Memory Position Key |
| ▸ The display shows the Table Top height (e.g. 73 cm) |
Version B (Auto-Movement with double-click function):
INFO
The double-click function is available only for Table Systems sold in US markets.
INFO
If you press any Key while the table moves to a Memory Position, the Table Top will stop moving immediately. To continue, you must select the Memory Position again.
CAUTION Risk of minor or moderate injury through unauthorized modifications
The firmware is delivered with a deactivated double-click function. If you activate this function, the grading of the safety functions according to EN ISO 13849-1 PL b, category B, is no longer valid, as the legal requirements in the standard are no longer met.
- If you activate the function, perform a new risk new assessment to meet the higher safety requirements (EN 60335-1). These cannot be met by LOGICDATA Control Boxes.
- LOGICDATA is not liable for injuries or damage caused by activating the double-click function
| 2 | Double-click the required Memory Position Key (e.g. 2) |
| ▸ The table will move to the Memory Position. You do not have to hold the Key | |
| ▸ The display shows the Table Top height (e.g. 73 cm) |
ADDITIONAL INFORMATION
8.1 SOFTWARE-DEPENDENT FUNCTIONS
A full list of Software-Dependent Functions can be found in the Manual of the installed Control Box.
8.2 DISASSEMBLY
To disassemble the HSU, disconnect the Control Box from the mains. Then, follow the assembly instructions in reverse order.
8.3 MAINTENANCE
All HSU Handsets are maintenance-free for their entire service life.
WARNING Risk of death or serious injury through electric shocks and other hazards
Using a Handset alongside unauthorized spare or accessory parts may lead to death or serious injury through electric shocks and other hazards.
- Only use accessory parts produced or approved by LOGICDATA
- Only use replacement parts produced or approved by LOGICDATA
- Only allow Skilled Persons to perform repairs or install accessory parts
- Contact customer services immediately if the system malfunctions
The use of unauthorized spare or accessory parts may cause system damage. Warranty claims are void in this scenario.
8.3.1 CLEANING
- Disconnect the Control Box from the mains.
- Wait 30 seconds for residual voltage to dissipate.
- Wipe the Handset with a dry or slightly damp soft cloth. Never immerse the Handset in liquid.
- Wait for the Handset to dry completely.
- Reconnect the Control Box.
8.3.2 REPLACING A HANDSET
- Disconnect the Control Box from the Mains.
- Disconnect the Handset from the Control Box.
- Remove the Handset from the Table Top.
- Mount the new Handset onto the Table Top.
- Plug the Handset back into the Control Box.
- Reconnect the Control Box to the Mains.
8.4 TROUBLESHOOTING
Usually, malfunctions occur when Handsets are pressed while calibrating. If the Handset fails to function, you will need to restart the system. To do this:
- Unplug the Handset from the Control Box.
- Plug the Handset back into the Control Box.
- After a few seconds, the Handset is ready for operation.
A list of common problems and their solutions can be found in the Manual of the installed Control Box.
8.5 DISPOSAL
The HSU Handset is subject to the WEEE Directive 2012/19/EU.
- Dispose of all components separately from household waste. Use designated collection points or disposal companies authorized for this purpose
MOTION FOR YOUR LIFE
LOGICDATA
Electronic & Software Entwicklungs GmbH
Wirtschaftspark 18
8530 Deutschlandsberg
Austria
Phone: +43 (0)3462 5198 0
Fax: +43 (0)3462 5198 1030
Email: [email protected]
Internet: http://www.logicdata.net
LOGICDATA North America, Inc.
5300 Broadmoor Ave SE, Suite D
Grand Rapids, MI 49512
USA
Phone: +1 (616) 328 8841
Email: [email protected]
www.logicdata.net

















