ZG2258D Wired IP Security Camera
User Manual
What’s in the Box

NOTE: The camera and accessories vary by different models.
Introduce the Camera

NOTE: The actual appearance varies by different models.
Connection Diagram

- Connect the camera to the PoE port of NVR via an Ethernet cable.
- After the device is powered on, the NVR will automatically search and add cameras to display live video.
Install the Camera
- Installation precautions
• Avoid directing the camera towards strong light or reflective objects, including sunlight, lights, glass, mirrors and other areas with strong refraction of light sources.
• Do not install at location with objects covering or obscuring the camera.
• Avoid mounting the camera in places where too dim, and point the camera towards a well-lit area. For better image quality, make sure the camera and the captured subject are at the same lighting conditions.
• For better image quality, it is recommended to clean the lens with a soft cloth from time to time.
• Do not expose the power port to water or moisture, or blocked by dirt or other things.
• Do not install the camera where rain and snow may hit the lens directly.
• Camera may work in extremely cold conditions as low as -10°C because it will produce heat when powered on. You may power the camera indoors for a few minutes before installing it outdoors. (Only for outdoor cameras). - Mount the camera on the wall
NOTE: There are two different types of cameras. Please refer to the actual product and install the camera according to the corresponding instructions.
DOME CAMERA:
① Hold and press on the top of the camera and turn it counterclockwise to get off the mounting plate from the dome camera.
② Drill holes according to the mounting template. Then screw the mounting plate to the wall at the indicated locations.
NOTE: The above applies to wooden walls. It is necessary to insert anchors into the holes for wall made out of other hard materials.
③ Mount the camera to the mounting plate and turn it clockwise to lock the camera. Make sure the camera is locked in place otherwise the camera could be removed when you turn the camera counterclockwise to adjust the angle.
NOTE: Place the cable in cord slot on the camera bracket.
④ Once the camera is installed, you may rotate the camera body and adjust it to a proper angle.
BULLET CAMERA:
① Drill holes according to the mounting template, and insert the anchors into the holes.
② Align the camera bracket with the indicated location, and screw the camera to the wall.
NOTE: Place the cable in cord slot on the camera bracket.
③ Loosen the adjustment knob of the bracket, rotate and adjust the camera to a proper angle.
④ Tighten the adjustment knob of the bracket to lock the camera.
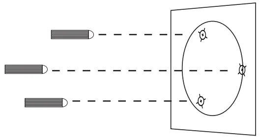
- Installation Distance, Height and Angle
Distance: Best accuracy for objects within 5-50 ft (1.5-15 m).
Angle: Tilt the camera down about 30°-60°from the horizontal position.
Height: Install the camera 8-16 ft (2.5-5m) above the ground.
NOTE: The accuracy of human detection will be affected by various factors, such as the distance between the person and the camera, the height of the person, the height and angle of the camera, etc. The accuracy and distance of detection will also be affected in the night vision environment.
Terms of Use
- Use the camera only with compatible ZOSI NVRs.
- Please read this guide carefully and keep it for future reference.
- Follow all instructions for safe use of the product and handle with care.
- Use the camera within given temperature, humidity, voltage level noted in the specifications.
- Do not disassemble the camera.
- Avoid facing the camera directly to sunlight or strong light sources.
- Use only a regulated power supply (optional). Use of a nonregulated, non-conforming power supply can damage the product and void the warranty.
- Periodic cleaning may be required. Use a damp cloth only. Do not use any harsh chemical cleaners.
- Do not open the case while power is on.
Notification of Compliance
FCC Compliance Statement
This device complies with Part 15 of FCC Rules.
Operation is subject to the following two conditions:
- This device may not cause harmful interference.
- This device must accept any interference received, including inference that. may cause undesired operation.
Simplified EU Declaration of Conformity
ZOSI declares that the device is in compliance with the essential requirements and other relevant provisions if Directive 2014/53/EU.
Correct Disposal of this Product
This marking indicates that this product cannot be disposed with other household wastes throughout the EU. To prevent possible harm to the environment or human health from uncontrolled waste disposal and promote the sustainable reuse of material resources, please recycle it responsibly. To return your used device, please visit the Return and Collection System or contact the retailer from whom the product was purchased. They can take this product away for environmentally safe recycling.
www.zositech.com
[email protected]
Visit zositech.com for the latest information and resources:
Find product guides, how-to videos, troubleshooting and FAQs. Contact us at [email protected]
For more information, please visit www.zositech.com
V2.K.02.Z
F920710Z3006590
② Drill holes according to the mounting template. Then screw the mounting plate to the wall at the indicated locations.
③ Mount the camera to the mounting plate and turn it clockwise to lock the camera. Make sure the camera is locked in place otherwise the camera could be removed when you turn the camera counterclockwise to adjust the angle.
④ Once the camera is installed, you may rotate the camera body and adjust it to a proper angle.
BULLET CAMERA:
② Align the camera bracket with the indicated location, and screw the camera to the wall.
③ Loosen the adjustment knob of the bracket, rotate and adjust the camera to a proper angle.
④ Tighten the adjustment knob of the bracket to lock the camera.
NOTE: The accuracy of human detection will be affected by various factors, such as the distance between the person and the camera, the height of the person, the height and angle of the camera, etc. The accuracy and distance of detection will also be affected in the night vision environment.

















