
34110953
T-Rail ™
PolyComposite Rail and Stair
INSTALLATION INSTRUCTIONS
Read all instructions prior to installing the product.
Refer to manufacturers’ safety instructions when operating any tools.
To register your product, please visit: barretteoutdoorliving.com
WARNING:
- Improper installation of this product can result in personal injury. Always wear safety goggles when cutting, drilling and assembling the product.
- Incorrect installation may cause harm to the product or individual.
- Not pool code approved.
NOTICE: - DO NOT attempt to assemble the kit if parts are missing or damaged.
- DO NOT return the product to the store. For assistance or replacement parts call: 1-877-265-2220.
Components:
| Description |
| Line Brackets & Covers |
| Stair Brackets |
| Angle Brackets & Covers |
| Top Rails |
| Bottom Rails |
| Baluster |
| Support Braces |
| Square Drive Screws |

To obtain and review a copy of the warranty please visit: barretteoutdoorliving.com. You may also contact us at 1-877-265-2220 or email [email protected].
- Cut rails to length
Pre-Built:
a. Place rail panel across opening and adjust to ensure equal baluster spacing on each end
(Fig 1). Mark the rail panel at the post face at all four locations shown in the figure.
b. Measure 1 ⁄8″ from those marks towards the center of the rail panel (to allow for bracket clearance). Cut the panel at this location on all four ends.
NOTE: If you are cutting more than 1 baluster off of either end it may be useful to use a nylon strap or rope around the top and bottom rails to hold the section together.
Boxed Panels:
c. Place bottom rail across post opening leaving equivalent spacing from the last baluster and post on each end (Fig 2). d. Mark 1 ⁄8″ from end of post to allow room for
brackets (Fig 3).
e. Align top rail with bottom rail and cut both rails with miter box, hacksaw or chop saw(a carbide tip blade with 60 teeth or more is recommended) (Fig 4).
f. Assemble your rail section by inserting balusters/spindles into rails (Fig 5). Lock tabs on balusters/spindles must face the outer edge of the routed holes in rails.
NOTE:
Each kit comes with 2 tabbed balusters. Space them evenly into the section. - a. One support base is included with 6′ railing kits. Measure the equal distance from both ends of the railing and install a support base in the center of the bottom rail.
b. Two support bases are included with 8′ railing kits. Measure the length of rail, divide by 3 and measure that distance from your rail to the center of your first support base and install the support base. Repeat that step from the opposite side of your rail. - Cut two 3″ temporary wood spacer blocks (not included) to insert under ends of railing sections to temporarily assist in aligning railing section (Fig 6).

- Screw in top rail metal brackets to the underside of each end of rail, with #10 x 1″ square drive screw (sold separately) in the middle slot of bracket (Fig 7).
NOTE: Do not tighten at this time (allows for adjustment).
- Slide the bottom rail bracket onto a bottom rail on each end (Fig 8).
- Slide rail section in-between posts and on top of temporary spacer blocks (position spacer blocks next to installed vinyl posts) (Fig 9).
- For Top Brackets:
a. Center rail on post. Then, using a 1 ⁄8″ drill bit, pre-drill the first hole through the top rail bracket, vinyl post jacket, and into wood post (or plastic spacer of post-install kit) (Fig 10).
b. Install the #10 x 2 ½”square drive screws (Fig 11).
c. Looking down from above, check to ensure screws penetrate the wood post (or plastic spacer of post-install kit) (Fig 12).
- For Top Brackets Covers:
a. Ensure the railing is centered between both posts and tighten the set screws put into the metal brackets from Step 4.
b. Using a 1 ⁄8″ drill bit, predrill the top rail in the two locations on the metal bracket. Install #10 x1″ screws in pre-drilled holes of each of the metal brackets (Fig 13).
c. Open the top rail bracket cover to allow it to wrap around the top rail (Fig 14). While open, make sure the “tab” fits behind the rail and against the post.
d. While tightly squeezing the bracket cover closed, pre-drill using a 1 ⁄8″ drill bit through the two holes underneath. Then, drive two #10 x 1″ square drive screws through the cover, metal bracket, and into the top rail (Fig 15).
- For Bottom Brackets:
a. Center rail on post. Then, using a 1 ⁄8″ drill bit, pre-drill the first hole though the bottom rail bracket, vinyl post jacket, and into wood post (or plastic spacer of post-install kit).
b. Install the #10 x 1 ¼” square drive screws (Fig 16).
c. Repeat this process for the other 3 screws.
Bottom Bracket Covers:
d. Snap bottom bracket covers snugly onto bottom brackets (Fig 17).
STAIR RAILING
- a. Assemble your rail section by inserting balusters/spindles into rails (Fig 1). Lock tabs on balusters/spindles must face the outer edge of the routed holes in rails.
NOTE: Each kit comes with 2 tabbed balusters. Space them evenly into the section. b. Temporarily place a deck board ( 5 ⁄4″) to your stair treads to determine the spacing between the nose of the stairs and your bottom rail (Fig 2).
c. Place assembled stair rail section adjacent to the mounted stair posts (Fig 3). Measure the distance from the first and last baluster to the top and bottom posts making sure the distance is equal on both sides of stair rail section (Fig 4). Clamp into place (Fig 5).
NOTE: Some installations may require longer stair posts.

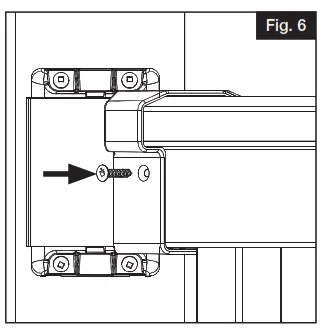
- Trace the post onto each rail (both ends of top and bottom rails). Make four marks in total (Fig 6).

- Remove clamped stair kit from posts. Cut along all four angled marks on rails (Fig 7).

- Slide the angle brackets onto the rails (Fig 8), and place rail section between your posts (Fig 9).
- For Bottom Rail Brackets:
Center your bracket on the post. Using the holes in the bracket as a guide, pre-drill one of the holes with an 1 ⁄8″ drill bit (Fig 10). Drive one of the #10 x 1¼” self-tapping square drive screws into the bracket (Fig 11). Pre-drill the remaining 3 holes and drive the 1¼” screws into the remaining 3 holes being careful not to overtighten. Repeat this at the top and bottom of the stairs.
- For Top Rail Brackets:
a. Center your bracket on the post. Using the holes in the bracket as a guide, pre-drill one of the lower holes with a 1 ⁄8″ drill bit (Fig 12).
Drive one of the #10 x 2″ screws through this hole. Pre-drill the other lower hole and drive another 2″ screw into it. Now pre-drill the upper 2 holes in the bracket (Fig 13). Drive two more 2″ screws into those holes. Be careful not to overtighten.
b. Pre-drill one side (outside of the stair rail installation) of the top rail bracket with 1 ⁄8″ drill bit. Hole should be oriented as shown (Fig 14).
Drive #10 x 1″ pan head square drive screw through bracket and rail.
NOTE: Do NOT overtighten.
ANGLED RAIL INSTALLATION
- Adjustable Swivel Brackets
After posts have been installed, determine the angle of the railing (Fig 1).
- Pre-drill 1 ⁄8″ diameter holes in base, then fasten the bracket at the determined angle (Fig 2).
- Cut railing to desired length. Place bracket on each end of top and bottom rails (Fig 3).

- Mark four screw hole locations on each bracket. Set rail section aside, then pre-drill 1 ⁄8″ diameter holes in posts at each mark (Fig 4).

- Attach each top rail bracket with four #10 x 2″ screws (Fig 5). Attach each bottom rail bracket with four #10 x 11 ⁄2″ screws.

- Pre-drill one 1 ⁄8″ diameter hole through top rail and aluminum insert for each side of top rail brackets only. Fasten with #10 x 1″ flat head screws (Fig 6).
- Add two screw covers for both top and bottom brackets and add two screw caps for each top rail bracket (Fig 7).

- Repeat installation process for each additional rail assembly (Fig 8).


Barrette Outdoor Living
7830 Freeway Circle, Middleburg Heights, OH. 44130
barretteoutdoorliving.com • (877) 265-2220
REV 11.21
c. Place bottom rail across post opening leaving equivalent spacing from the last baluster and post on each end (Fig 2). d. Mark 1 ⁄8″ from end of post to allow room for
e. Align top rail with bottom rail and cut both rails with miter box, hacksaw or chop saw(a carbide tip blade with 60 teeth or more is recommended) (Fig 4).

b. Install the #10 x 2 ½”square drive screws (Fig 11).
a. Ensure the railing is centered between both posts and tighten the set screws put into the metal brackets from Step 4.

c. Place assembled stair rail section adjacent to the mounted stair posts (Fig 3). Measure the distance from the first and last baluster to the top and bottom posts making sure the distance is equal on both sides of stair rail section (Fig 4). Clamp into place (Fig 5).































