IKEA 502.513.88 Vikare Guard Rail
Istallation Instruction
IMPORTANT! READ CAREFULLY AND RETAIN IT FOR FUTURE REFERENCE!
Important!
Children can become trapped between the bed and the wall. To avoid risk of serious injury the distance between the bed and the wall must always be less than 65 mm or more than 230 mm.
Important-read carefully-save for future reference The guard rail fits all bedsides that are 18-25 mm (3/4″-1″) thick. It is intended for use on beds where the top of the side rail when fixed on the bed is not more than 600 mm (23 5/8″) above floor level.
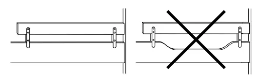
To avoid creating a dangerous gap where children can become trapped, the guard rail must only be used on beds with a straight side rail. The gap between the bottom edge of the guard rail and the top edge of the side rail must not be more than 69 mm (2 3/4″).
To eliminate the risk of entrapment always fit the guard rail so that it is touching the bed head. The distance between the other end of the guard rail and the foot of the bed must not be less than 230 mm (9″).
© Inter IKEA Systems B.V. 2021


















