schuller 218047 Vito Ceiling Fan
INSTALLATION GUIDE
You may use the following QR code to view the complete technical data sheet of the product:
If you have any technical questions, please do not hesitate to contact our technical Department. We are at your disposal in our email: [email protected]
LIST OF INCLUDED COMPONENTS. 
Carefully open the packaging. take out the parts and place it on a carpet or on some NSoft surface to avoid damaging the finish.
Note: Check the parts inventory to ensure that all parts have been included before commencing i nstallation.
SAFETY RECOMMENDATIONS.
- Please read this manual carefully before commencing installation and keep the instructions safe.
- To avoid possible electrical shock, before installing your fan, turn off the circuit breakers and wall switch to the fan supply line leads. All wiring must be in accordance with national and local electrical standards.
- To reduce the risk of personal injury, do not bend or change the position of the blades. Never insert foreign objects between the rotating fan blades.
- To reduce the risk of a fire, electric shock, or motor damage, do not use wall speed regulators with this fan. Only use the speed regulator on the remote control.
- NOTE: The safety instructions and precautions included in the manual are not intended to cover all possible circumstances or situations. It must be understood that common sense and caution are essential factors in the installation and operation of this fan.
INSTALLATION PREPARATION.
To avoid personal injury and damage, ensure that the hanging position allows for at least 2.1 meters between the floor and the blades and that there is at least 76cm of horizontal distance between the fan and any wall or other obstruction.(Fig.1)
Make sure the ceiling can support the weight of the fan.
THE FAN BODY ASSEMBLY.
- Remove the “fixed screws” and keep it, then loosen the screws at the keyhole by the screwdriver(Fig.2)
- Hold on the ceiling plate by the hand and rotate the fan body, then remove the ceiling plate (Fig.3)

INSTALL THE MOUNTING PLATE.
- Installation on a wooden or plaster ceiling ( Fig.4)
- Installation on a concrete ceiling (Fig. 5)

- C- Connect the live wire(AC IN) to the terminal block “L”, Neutral wire(AC IN) to “N”, also connect the earth wire to the corresponding position (Fig.6) .

WIRING CONNECTION.
- Fasten the Safety wire to the hook of the ceiling mounting plate.(Fig.7)

- Plug the output wires from mounting plate into input wires from controller.(Fig.8)
- Plug the motor wires from fan body into the motor wires from controller.(Fig.8)
- Plug the light kit wires from fan body into the light kits wires from controller.(Fig.8)

NSTALL THE FAN BODY.
- Correspond to the screw holes between the fan body and mounting plate, and fixed the screws (Fig.9)
- Rotate the fan body to fasten it to the mounting plate, and fixed the screws well (Fig.10}
- Locking screws of other two sides (Fig.11).

INSTALL THE FAN BLADE.
- Take off the screws from round plate and keep it.(Fig.12)
- Install the fan blades (total 3 pieces) to the round plate by screws. Tighten the screws properly.(Fig.13)

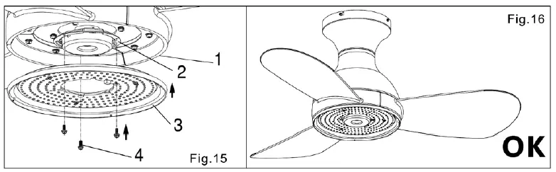
INSTALL THE LIGHT KIT.
- Take off the screws from round plate and keep it.
- Plug the Output wires from driver into the connectors on LED board.(Fig.14)

- Install the lamp plate to the lamp plate base by screws.(Fig.15)
- Tighten the screws properly. (Fig.16)

INSTALL THE LAMP SHADE.
Fit the lamp diffuser (shade) by aligning the grooves on the shade with the supports on the metal ring and rotate it by clockwise.(Fig.17,Fig.18)
Remote control user manual 

- lndicador pulsado Switch Indicator
- Control velocidad Speed controller
- Apagado ventilador Fan shutdown
- Inversion giro aspas Fan reverse
- Velocidad cambiante Natural wind
- LUZ: ON/ OFF/ cambio CCT (3000K/4000K/6000K)
- LAMP SWITCH: ON/OFF/CCT
- changing (3000K/4000K/6000K)
- Temporizador Timer
- Pila mando (AAA 1,5V) Battery for Switch (AAA 1,5V)
Learning method of remote control:
Power on the receiver, press the (j) key at the emitter at once. The learning is succeed, when hear double beep ringing from the loudspeaker RF wireless digital transmission technology is adopted to realize the one-to-one control providing a rate of coincident
NOTICES
- When the emitter is unable to remotely control the receiver, Please check whether the switch batteries are in good contact, whether they are fixed properly and whether they run out of use.
- When the emitter is unable to remotely control the receiver, please check whether there is other remote control products around the space and check whether the keys are pressed down, because same nature of remote control product may cause interference with each other resulting in poor receiving effect. Taking away such articles will normalize the remote control function. (the infrared remote controller is not included).
- Too low voltage in battery will lead to failure of the remote controller to work (Please refer to the product label for the voltage range and related parameters).
- Please take out the batteries if you will not use this product for a long time.
OPERATING NOTES
- The first 24 hours after installation, it is normal to notice a slight noise during fan operation. After this adjustment period, the rumor will disappear
- The light of the fan turned off through the remote control remains in stand-by mode. It will be completely off if power is cut off through the wall switch.


























